GM Service Manual Online
For 1990-2009 cars only
Makes
🢒
Buick
🢒
2005
🢒
Park Avenue
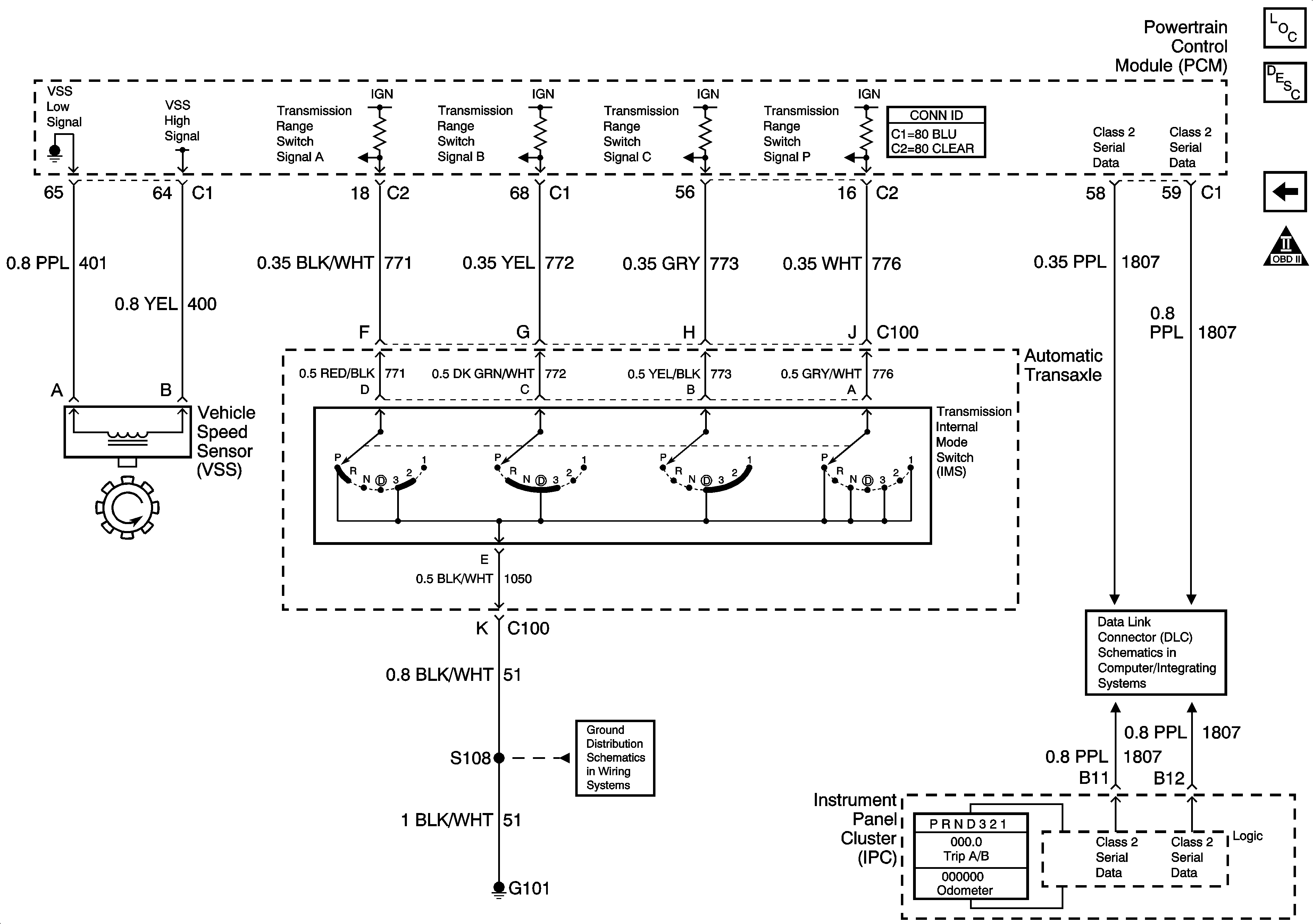
🢒 VSS and IMS
VSS and IMS
VSS and IMS
Master Electrical Component List
Transmission Component and System Description
Solenoids and TCC/Cruise Release Switch
OBD II Symbol Description Notice
Class 2 Serial Data Lines
G100, G101, G102, and G103