GM Service Manual Online
For 1990-2009 cars only
Makes
🢒
Buick
🢒
2005
🢒
Park Avenue
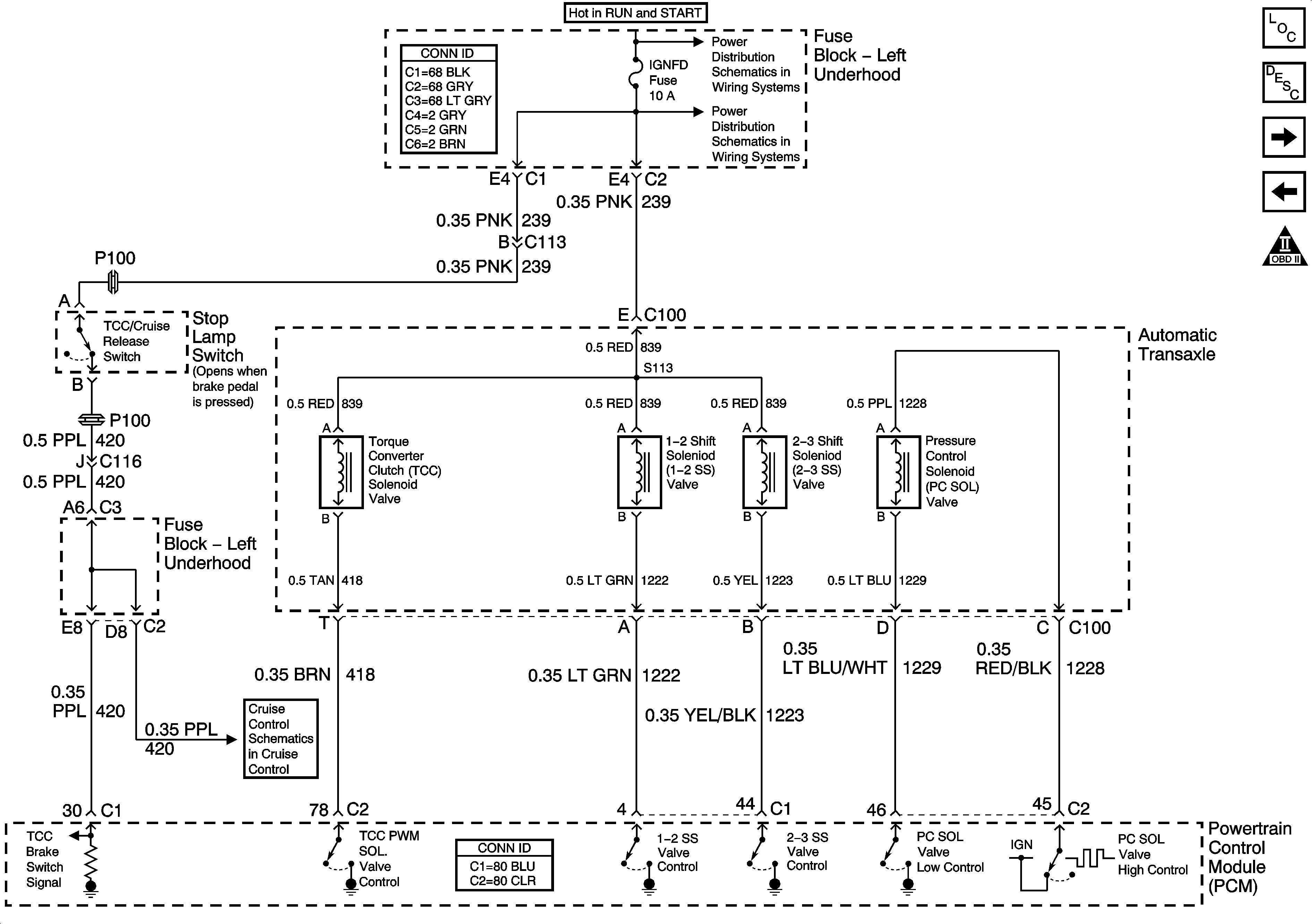
🢒 Solenoids and TCC/Cruise Release Switch
Solenoids and TCC/Cruise Release Switch
Solenoids and TCC/Cruise Release Switch
Master Electrical Component List
Transmission Component and System Description
VSS and IMS
Sensors
OBD II Symbol Description Notice
Battery Feed to Left and Right Underhood Fuse Blocks
Battery Feed to Left and Right Underhood Fuse Blocks
Brake Pedal Switches and Indicator