GM Service Manual Online
For 1990-2009 cars only
Makes
🢒
Buick
🢒
1998
🢒
Regal
🢒 Cell 10: Underhood Accessory Wiring Junction Block, Ignition Switch, And Fuse Block
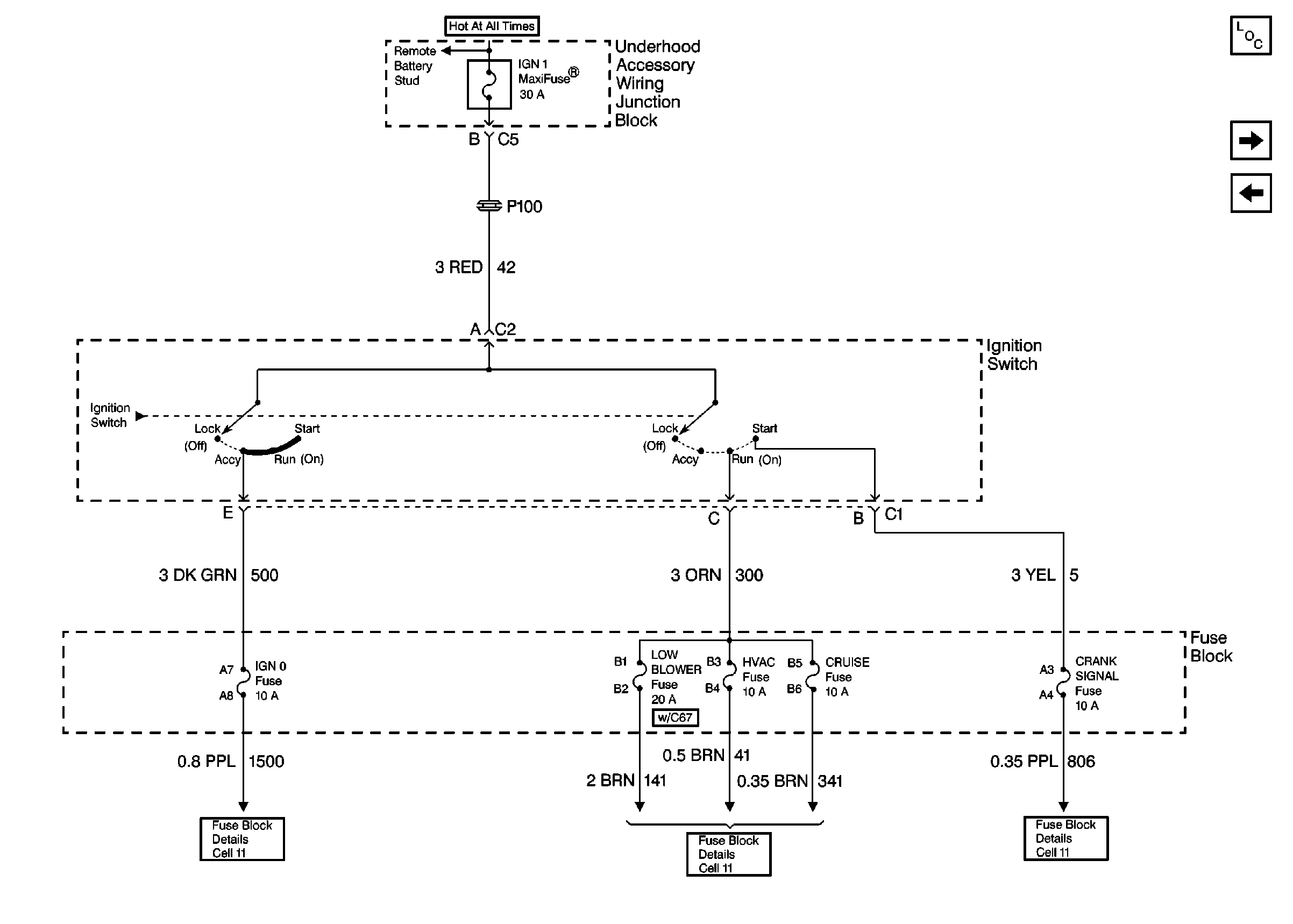
Cell 10: Underhood Accessory Wiring Junction Block, Ignition Switch, And Fuse Block
Cell 10: Underhood Accessory Wiring Junction Block, Ignition Switch, And Fuse Block
Power and Grounding Components
Cell 10: Underhood Accessory Wiring Junction Block
Cell 10: Underhood Accessory Wiring Junction Block, Ignition Switch, And Fuse Block
Cell 10: ABS, HEATED MIRROR, CRANK SIGNAL, And IGN 0 Fuses
Cell 10: LOW BLOWER, CRUISE, And HVAC Fuses
Cell 10: ABS, HEATED MIRROR, CRANK SIGNAL, And IGN 0 Fuses