GM Service Manual Online
For 1990-2009 cars only
Figure 1:

Cell 150: Radio Power and Ground (w/UPO)


Object Number: 483250  Size: FS
Power Distribution Schematics
Power Distribution Schematics
Power Distribution Schematics
Power Antenna Schematics
Handling ESD Sensitive Parts Notice
Entertainment Component Views
Cell 150: Speakers and Radio Inputs (w/ UPO)
Ground Distribution Schematics
Ground Distribution Schematics
Figure 2:

Cell 150: Speakers and Radio Inputs (w/ UPO)


Object Number: 483252  Size: FS
Interior Lights Dimming Schematics Buick
Steering Wheel Controls Schematics
Headlights Schematics Buick
Handling ESD Sensitive Parts Notice
HVAC Air Delivery/Temperature Control Schematics Buick
Entertainment Component Views
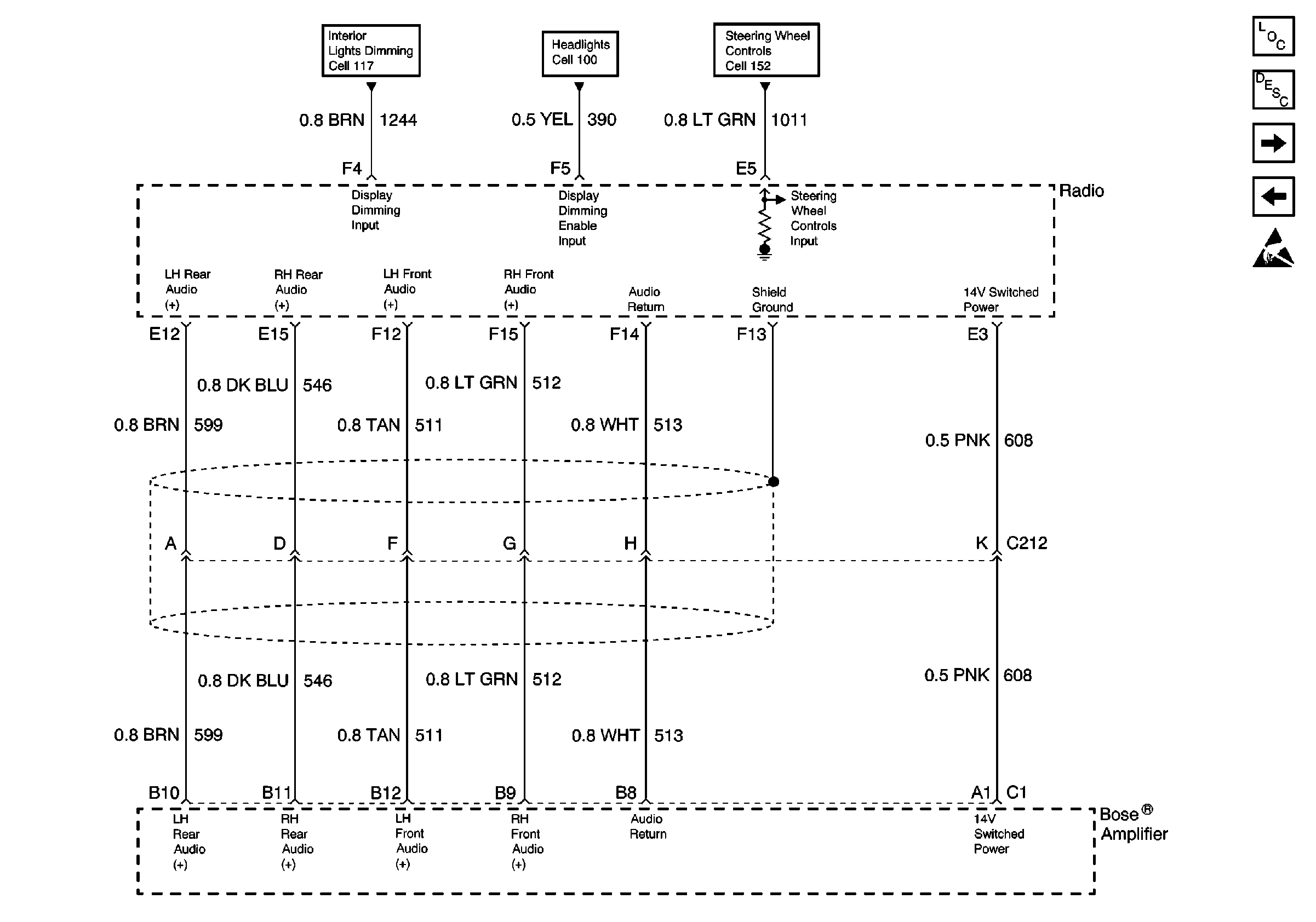
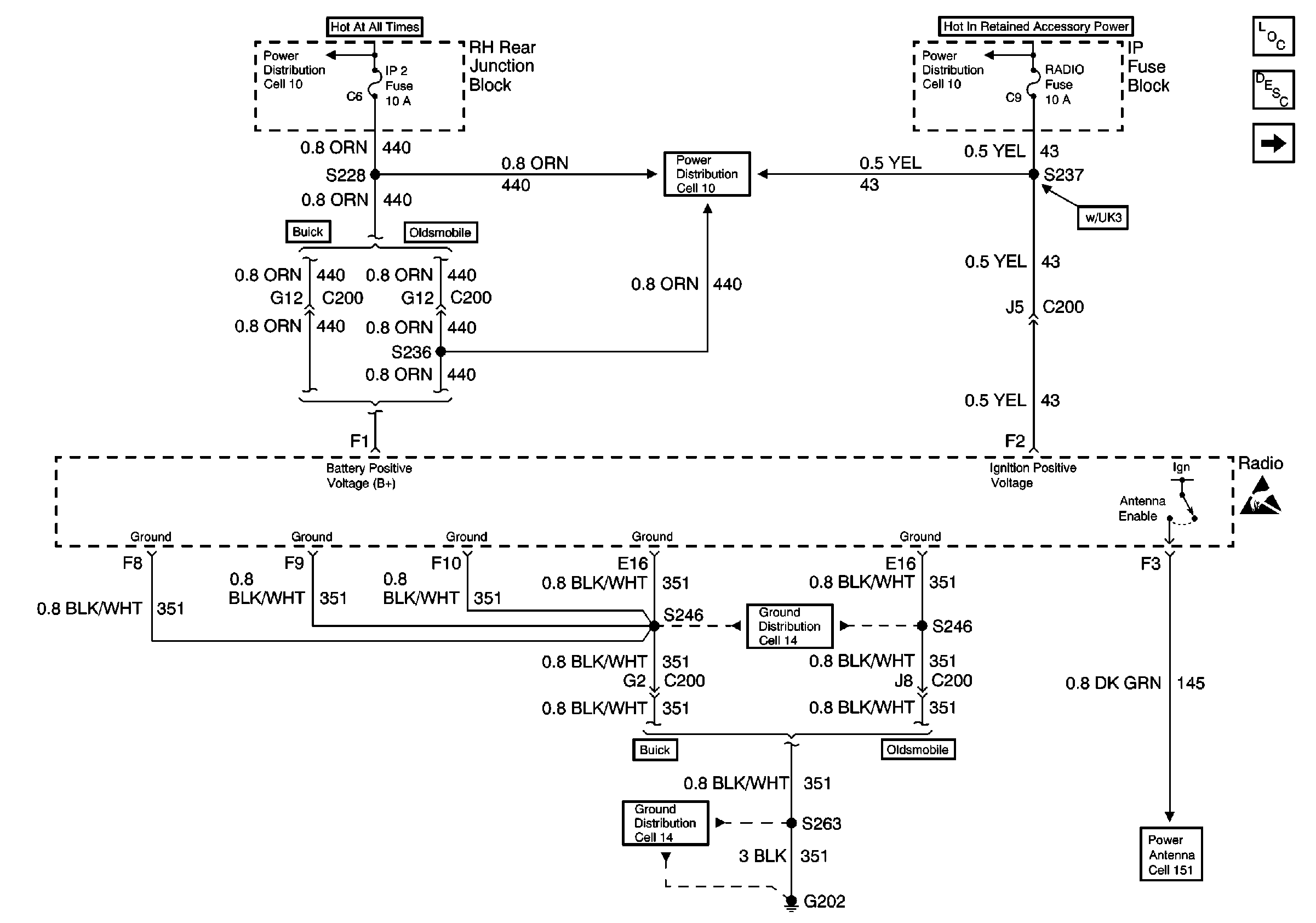
Cell 150: Radio and Amplifier Power and Ground (w/UF1)
Cell 150: Radio Power and Ground (w/UPO)
Data Link Connector Schematics
Figure 3:

Cell 150: Radio and Amplifier Power and Ground (w/UF1)


Object Number: 483253  Size: FS
Power Distribution Schematics
Power Distribution Schematics
Ground Distribution Schematics
Handling ESD Sensitive Parts Notice
Power Distribution Schematics
Power Distribution Schematics
Power Distribution Schematics
Cell 150: Speakers and Radio Inputs (w/ UPO)
Cell 150: Radio and Amplifier Inputs (w/UF1)
Entertainment Component Views
Data Link Connector Schematics
Power Antenna Schematics
Figure 4:

Cell 150: Radio and Amplifier Inputs (w/UF1)


Object Number: 483254  Size: FS
Interior Lights Dimming Schematics Buick
Handling ESD Sensitive Parts Notice
Headlights Schematics Buick
Steering Wheel Controls Schematics
Entertainment Component Views
Cell 150: Speakers (w/UF1)
Cell 150: Radio and Amplifier Power and Ground (w/UF1)
Figure 5:

Cell 150: Speakers (w/UF1)


Object Number: 512523  Size: FS
Entertainment Component Views
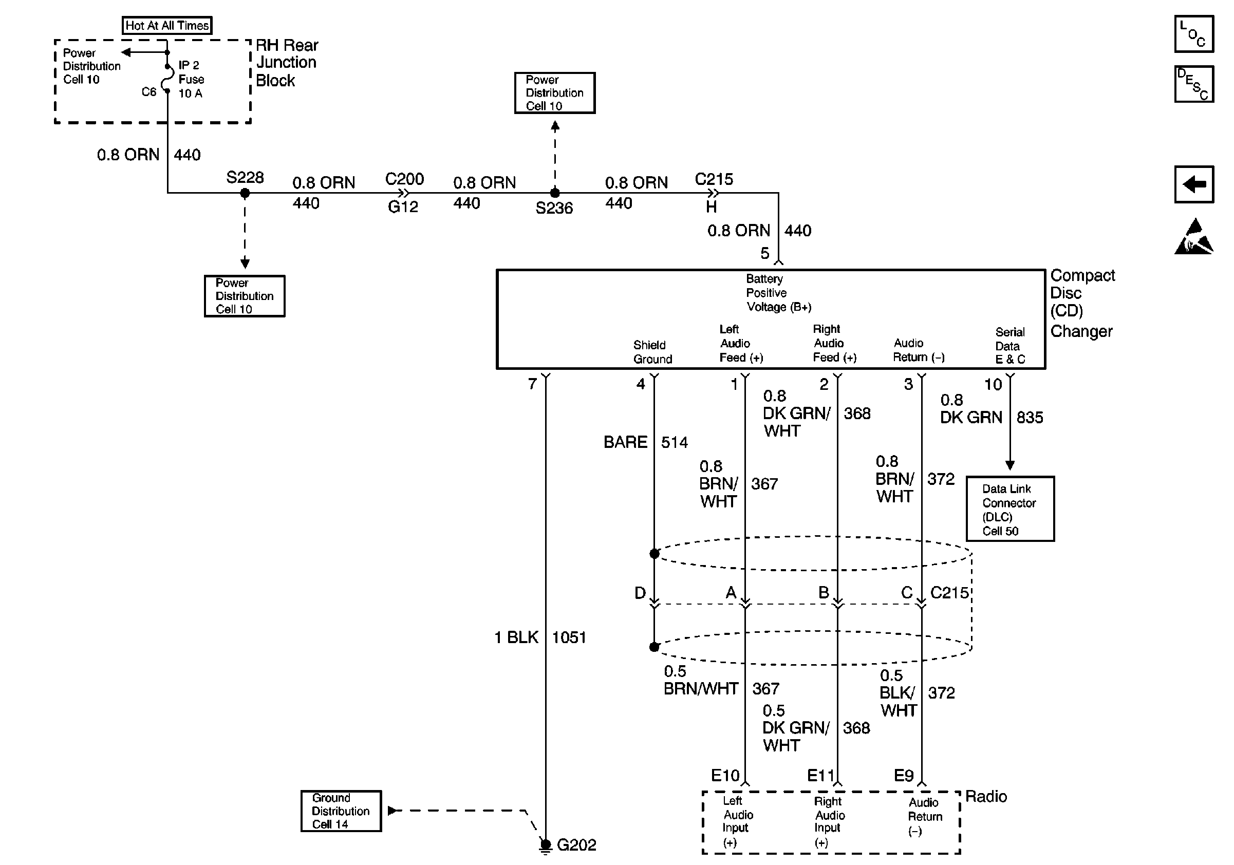
Cell 150: Compact Disc (CD) Player (w/U1S)
Cell 150: Radio and Amplifier Inputs (w/UF1)
Handling ESD Sensitive Parts Notice
Figure 6:

Cell 150: Compact Disc (CD) Player (w/U1S)


Object Number: 483258  Size: FS
Power Distribution Schematics
Power Distribution Schematics
Ground Distribution Schematics
Data Link Connector Schematics
Handling ESD Sensitive Parts Notice
Power Distribution Schematics
Cell 150: Speakers (w/UF1)
Entertainment Component Views
Cell 152