GM Service Manual Online
For 1990-2009 cars only
Figure 1:

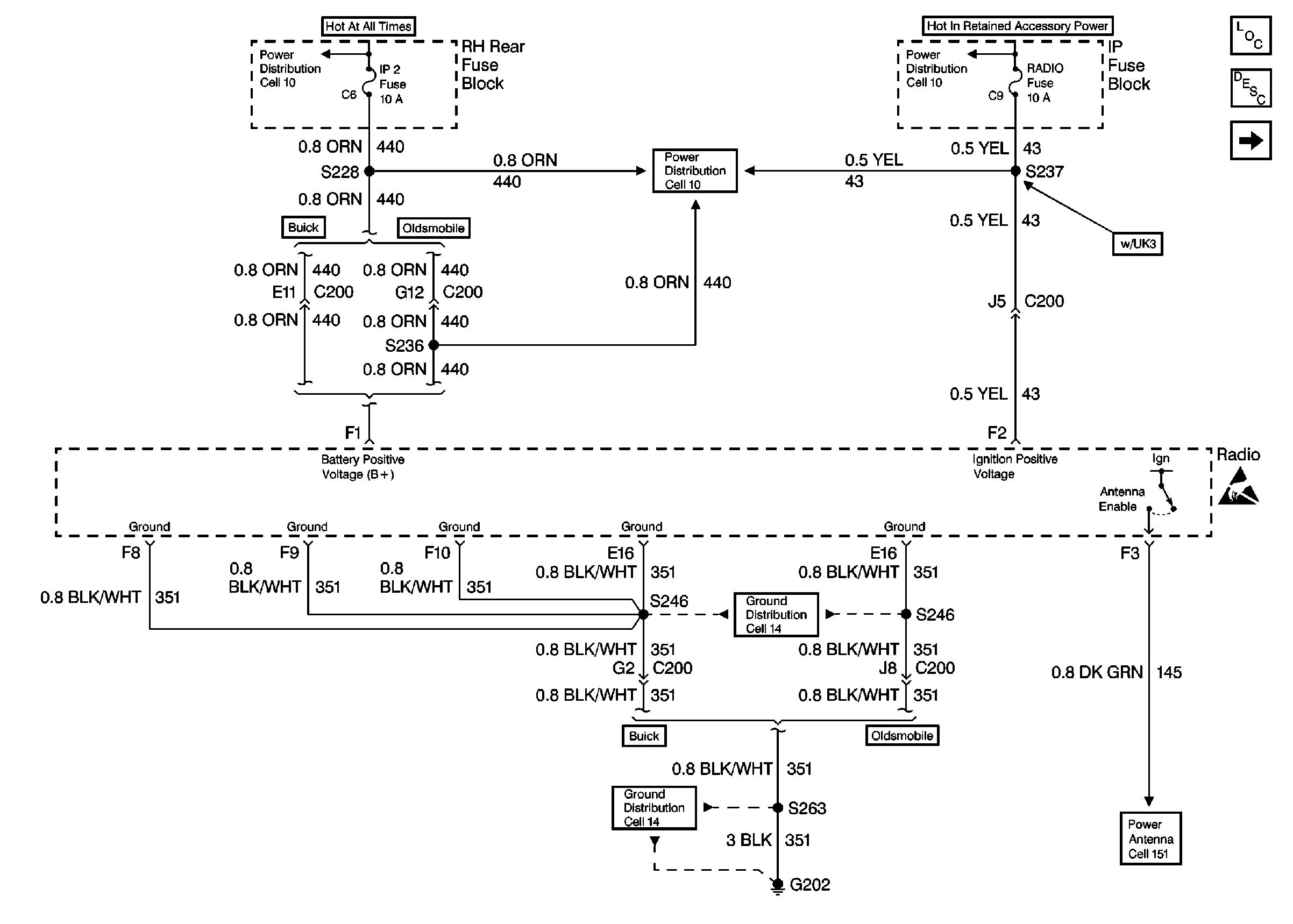
Cell 150: Radio Power and Ground (w/UP0)


Object Number: 341825  Size: FS
Entertainment Component Views
Radio/Audio System Operation
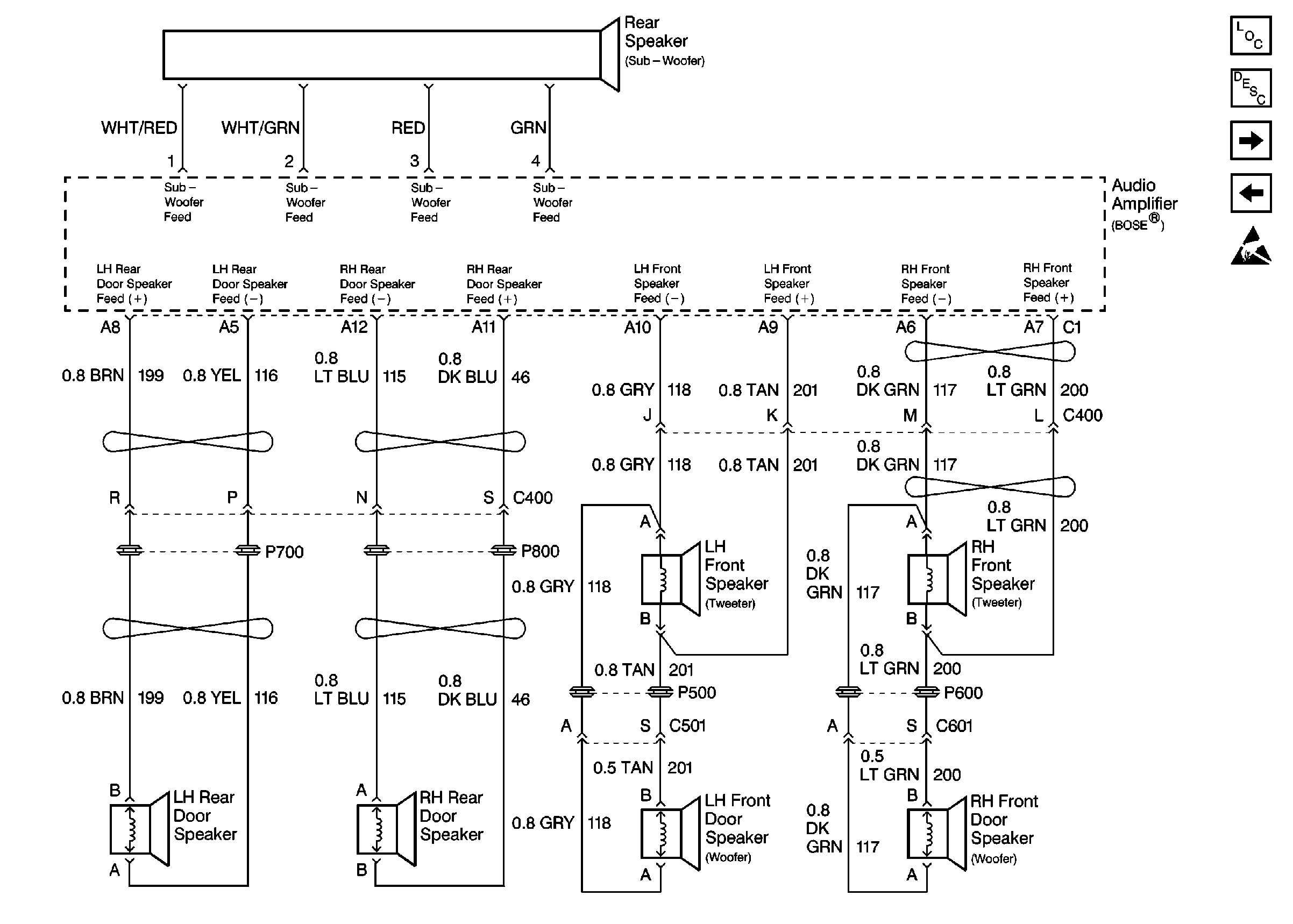
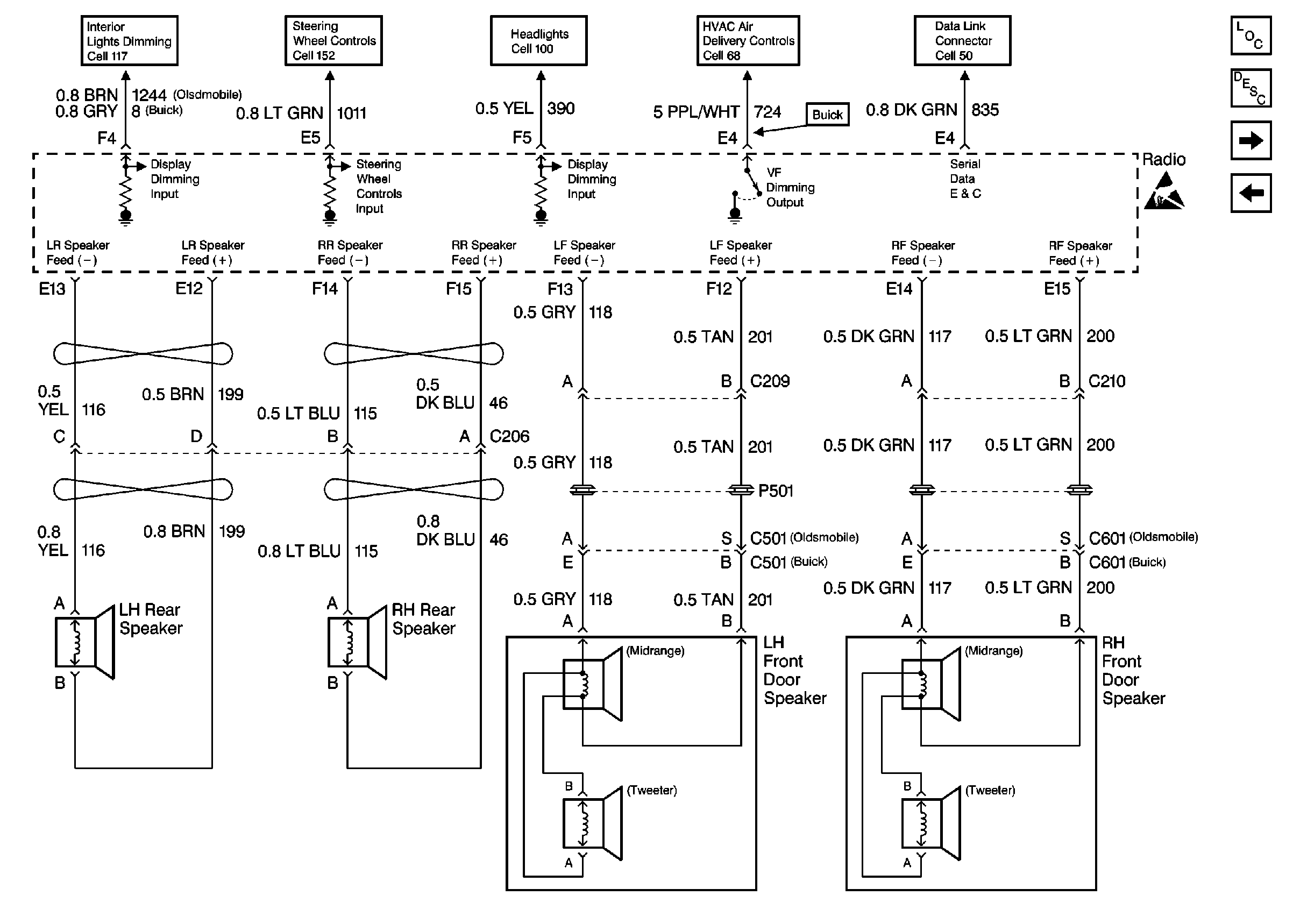
Cell 150: Radio Speakers and Inputs (w/UPO)
Cell 10: IP 2 Fuse and HTD ST Fuse
Cell 10: RADIO Fuse and CRANK Fuse
Power Distribution Schematics
Cell 14: G202 (Buick 1 of 3)
Cell 14: G202 (Buick 1 of 3)
Cell 150: Radio Speakers and Inputs (w/UPO)
Handling ESD Sensitive Parts Notice
Figure 2:

Cell 150: Radio Speakers and Inputs (w/UPO)


Object Number: 341827  Size: FS
Entertainment Component Views
Radio/Audio System Operation
Cell 150: Radio and Audio Amplifier Power and Ground (w/UF1)
Cell 150: Radio Power and Ground (w/UP0)
Interior Lights Dimming Schematics Buick
Interior Lights Dimming Schematics Oldsmobile
Cell 152
Headlights Schematics Buick
Headlights Schematics Oldsmobile
HVAC Air Delivery/Temperature Control Schematics Buick
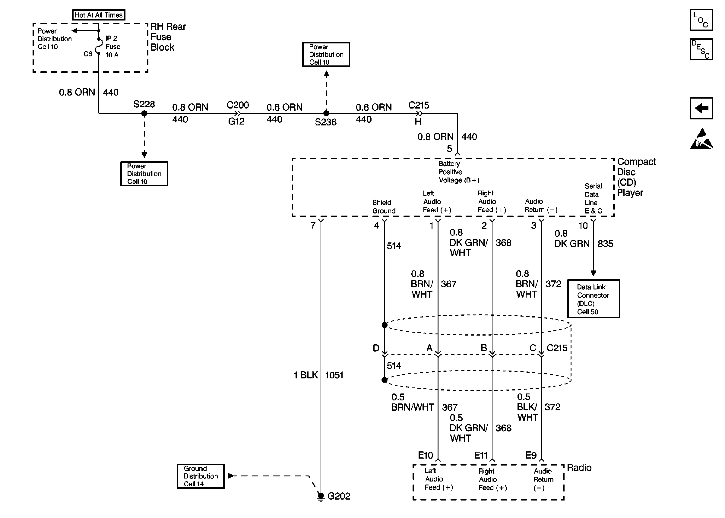
Cell 50: Serial Data Line E & C
Handling ESD Sensitive Parts Notice
Figure 3:

Cell 150: Radio and Audio Amplifier Power and Ground (w/UF1)


Object Number: 341830  Size: FS
Entertainment Component Views
Radio/Audio System Operation
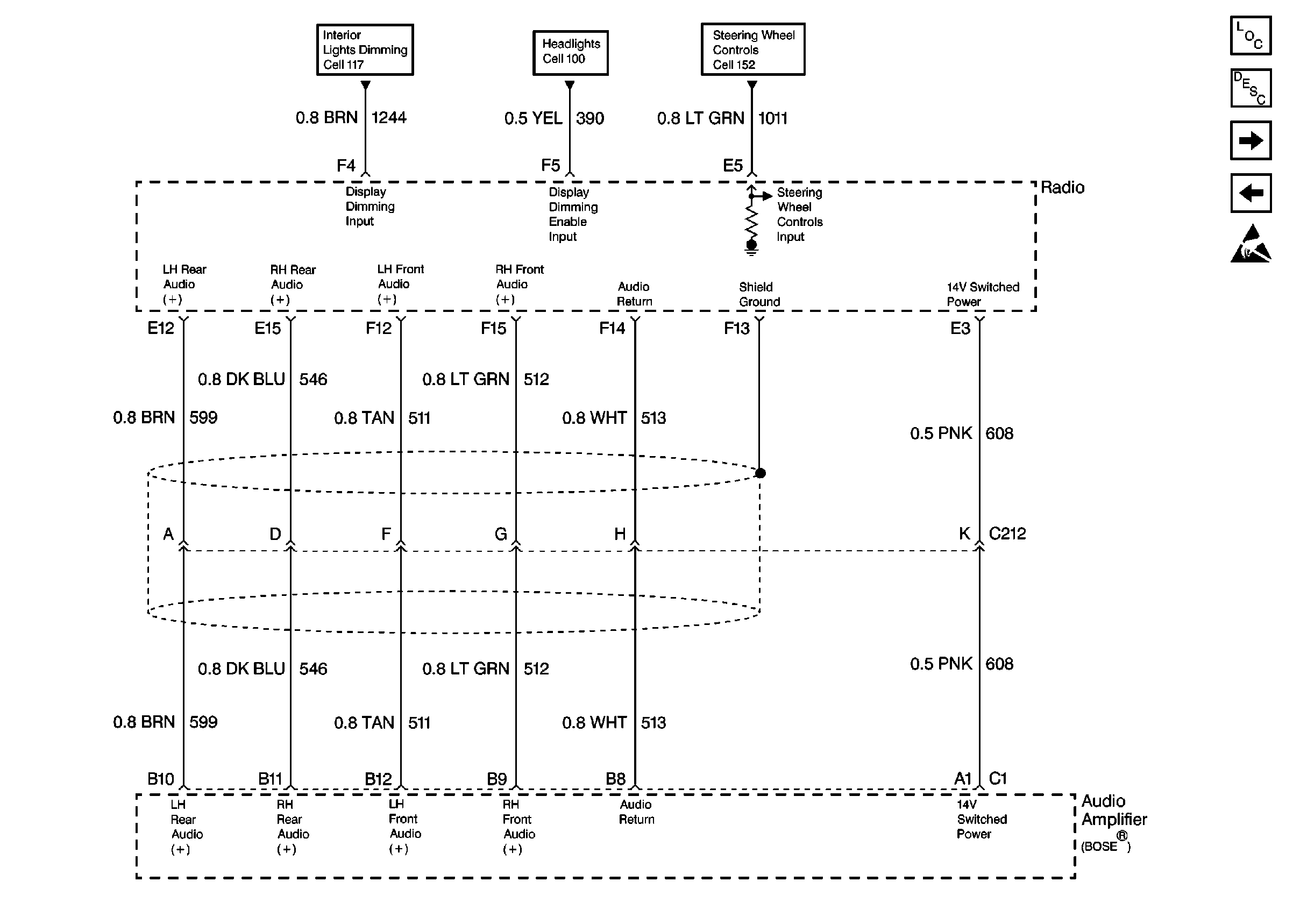
Cell 150: Radio and Audio Amplifire Inputs (w/UF1)
Cell 150: Radio Speakers and Inputs (w/UPO)
Handling ESD Sensitive Parts Notice
Cell 10: IP 2 Fuse and HTD ST Fuse
Cell 10: IP 2 Fuse and HTD ST Fuse
Cell 10: IP 2 Fuse and HTD ST Fuse
Cell 10: RADIO Fuse and CRANK Fuse
Cell 14: G202 (Buick 1 of 3)
Cell 50: Serial Data Line E & C
Figure 4:

Cell 150: Radio and Audio Amplifire Inputs (w/UF1)


Object Number: 341832  Size: FS
Entertainment Component Views
Radio/Audio System Operation
Cell 150: Speakers (w/UF1)
Cell 150: Radio and Audio Amplifier Power and Ground (w/UF1)
Handling ESD Sensitive Parts Notice
Interior Lights Dimming Schematics Buick
Interior Lights Dimming Schematics Oldsmobile
Headlights Schematics Buick
Headlights Schematics Oldsmobile
Cell 152
Figure 5:

Cell 150: Speakers (w/UF1)


Object Number: 512523  Size: FS
Entertainment Component Views
Radio/Audio System Operation
Cell 150: Remote Compact Disc Player (w/US1)
Cell 150: Radio and Audio Amplifire Inputs (w/UF1)
Handling ESD Sensitive Parts Notice
Figure 6:

Cell 150: Remote Compact Disc Player (w/US1)


Object Number: 341833  Size: FS
Entertainment Component Views
Radio/Audio System Operation
Cell 150: Speakers (w/UF1)
Handling ESD Sensitive Parts Notice
Cell 10: IP 2 Fuse and HTD ST Fuse
Cell 10: IP 2 Fuse and HTD ST Fuse
Cell 10: IP 2 Fuse and HTD ST Fuse
Cell 14: G202 (Buick 1 of 3)
Cell 50: Serial Data Line E & C