GM Service Manual Online
For 1990-2009 cars only
Makes
🢒
Buick
🢒
1999
🢒
Riviera
🢒 Cell 148
Cell 148
Cell 148
Stationary Windows Components
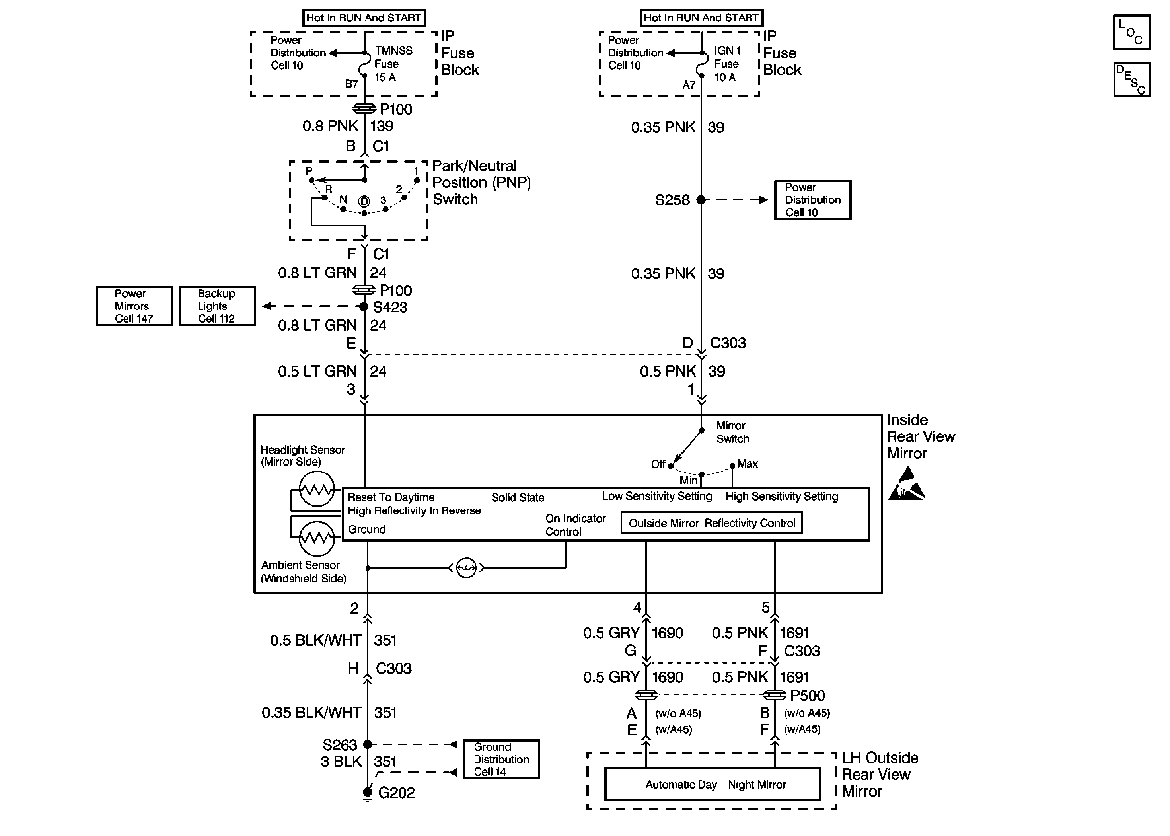
Automatic Day-Night Mirrors Circuit Description
Power Distribution Schematics
Power Distribution Schematics
Power Distribution Schematics
Ground Distribution Schematics
Cell 112
Outside Rearview Mirror Schematics
Handling ESD Sensitive Parts Notice