GM Service Manual Online
For 1990-2009 cars only
Makes
🢒
Cadillac
🢒
1998
🢒
Catera
🢒
Body and Accessories
🢒
Lighting Systems
🢒 Fog Lights Schematics
Figure
1:
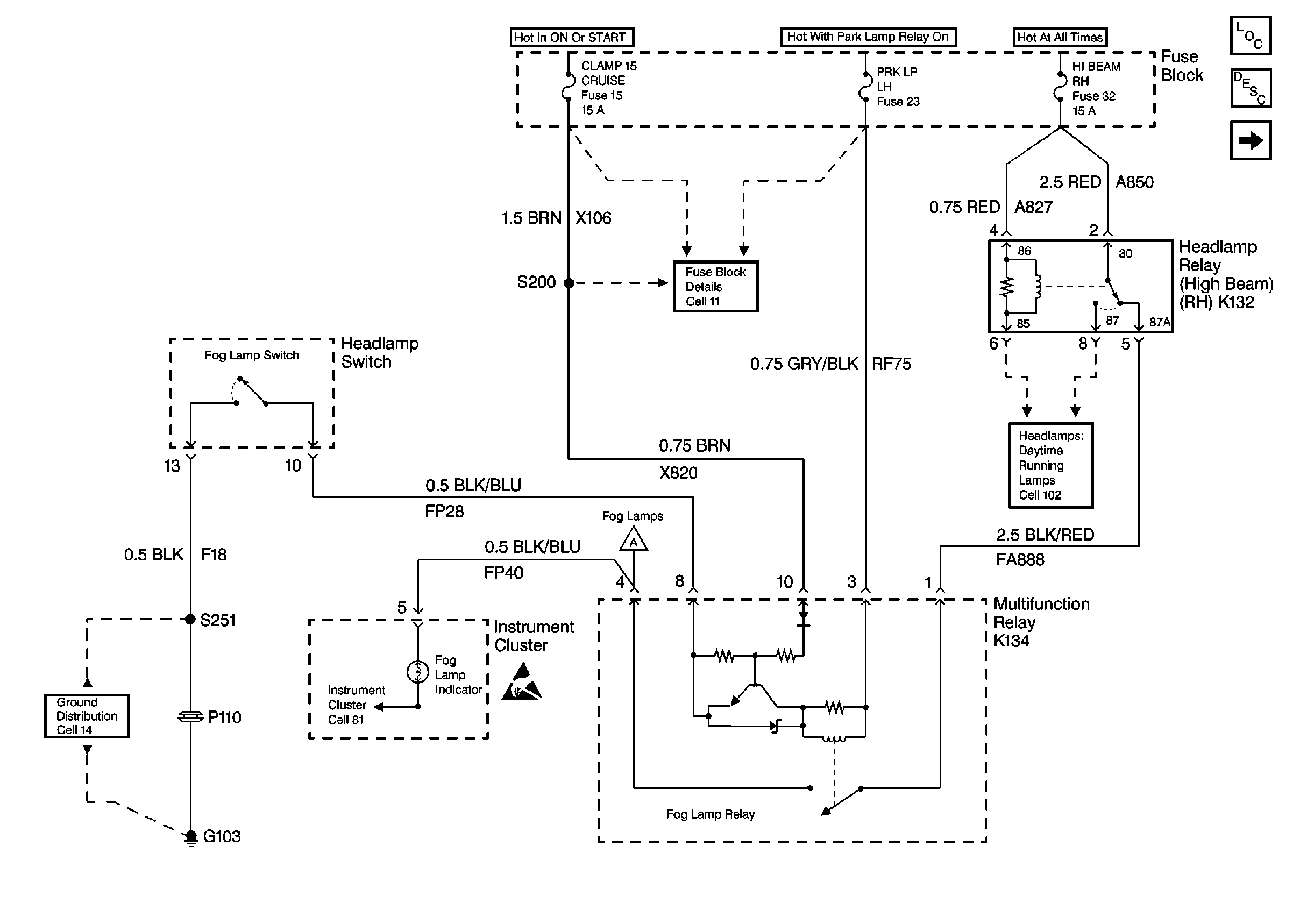
Cell 103 Fog Lamp Switch and Multifunction Relay K134
Lighting Systems Components
Fog Lights Circuit Description
Cell 103 LH and RH Fog Lamps
Fuse Block Schematics Schematics
Headlights/Daytime Running Lights (DRL) Schematics
Ground Distribution Schematics
Figure
2:
Cell 103 LH and RH Fog Lamps
Lighting Systems Components
Fog Lights Circuit Description
Cell 103 Fog Lamp Switch and Multifunction Relay K134
Ground Distribution Schematics