GM Service Manual Online
For 1990-2009 cars only
Figure 1:

Cell 50 DLC Power and Ground


Object Number: 237514  Size: FS
Data Link Communications Components
Data Link Connector Circuit Description
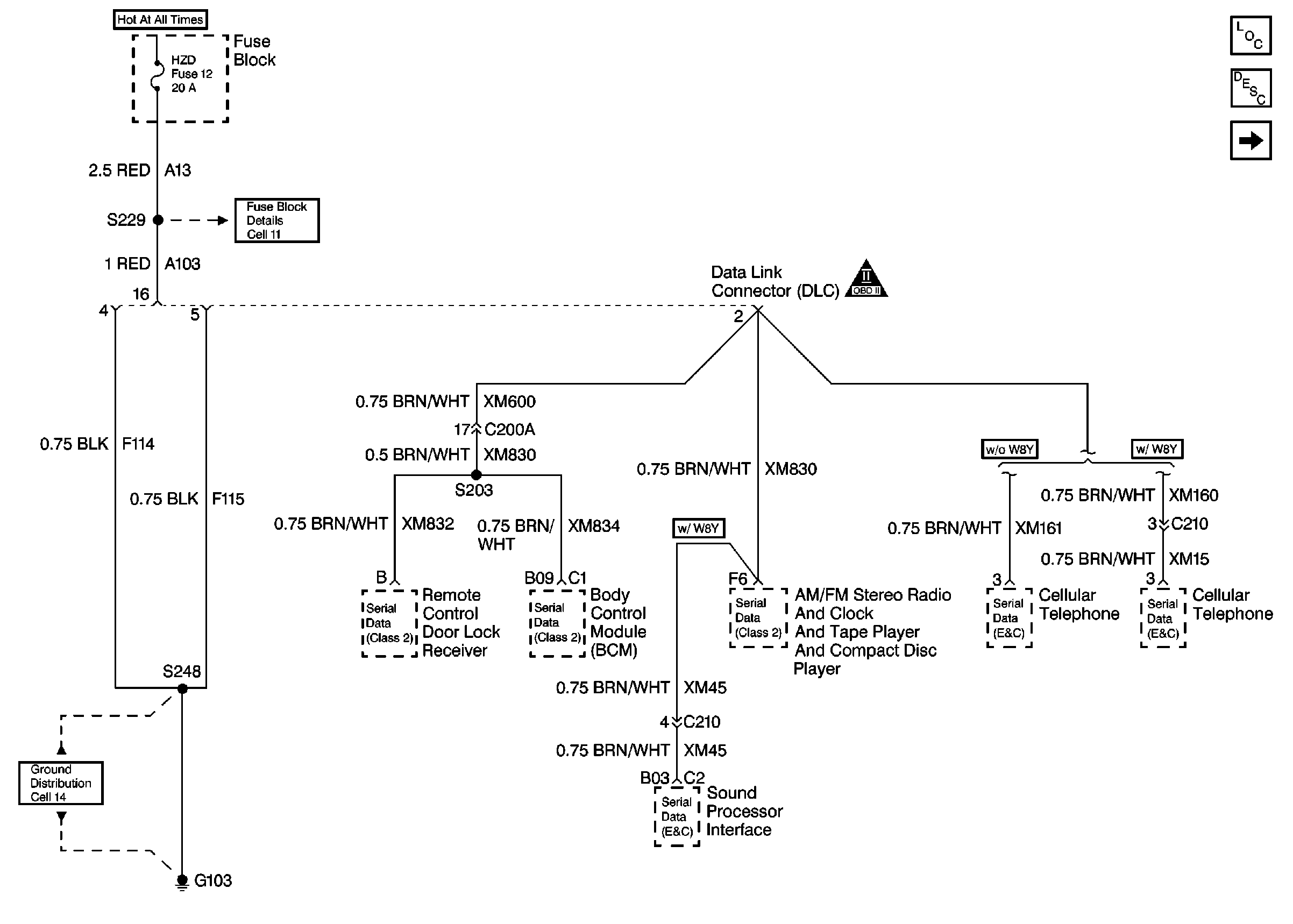
Cell 50 Sun Roof Actuator, TCM, ECM, and Instrument Cluster
Fuse Block Schematics Schematics
Ground Distribution Schematics
Figure 2:

Cell 50 Sun Roof Actuator, TCM, ECM, and Instrument Cluster


Object Number: 237515  Size: FS
Data Link Communications Components
Data Link Connector Circuit Description
Cell 50 ALC Sensor, Cruise Control Module, EBTCM, and Heater and A/C Control
Cell 50 DLC Power and Ground
Figure 3:

Cell 50 ALC Sensor, Cruise Control Module, EBTCM, and Heater and A/C Control


Object Number: 237517  Size: FS
Data Link Communications Components
Data Link Connector Circuit Description
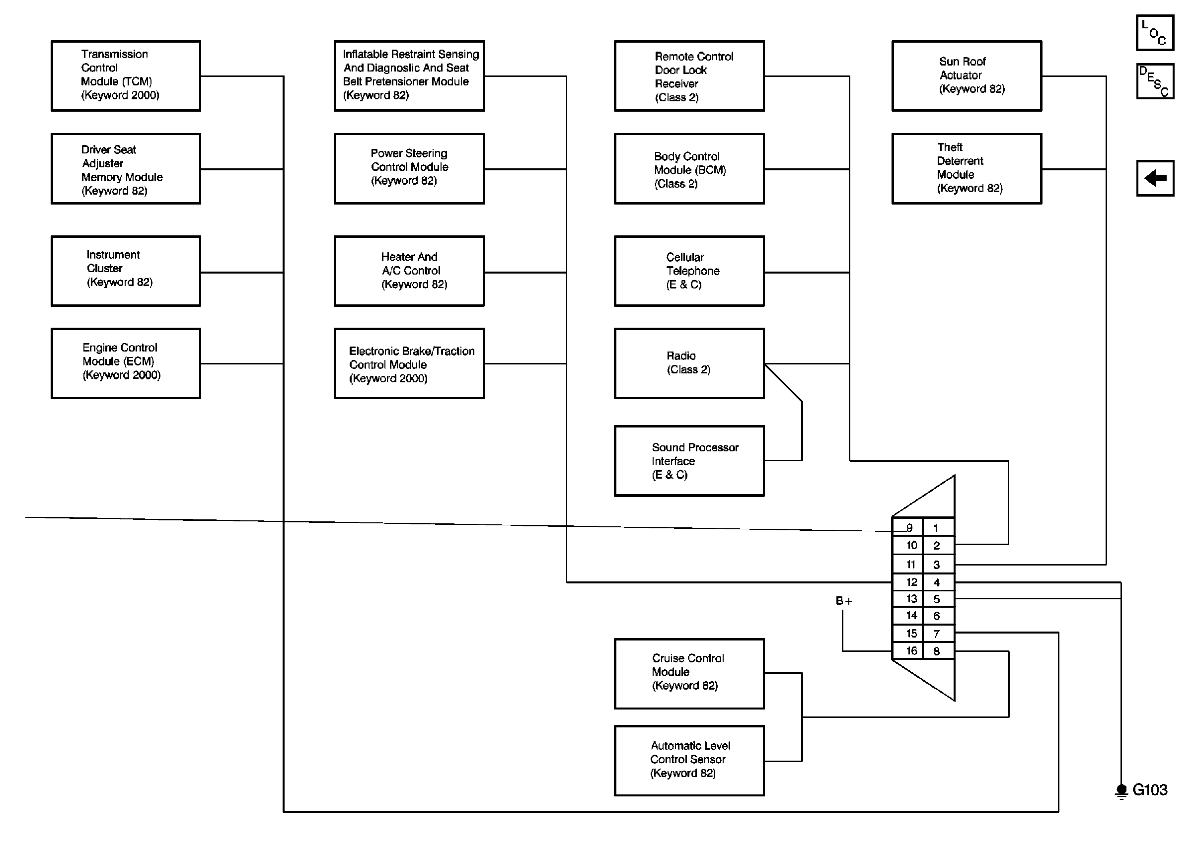
Cell 50 DLC and All Modules
Cell 50 Sun Roof Actuator, TCM, ECM, and Instrument Cluster
Figure 4:

Cell 50 DLC and All Modules


Object Number: 237519  Size: FS
Data Link Communications Components
Data Link Connector Circuit Description
Cell 50 ALC Sensor, Cruise Control Module, EBTCM, and Heater and A/C Control