GM Service Manual Online
For 1990-2009 cars only
Makes
🢒
Cadillac
🢒
1999
🢒
Catera
🢒
Body and Accessories
🢒
Stationary Windows
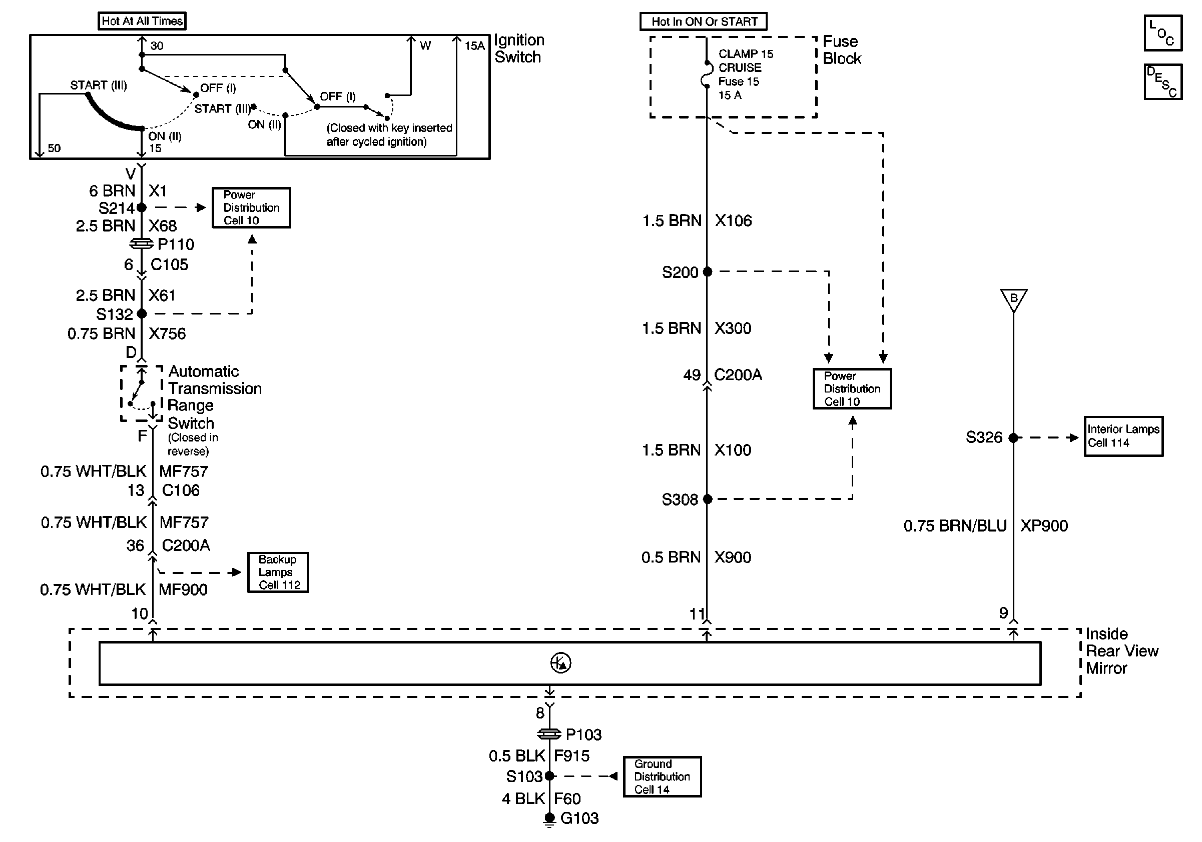
🢒 Automatic Day-Night Mirrors Schematics
Cell 148
Stationary Windows Components
Automatic Day-Night Mirrors Circuit Description
Cell 10 Ignition Switch and Fuse Block
Cell 10 Fuse Block, Cruise Control, Heater Relays, Instrument Cluster, and Headlamp Switch
Cell 114 BCM, Multifunction Relay K134, and Front Side Door Jamb Switch
Cell 112
Cell 14 Door Lock Relay K135, ALC Sensor, and EBTCM