GM Service Manual Online
For 1990-2009 cars only
Makes
🢒
Cadillac
🢒
2001
🢒
Catera
🢒
Body and Accessories
🢒
Wiring Systems
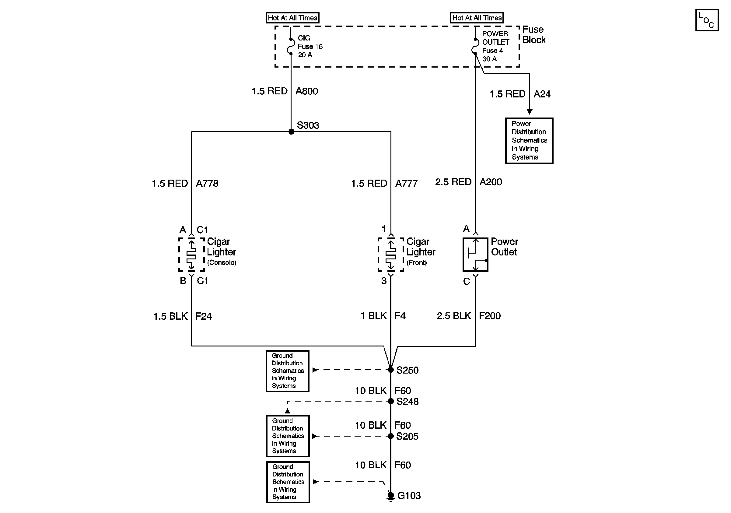
🢒 Cigar Lighter/Power Outlet Schematics
Master Electrical Component List
Underhood Fuse Block Fuse V6 and Fuse Block Fuses 17, 28, 29, 33, and34
Fuse Block Fuses 4, 18, and Engine Controls Power Relay
Fuse Block Fuses 4, 12, 21, and 32
G103 (7 of 8)
G103 (6 of 8)
G103 (1 of 8)