GM Service Manual Online
For 1990-2009 cars only
Figure 1:

Fuses V6, V5, V4, V1, 42, 50, 52, 40, 49, AIR and Fan Control Relays


Object Number: 782712  Size: FS
Master Electrical Component List
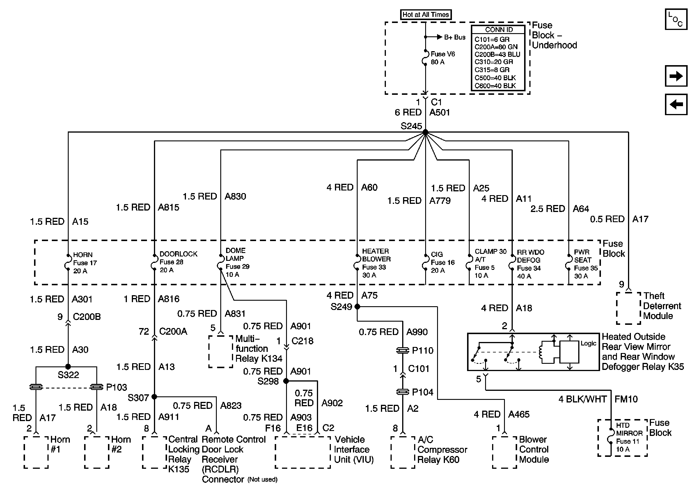
Underhood Fuse Block Fuse V6 and Fuse Block Fuses 17, 28, 29, 33, and34
Figure 2:

Fuse V6, and HORN, DOOR LOCK, DOME LAMP, HEATER BLOWER, GIG, CLAMP 30, RR WDO DEFOG, and PWR SEAT Fuses


Object Number: 788054  Size: FS
Master Electrical Component List
Fuse Block Fuses 5, 11, 16, and 35
Battery Cable Bus
Battery Cable Bus
Figure 3:

CIG, CLAMP30 A/T, HTD MIRROR and PWR SEAT Fuses


Object Number: 782720  Size: FS
Master Electrical Component List
Underhood Fuse Block Fuse V5 and Fuse Block Fuses 6, 7, 20, and 25
Underhood Fuse Block Fuse V6 and Fuse Block Fuses 17, 28, 29, 33, and34
Underhood Fuse Block Fuse V6 and Fuse Block Fuses 17, 28, 29, 33, and34
Underhood Fuse Block Fuse V6 and Fuse Block Fuses 17, 28, 29, 33, and34
Underhood Fuse Block Fuse V6 and Fuse Block Fuses 17, 28, 29, 33, and34
Underhood Fuse Block Fuse V6 and Fuse Block Fuses 17, 28, 29, 33, and34
Figure 4:

Fuse V5 AND ALC, HI BEAM RH, PWF, AUDIO, HTD SEAT FRONT, PWR, RADIO BATT GUARD, HZD, HI BEAM LH, SUN ROOF, PRK LP LH, CLAMP 58, PRK LP RH, LO BEAM LH, and LO BEAM RH Fuses


Object Number: 788055  Size: FS
Master Electrical Component List
Fuse Block Fuses 4, 18, and Engine Controls Power Relay
Fuse Block Fuses 5, 11, 16, and 35
Battery Cable Bus
Fuse Block Fuses 4, 18, and Engine Controls Power Relay
Figure 5:

Fuse V5 continued and POWER OUTLET and FUEL PUMP Fuses


Object Number: 788056  Size: FS
Master Electrical Component List
ECM Housing Fuse 43 and Engine Controls Power Relay Continued
Underhood Fuse Block Fuse V5 and Fuse Block Fuses 6, 7, 20, and 25
Underhood Fuse Block Fuse V5 and Fuse Block Fuses 6, 7, 20, and 25
ECM Housing Fuse 43 and Engine Controls Power Relay Continued
Figure 6:

Fuse V5 continued and Fuse 43


Object Number: 788057  Size: FS
Master Electrical Component List
Fuse Block Fuses 22, 23, 30, and 31
Fuse Block Fuses 4, 18, and Engine Controls Power Relay
Fuse Block Fuses 4, 18, and Engine Controls Power Relay
Figure 7:

LO BEAM LH, PRK LP LH, LO BEAM RH and PRK LP RH Fuses


Object Number: 782723  Size: FS
Master Electrical Component List
Fuse Block Fuse 26
ECM Housing Fuse 43 and Engine Controls Power Relay Continued
Underhood Fuse Block Fuse V5 and Fuse Block Fuses 6, 7, 20, and 25
Underhood Fuse Block Fuse V5 and Fuse Block Fuses 6, 7, 20, and 25
Underhood Fuse Block Fuse V5 and Fuse Block Fuses 6, 7, 20, and 25
Underhood Fuse Block Fuse V5 and Fuse Block Fuses 6, 7, 20, and 25
Figure 8:

CLAMP 58 Fuse


Object Number: 782724  Size: FS
Master Electrical Component List
Fuse Block Fuses 1, 8, and 27
Fuse Block Fuses 22, 23, 30, and 31
Underhood Fuse Block Fuse V5 and Fuse Block Fuses 6, 7, 20, and 25
Figure 9:

RADIO BATT GUARD, ALC and PWF Fuses


Object Number: 782725  Size: FS
Master Electrical Component List
Fuse Block Fuses 4, 12, 21, and 32
Fuse Block Fuse 26
Underhood Fuse Block Fuse V5 and Fuse Block Fuses 6, 7, 20, and 25
Underhood Fuse Block Fuse V5 and Fuse Block Fuses 6, 7, 20, and 25
Underhood Fuse Block Fuse V5 and Fuse Block Fuses 6, 7, 20, and 25
Figure 10:

POWER OUTLET, HI BEAM RH, HI BEAM LH, and HZD Fuses


Object Number: 782729  Size: FS
Master Electrical Component List
Underhood Fuse Block Fuses V1 and V4, and Ignition Switch
Fuse Block Fuses 1, 8, and 27
Fuse Block Fuses 4, 18, and Engine Controls Power Relay
Underhood Fuse Block Fuse V5 and Fuse Block Fuses 6, 7, 20, and 25
Underhood Fuse Block Fuse V5 and Fuse Block Fuses 6, 7, 20, and 25
Underhood Fuse Block Fuse V5 and Fuse Block Fuses 6, 7, 20, and 25
Figure 11:

Fuses V4 and V1, and FLASHER, O/S MIRROR, ABS, CLAMP 15 A/T, WIPER, CLAMP 15, CLAMP 15 CRUISE, CLAMP 15A, and CLAMP W PBSL Fuses


Object Number: 782730  Size: FS
Master Electrical Component List
Fuse Block Fuses 3, 13, and 19
Fuse Block Fuses 4, 12, 21, and 32
Battery Cable Bus
Power and Grounding Schematic Icons
Figure 12:

O/S MIRROR, ABS, and FLASHER Fuses


Object Number: 782733  Size: FS
Master Electrical Component List
Fuse Block Fuses 2, 9, and 14
Underhood Fuse Block Fuses V1 and V4, and Ignition Switch
Underhood Fuse Block Fuses V1 and V4, and Ignition Switch
Underhood Fuse Block Fuses V1 and V4, and Ignition Switch
Underhood Fuse Block Fuses V1 and V4, and Ignition Switch
Figure 13:

CLAMP 15, CLAMP 15 A/T and WIPER Fuses


Object Number: 782732  Size: FS
Master Electrical Component List
Fuse Block Fuses 10 and 24
Fuse Block Fuses 3, 13, and 19
Underhood Fuse Block Fuses V1 and V4, and Ignition Switch
Underhood Fuse Block Fuses V1 and V4, and Ignition Switch
Underhood Fuse Block Fuses V1 and V4, and Ignition Switch
Figure 14:

CLAMP 15A AND CLAMP W PBSL Fuse


Object Number: 782735  Size: FS
Master Electrical Component List
Fuse Block Fuse 15
Fuse Block Fuses 2, 9, and 14
Underhood Fuse Block Fuses V1 and V4, and Ignition Switch
Underhood Fuse Block Fuses V1 and V4, and Ignition Switch
Figure 15:

CLAMP 15 CRUISE Fuse


Object Number: 782734  Size: FS
Master Electrical Component List
Fuse Block Fuses 10 and 24
Underhood Fuse Block Fuses V1 and V4, and Ignition Switch