GM Service Manual Online
For 1990-2009 cars only

DTC B2111 Lumbar Down Switch Failed with AL2


Object Number: 414097  Size: MF
Power Seat Systems Components
Memory Seats Schematics
Handling ESD Sensitive Parts Notice
Power Seat Connector End Views
Ground Distribution Schematics

Circuit Description

The memory seat module (MSM) receives an input from the LH lumbar switch when the down switch is actuated. When the lumbar switch is operated in the down direction, Battery Positive Voltage (B+) is supplied to the MSM lumbar down input via CKT 1067 (YEL/BLK). The MSM recognizes the input and moves the lumbar support in the down direction.

Conditions for Setting the DTC

    •  When the lumbar down switch is active for 30 seconds after motion has ceased, the switch will be considered shorted and the DTC will set.
    •  If the lumbar vertical position sensor DTC B2120 is current and the lumbar down switch is active for 30 seconds, the switch will be considered shorted and the DTC will set.
    • DTC B2111 will set only if DTC B1982 MSM or DTC B1983 MSM is not current.

Action Taken When the DTC Sets

    • The MSM will not move the lumbar support in the down direction.
    • The MSM will continue to respond to valid inputs from the other manual switches.
    • All memory recall function commands will be ignored for all directions.

Conditions for Clearing the DTC

    • The MSM sees that the lumbar down switch is no longer active.
    • Use the On-Boards clearing DTCs feature.
    • Use a scan tool.

Test Description

The numbers below refer to the step numbers on the diagnostic table:

  1. Perform the entire Power Seat Systems Diagnostic System Check before continuing with the diagnosis of this DTC.

  2. Determines whether there is a stuck switch or a short to battery positive voltage (B+) in the wiring input to the memory seat module (MSM). DTC B2111 will set again if there is a short in the wiring or there is an internal MSM problem. DTC B2111 will not set again if there is a stuck switch because the switch has been disconnected from the memory seat module (MSM) input.

  3. Determines whether there is a short to battery positive voltage (B+) in the input wiring to the MSM.

  4. Clear all DTCs after the repair procedure is complete.

Step

Action

Value(s)

Yes

No

1

Was the entire Power Seat Systems Diagnostic System Check performed?

--

Go to Step 2

Go to Diagnostic System Check - Power Seat Systems

2

  1. Turn the ignition switch to the ON position.
  2. Connect a scan tool to the data link connector (DLC).
  3. Disconnect the LH lumbar switch connector.
  4. Using the scan tool, clear all DTCs. Refer to Diagnostic Trouble Code (DTC) Clearing .

After 30 seconds, does DTC B2111 reset?

--

Go to Step 3

Go to Step 5

3

  1. Disconnect the memory seat module (MSM) connector C2.
  2. Connect a digital multimeter (DMM) from the MSM connector C2 cavity C12 (YEL/BLK) to ground.

Is the voltage within the specified range?

10-15 V

Go to Step 6

Go to Step 4

4

Replace the memory seat module (MSM). Refer to Memory Seat Control Module Replacement .

Is the MSM replacement complete?

--

Go to Step 7

--

5

Replace the LH lumbar switch.

Is the LH lumbar switch replacement complete?

--

Go to Step 7

--

6

Repair the short to battery positive voltage (B+) in CKT 1067 (YEL/BLK). Refer to Wiring Repairs in Wiring Systems.

Is the circuit repair complete?

--

Go to Step 7

--

7

  1. Turn the ignition switch to the OFF position.
  2. Reconnect or install any connectors or components that were disconnected or removed.
  3. Turn the ignition switch to the ON position.
  4. Clear any DTCs. Refer to Diagnostic Trouble Code (DTC) Clearing .

Are all DTCs cleared?

--

Go to Diagnostic System Check - Power Seat Systems

--

DTC B2111 Lumbar Down Switch Failed with AM3


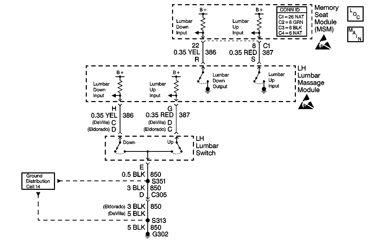
Object Number: 414099  Size: MF
Power Seat Systems Components
Lumbar Support Schematics AM3
Power Seat Connector End Views
Ground Distribution Schematics
Handling ESD Sensitive Parts Notice
Handling ESD Sensitive Parts Notice

Circuit Description

The memory seat module (MSM) receives an input from the LH lumbar switch through the LH lumbar massage module when the down switch is actuated. When the lumbar switch is operated in the down direction, battery positive voltage (B+) is supplied to the MSM lumbar down input via CKT 386 (YEL). The MSM recognizes the input and moves the lumbar support in the down direction.

Conditions for Setting the DTC

    •  When the lumbar down switch is active for 30 seconds after motion has ceased, the switch will be considered shorted and the DTC will set.
    •  If the lumbar vertical position sensor DTC B2120 is current and the lumbar down switch is active for 30 seconds, the switch will be considered shorted and the DTC will set.
    • DTC B2111 will set only if DTC B1982 MSM or DTC B1983 MSM is not current.

Action Taken When the DTC Sets

    • The MSM will not move the lumbar support in the down direction.
    • The MSM will continue to respond to valid inputs from the other manual switches.
    • All memory recall function commands will be ignored for all directions.

Conditions for Clearing the DTC

    • The MSM sees that the lumbar down switch is no longer active.
    • Use the On-Boards clearing DTCs feature.
    • Use a scan tool.

Test Description

The numbers below refer to the step numbers on the diagnostic table:

  1. Perform the entire Power Seat Systems Diagnostic System Check before continuing with the diagnosis of this DTC.

  2. Determines whether there is a stuck switch in the LH lumbar switch. DTC B2111 will set again if there is a short in the wiring or if there is an internal lumbar massage module problem. DTC B2111 will not set again if there is a stuck switch because the switch has been disconnected from the LH lumbar massage module input.

  3. Determines whether there is an internal problem with the LH lumbar massage module or if there is a short to ground in the input wiring to the LH lumbar massage module or to the MSM.

  4. Clear all DTCs after the repair procedure is complete.

Step

Action

Value(s)

Yes

No

1

Was the entire Power Seat Systems Diagnostic System Check performed?

--

Go to Step 2

Go to Diagnostic System Check - Power Seat Systems

2

  1. Turn the ignition switch to the ON position.
  2. Connect a scan tool to the data link connector (DLC).
  3. Disconnect the LH lumbar switch connector.
  4. Using the scan tool, clear all DTCs. Refer to Diagnostic Trouble Code (DTC) Clearing .

After 30 seconds, does DTC B2111 reset?

--

Go to Step 3

Go to Step 5

3

  1. Disconnect the LH lumbar massage module connector.
  2. Using the scan tool, clear all DTCs. Refer to Diagnostic Trouble Code (DTC) Clearing .

After 30 seconds, does DTC B2111 reset?

--

Go to Step 4

Go to Step 6

4

Test for a short to ground in CKT 386 (YEL) between the memory seat module (MSM) and the LH lumbar massage module. Refer to Testing for Short to Ground in Wiring Systems.

Is CKT 386 OK?

--

Go to Step 10

Go to Step 9

5

Replace the LH lumbar switch. Refer to Lumbar/Heated Seat Switch Replacement - Power .

Is the LH lumbar switch replacement complete?

--

Go to Step 11

--

6

Test for a short to ground in CKT 386 (YEL) between the LH lumbar massage module and the LH lumbar switch. Refer to Testing for Short to Ground in Wiring Systems.

Is CKT 386 OK?

--

Go to Step 8

Go to Step 7

7

Repair the short to ground in CKT 386 (YEL) between the LH lumbar massage module and the LH lumbar switch. Refer to Wiring Repairs in Wiring Systems.

Is the circuit repair complete?

--

Go to Step 11

--

8

Replace the LH lumbar massage module.

Is the LH lumbar massage module replacement complete?

--

Go to Step 11

--

9

Repair the short to ground in CKT 386 (YEL) between the memory seat module (MSM) and the LH lumbar massage module. Refer to Wiring Repairs in Wiring Systems.

Is the circuit repair complete?

--

Go to Step 11

--

10

Replace the memory seat module (MSM). Refer to Memory Seat Control Module Replacement .

Is the MSM replacement complete?

--

Go to Step 11

--

11

  1. Turn the ignition switch to the OFF position.
  2. Reconnect or install any connectors or components that were disconnected or removed.
  3. Turn the ignition switch to the ON position.
  4. Clear any DTCs. Refer to Diagnostic Trouble Code (DTC) Clearing .

Are all DTCs cleared?

--

Go to Diagnostic System Check - Power Seat Systems

--