GM Service Manual Online
For 1990-2009 cars only
Figure 1:

Memory Function Switch


Object Number: 663343  Size: FS
Master Electrical Component List
Memory Seats Description and Operation
Left Seat Switch, MSM, Power Ground (w/A45/AL2)
Class 2 Serial Data (3 of 3)
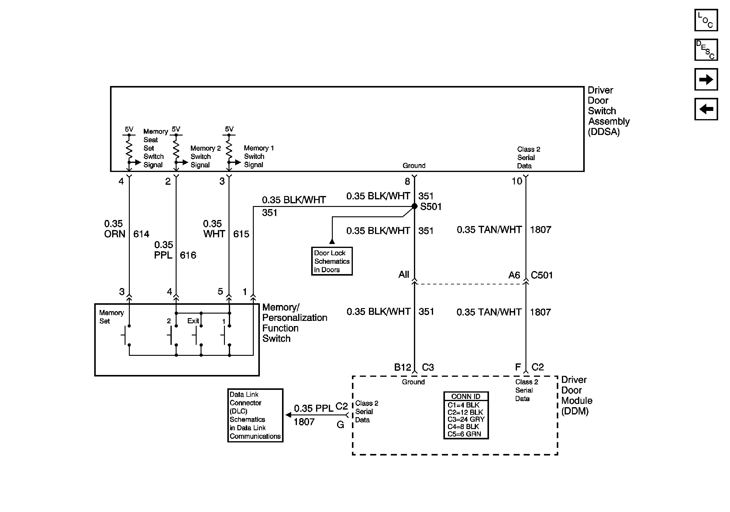
Driver Door Switch Assembly (DDSA) Power, Ground Inputs and Outputs
Figure 2:

Driver Seat Power/Ground (w/A45/AL2)


Object Number: 663345  Size: FS
Master Electrical Component List
Memory Seats Description and Operation
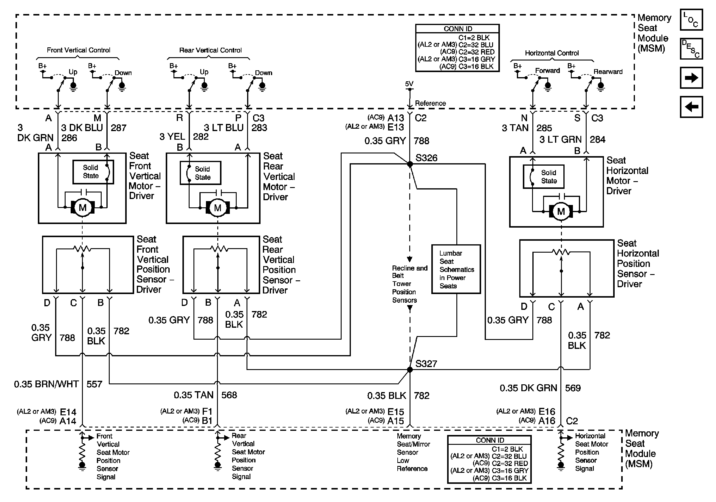
Front/Rear Vertical, Horizontal Motors, Position Sensors (w/A45/AL2)
Memory Function Switch
G302 Left Front Seat
G302 Left Front Seat
NAV Fuse and PWR Seat Circuit Breaker
MEM TT, RRLUM/ANT, and HTDST LF Fuses
MEM TT, RRLUM/ANT, and HTDST LF Fuses
Figure 3:

Front/Rear Position Sensors (w/A45/AL2)


Object Number: 663348  Size: FS
Master Electrical Component List
Memory Seats Description and Operation
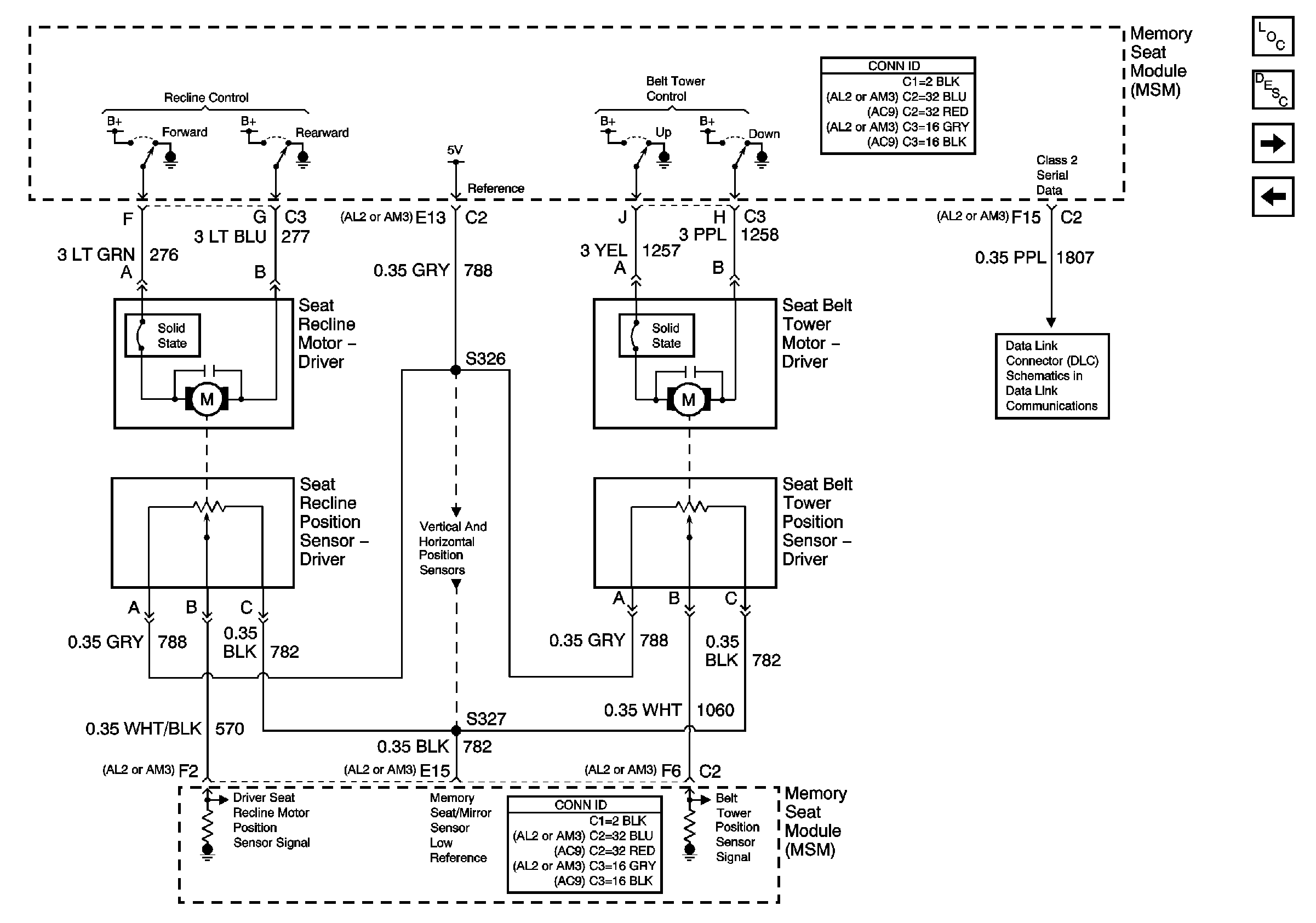
Recline, Belt Tower Motors and Position Sensors (Class2)
Left Seat Switch, MSM, Power Ground (w/A45/AL2)
Power, Ground, Motors Sensors, Switch and MSM (w/A45/AL2)
Figure 4:

Position Sensors (Class 2)


Object Number: 663350  Size: FS
Master Electrical Component List
Memory Seats Description and Operation
Front/Rear Vertical, Horizontal Motors, Position Sensors (w/A45/AL2)
Class 2 Serial Data (3 of 3)
Figure 5:

Memory Function Switch (w/A45/AL9)


Object Number: 663351  Size: FS
Master Electrical Component List
Memory Seats Description and Operation
Left Seat Switch, MSM, Power and Ground (w/A45/AC9)
Class 2 Serial Data (3 of 3)
Memory Function Switch
Figure 6:

Driver Seat Power/Ground (w/A45/AC9)


Object Number: 663352  Size: FS
Master Electrical Component List
Memory Seats Description and Operation
Front/Rear Vertical, Horizontal Motors and position Sensors (w/A45/AC9)
Memory function Switch (w/A45/AL9)
G302 Left Front Seat
G302 Left Front Seat
NAV Fuse and PWR Seat Circuit Breaker
MEM TT, RRLUM/ANT, and HTDST LF Fuses
MEM TT, RRLUM/ANT, and HTDST LF Fuses
Figure 7:

Front/Rear Position Sensors (w/A45/AC9)


Object Number: 663353  Size: FS
Master Electrical Component List
Memory Seats Description and Operation
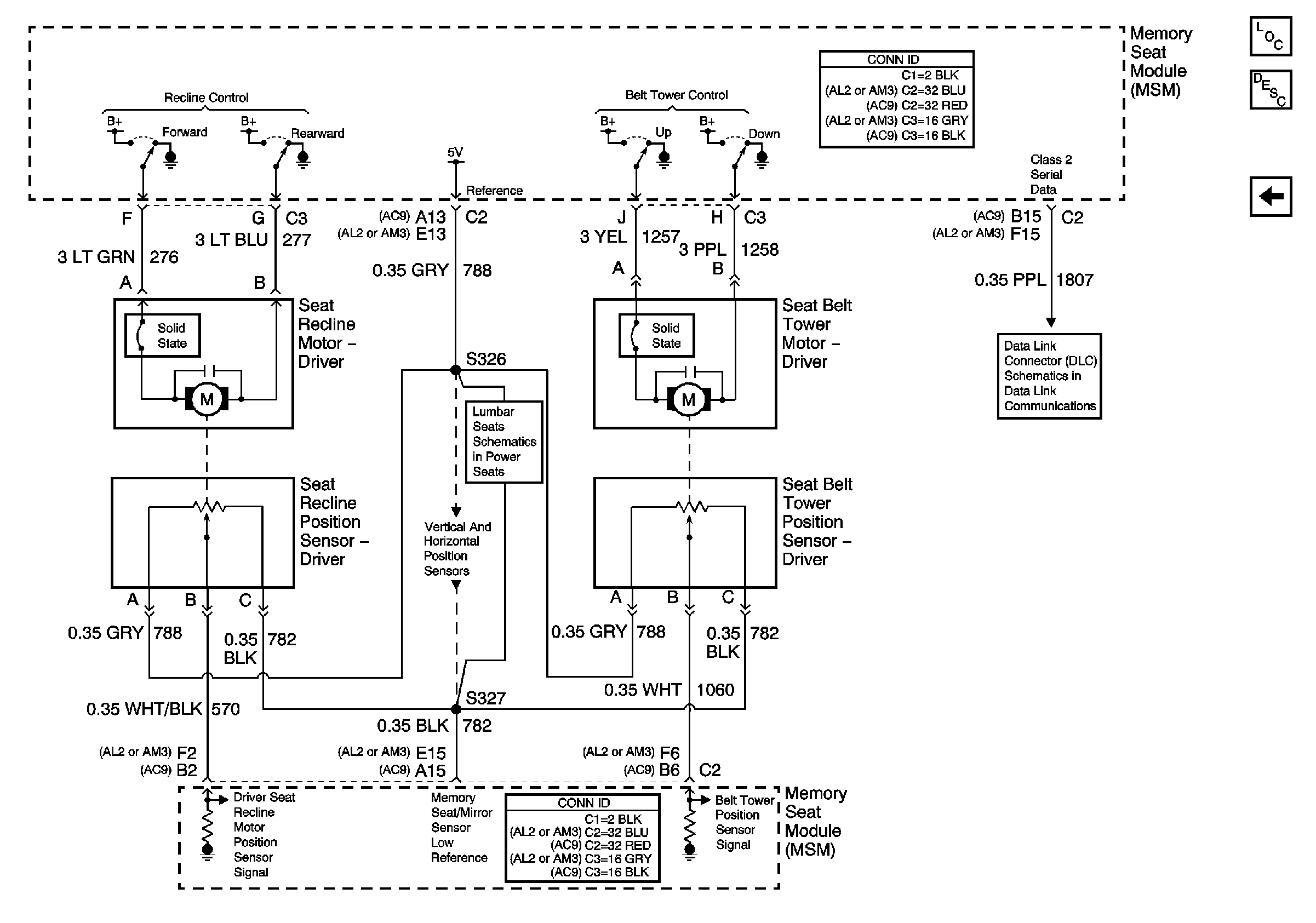
Belt Tower Motors, Recline Position Sensors, Class 2 (w/A45/AC9)
Left Seat Switch, MSM, Power and Ground (w/A45/AC9)
Figure 8:

Position Sensors, Class 2 (w/A45/AC9)


Object Number: 663355  Size: FS
Master Electrical Component List
Memory Seats Description and Operation
Front/Rear Vertical, Horizontal Motors and position Sensors (w/A45/AC9)
Class 2 Serial Data (3 of 3)
Power, Ground, Motors Sensors, Switch and MSM (w/A45/AL2)