GM Service Manual Online
For 1990-2009 cars only
Makes
🢒
Cadillac
🢒
2001
🢒
DeVille
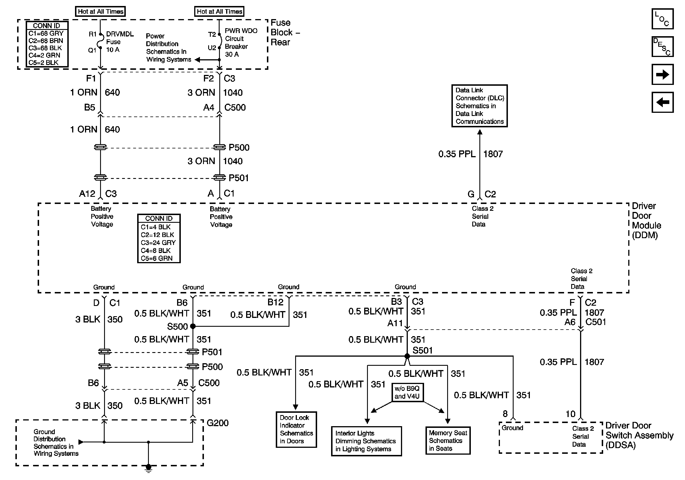
🢒 Driver Door Module (DDM) Power and Ground Input and Outputs 1 of 2
Driver Door Module (DDM) Power and Ground Input and Outputs 1 of 2
Driver Door Module (DDM) Power and Ground Input and Outputs 1 of 2
Master Electrical Component List
Power Door Locks Description and Operation
Driver Door Module (DDM) Power, Ground Inputs and Outputs 2 of 2
Driver Door Switch Assembly (DDSA) Internal Details w/Memory (A45)
Memory Function Switch
Front Door Dimming
Driver Door Power Door Lock
G200
HVAC BLO, DRV MDL, PASS MDL, PWR TT, HTDST LR, HTDST RR, HTDST RF, and DIM Fuses
PWR Window Circuit Breaker
Class 2 Serial Data (3 of 3)