GM Service Manual Online
For 1990-2009 cars only
Makes
🢒
Cadillac
🢒
2001
🢒
DeVille
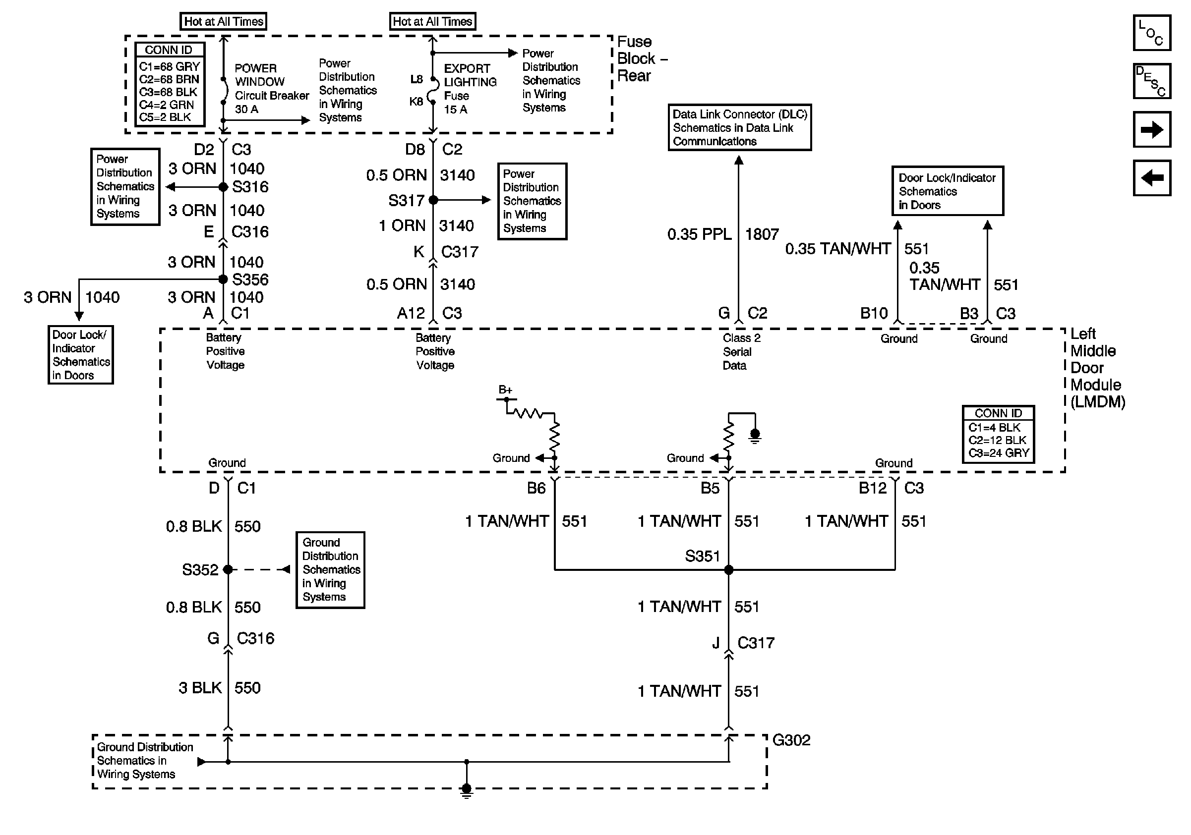
🢒 Left Middle Door Module (LMDM) Power and Ground Inputs and Outputs
Left Middle Door Module (LMDM) Power and Ground Inputs and Outputs
Left Middle Door Module (LMDM) Power and Ground Inputs and Outputs
Master Electrical Component List
Power Door Locks Description and Operation
Right Middle Door Module (RMDM) Power, Ground Inputs and Outputs
Passenger Front Door Module (PFDM) Power, Ground Inputs and Outputs2 of 2
G302 Left Front Seat
G302 V4U/B9Q
Left Middle Door Power Door Lock (w/V4U)
Left Middle Door Power Door Lock (w/V4U)
PWR Window Circuit Breaker
Audio Amp and Export LTG/LK Fuses
Audio Amp and Export LTG/LK Fuses
Class 2 Serial Data (3 of 3)
Left Middle Door Power Door Lock (w/V4U)