GM Service Manual Online
For 1990-2009 cars only
Makes
🢒
Cadillac
🢒
2001
🢒
DeVille
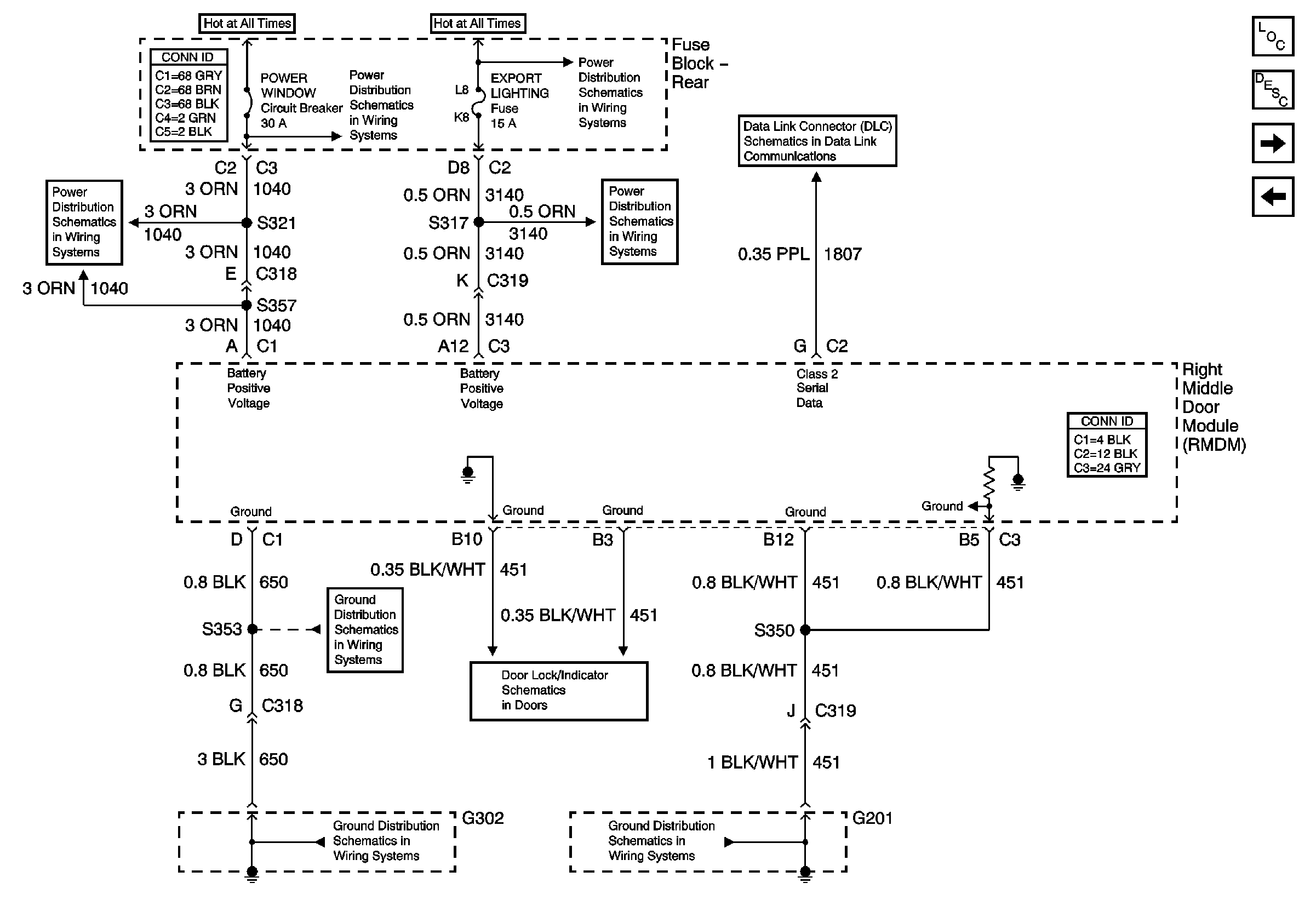
🢒 Right Middle Door Module (RMDM) Power, Ground Inputs and Outputs
Right Middle Door Module (RMDM) Power, Ground Inputs and Outputs
Right Middle Door Module (RMDM) Power, Ground Inputs and Outputs
Master Electrical Component List
Power Door Locks Description and Operation
Left Rear Door Module (LRDM) Power, Ground Inputs and Outputs
Left Middle Door Module (LMDM) Power and Ground Inputs and Outputs
G201,G202 CKT 451 Steering Column
G302 V4U/B9Q
Right Middle Door Power Door Lock (w/V4U)
G302 V4U/B9Q
Power Door Locks Middle Door Release (w/V4U) 2 of 2
Power Door Locks Middle Door Release (w/V4U) 2 of 2
Power Door Locks Middle Door Release (w/V4U) 2 of 2
Audio Amp and Export LTG/LK Fuses
Power Door Locks Middle Door Release (w/V4U) 1 of 2
Class 2 Serial Data (3 of 3)