GM Service Manual Online
For 1990-2009 cars only
Makes
🢒
Cadillac
🢒
2001
🢒
DeVille
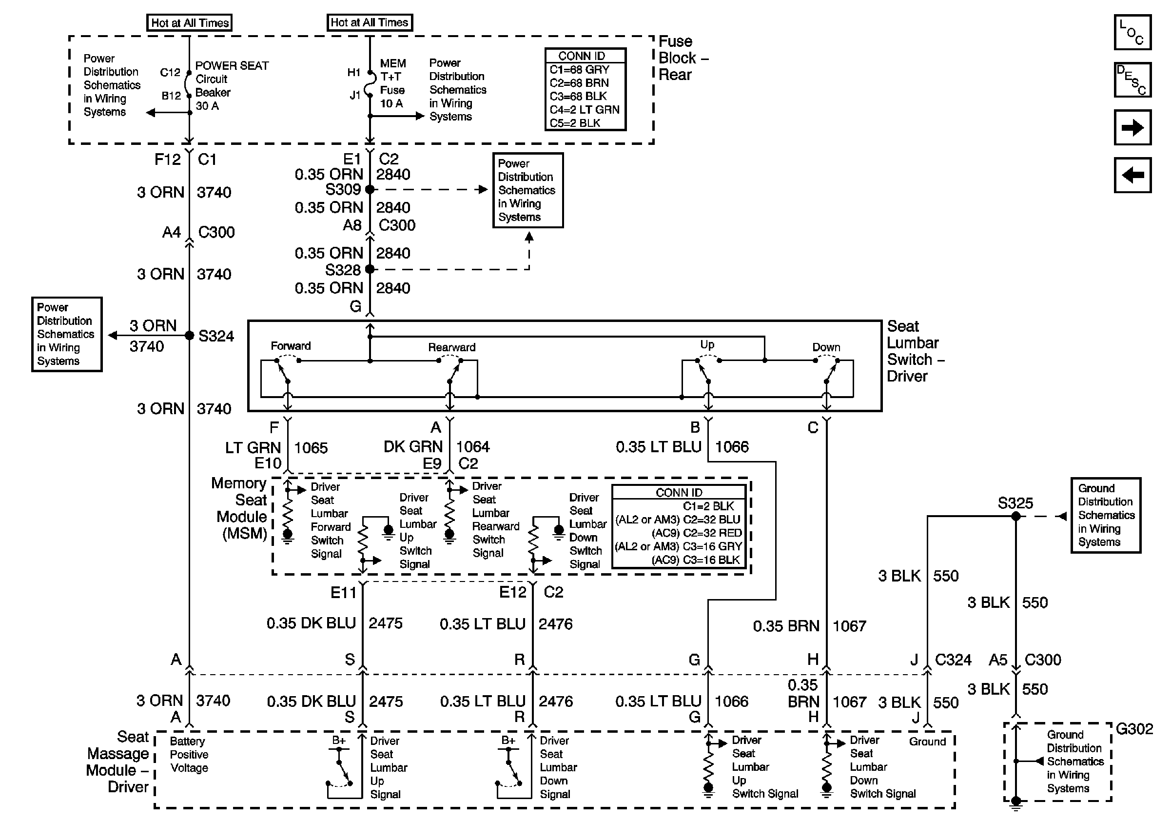
🢒 Power, Ground, Massage Module, MSM Switch (w/A45/AM3)
Power, Ground, Massage Module, MSM Switch (w/A45/AM3)
Passenger Switch (w/A45/AM3)
Master Electrical Component List
Lumbar Support Description and Operation with A45
Massage Module, Motors, Positions Sensors, MSM (w/A45/AM3)
Power, Ground, Motors Sensors, Switch and MSM (w/A45/AL2)
G302 Left Front Seat
G302 Left Front Seat
NAV Fuse and PWR Seat Circuit Breaker
NAV Fuse and PWR Seat Circuit Breaker
MEM TT, RRLUM/ANT, and HTDST LF Fuses
MEM TT, RRLUM/ANT, and HTDST LF Fuses