GM Service Manual Online
For 1990-2009 cars only
Makes
🢒
Cadillac
🢒
2004
🢒
DeVille
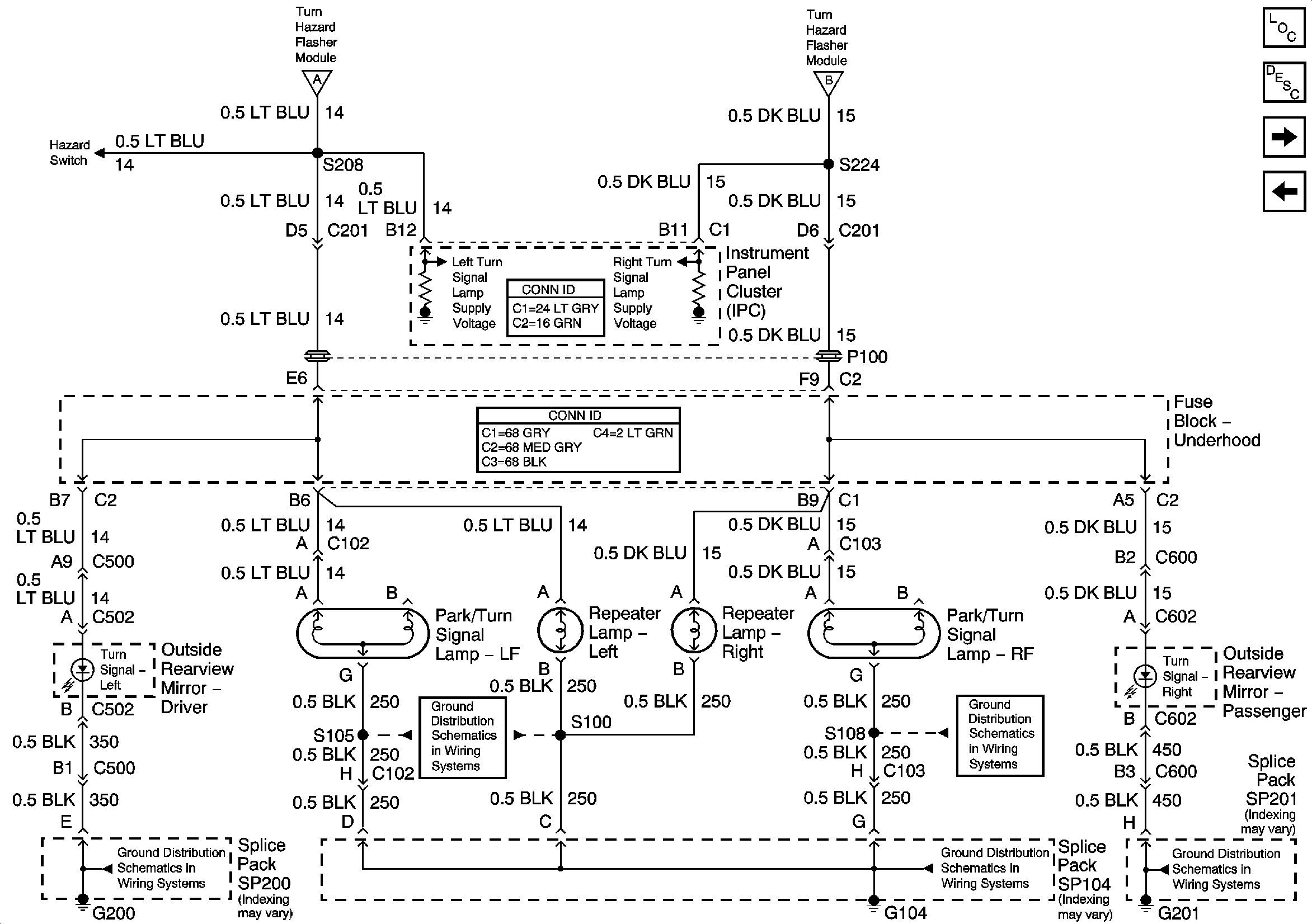
🢒 Front Park/Turn and Repeater Lamps
Front Park/Turn and Repeater Lamps
Front Park/Turn and Repeater Lamps
Master Electrical Component List
Exterior Lighting Systems Description and Operation
Standing and Position Lamp Relays
Tail Lamps
G104
G104
G104
G200
G201 (3 of 3)
Turn Signal/Flasher Module and Hazard Switch
Turn Signal/Flasher Module and Hazard Switch