GM Service Manual Online
For 1990-2009 cars only
Makes
🢒
Cadillac
🢒
2004
🢒
DeVille
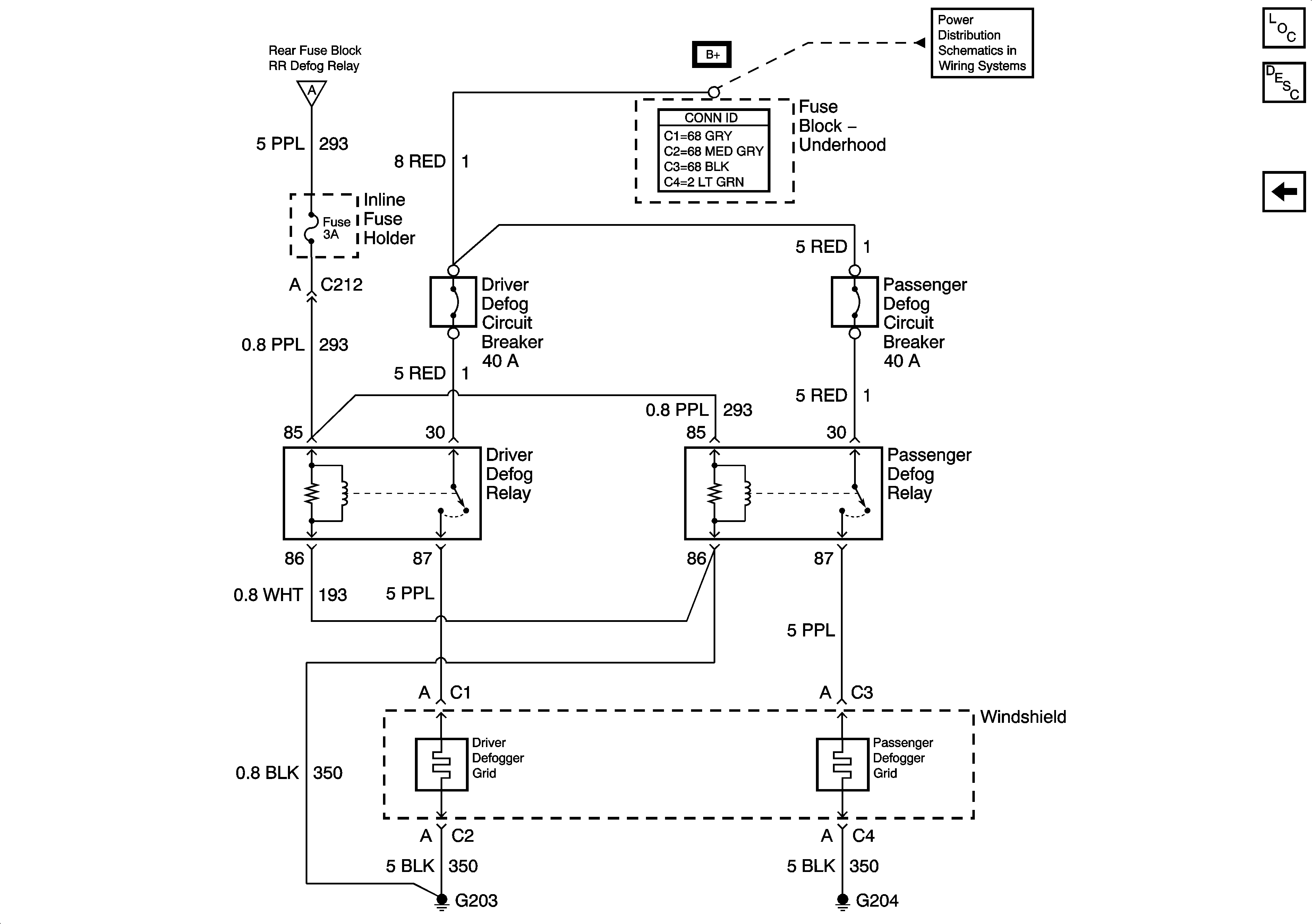
🢒 Windshield (w/ WC2/WC8)
Windshield (w/ WC2/WC8)
Windshield- w/ WC2/WC8
Master Electrical Component List
Rear Window Defogger Description and Operation
Defogger (w/o B9Q)
Rear Fuse Block- RR BLO, RRDR MDL, HVAC BAT, STOP LP, IGN SW, TSIG/HAZ Fuse
Rear Fuse Block- RR BLO, RRDR MDL, HVAC BAT, STOP LP, IGN SW, TSIG/HAZ Fuse
Rear Fuse Block Battery Voltage
Ignition Switch
Ignition Switch
Class 2 Serial Data (1 of 3)
Defogger (w/o B9Q)