GM Service Manual Online
For 1990-2009 cars only
Figure 1:

Power, Ground, Stop Lamp Switch, Solenoid Valves, and Pump Motor


Object Number: 1413919  Size: FS
Master Electrical Component List
ABS Description and Operation
Wheel Speed Sensors
RR BLO, RRDR MDL, HVAC BAT, STOP LP, IGN SW, and TSIG/HAZ Fuses
ELC, NIGHT VISION, HVAC, and ABS Fuses and ELC Relay
ABS, AIR PUMP, C/LTR 1, and C/LTR 2 Fuses
Cruise Control Module (CCM) Inputs
Right Tail Lamps
Right Tail Lamp and Center High Mounted Stop Lamp
Right Tail Lamp and Center High Mounted Stop Lamp
Tail Lamps
Figure 2:

Wheel Speed Sensors


Object Number: 1413922  Size: FS
Master Electrical Component List
ABS Description and Operation
Vehicle Stability Enhancement System (JL4)
EBCM Power and Ground, Stop Lamp Switch, and BPMV
Antilock Brake System Schematic Icons
Antilock Brake System Schematic Icons
Antilock Brake System Schematic Icons
Antilock Brake System Schematic Icons
Antilock Brake System Schematic Icons
Antilock Brake System Schematic Icons
Antilock Brake System Schematic Icons
Antilock Brake System Schematic Icons
Antilock Brake System Schematic Icons
Antilock Brake System Schematic Icons
Antilock Brake System Schematic Icons
Antilock Brake System Schematic Icons
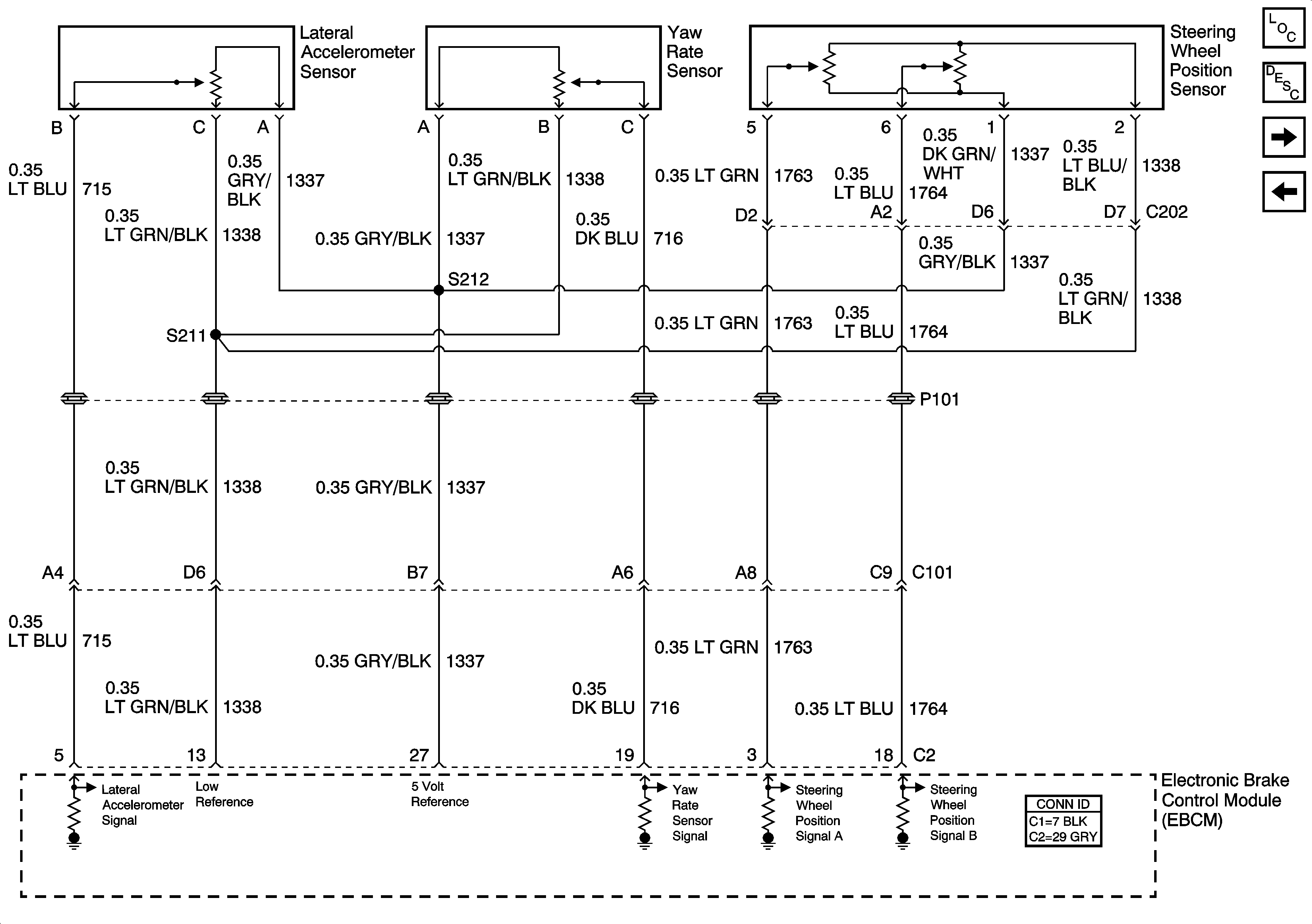
Figure 3:

Vehicle Stability Enhancement System (JL4)


Object Number: 1413925  Size: FS
Master Electrical Component List
ABS Description and Operation
Subsystem References and Serial Data
Wheel Speed Sensors
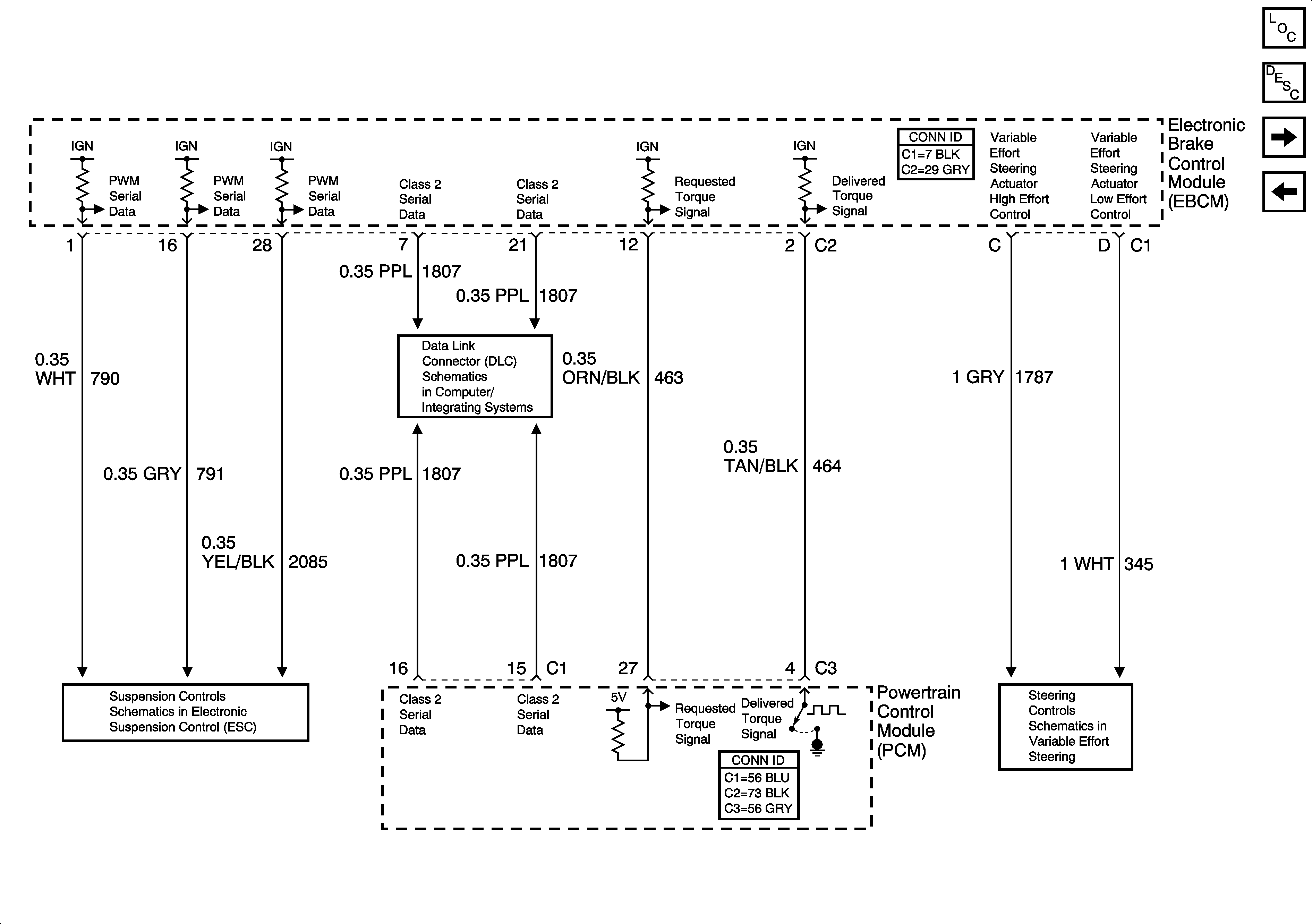
Figure 4:

Suspension Inputs, Class 2, Traction Control, Variable Effort Steering


Object Number: 1413929  Size: FS
Master Electrical Component List
ABS Description and Operation
Indicators and Traction Control Switch
Vehicle Stability Enhancement System (JL4)
ESC Module Power and Ground
Class 2 Serial Data (1 of 3)
Steering Controls Schematics
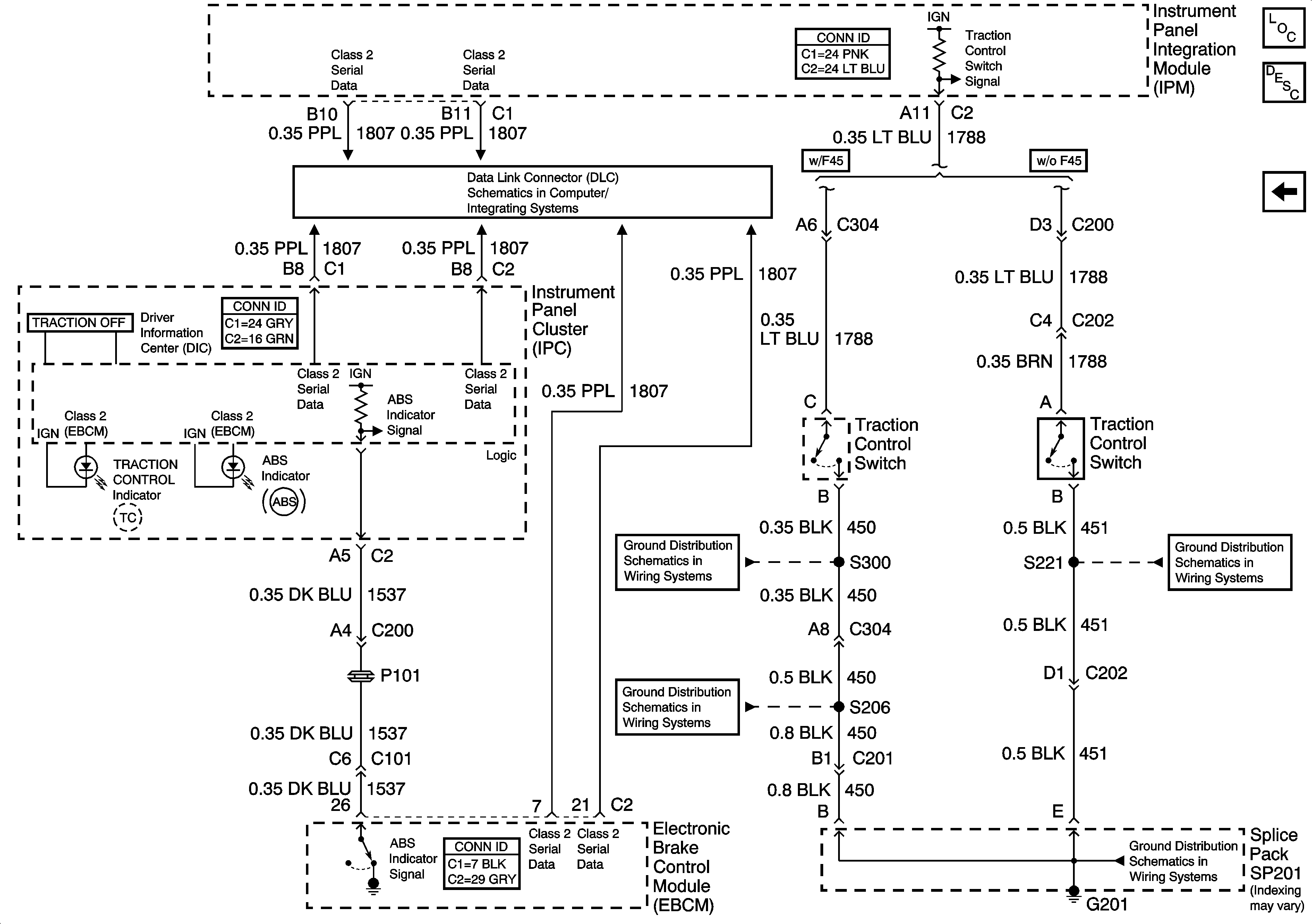
Figure 5:

Indicators and Traction Control Switch


Object Number: 1413932  Size: FS
Master Electrical Component List
ABS Description and Operation
Subsystem References and Serial Data
Class 2 Serial Data (1 of 3)
G201 - 2 of 3
G201 - 2 of 3
G201 - 1 of 3
G201 - 1 of 3