GM Service Manual Online
For 1990-2009 cars only
Makes
🢒
Cadillac
🢒
2005
🢒
DeVille
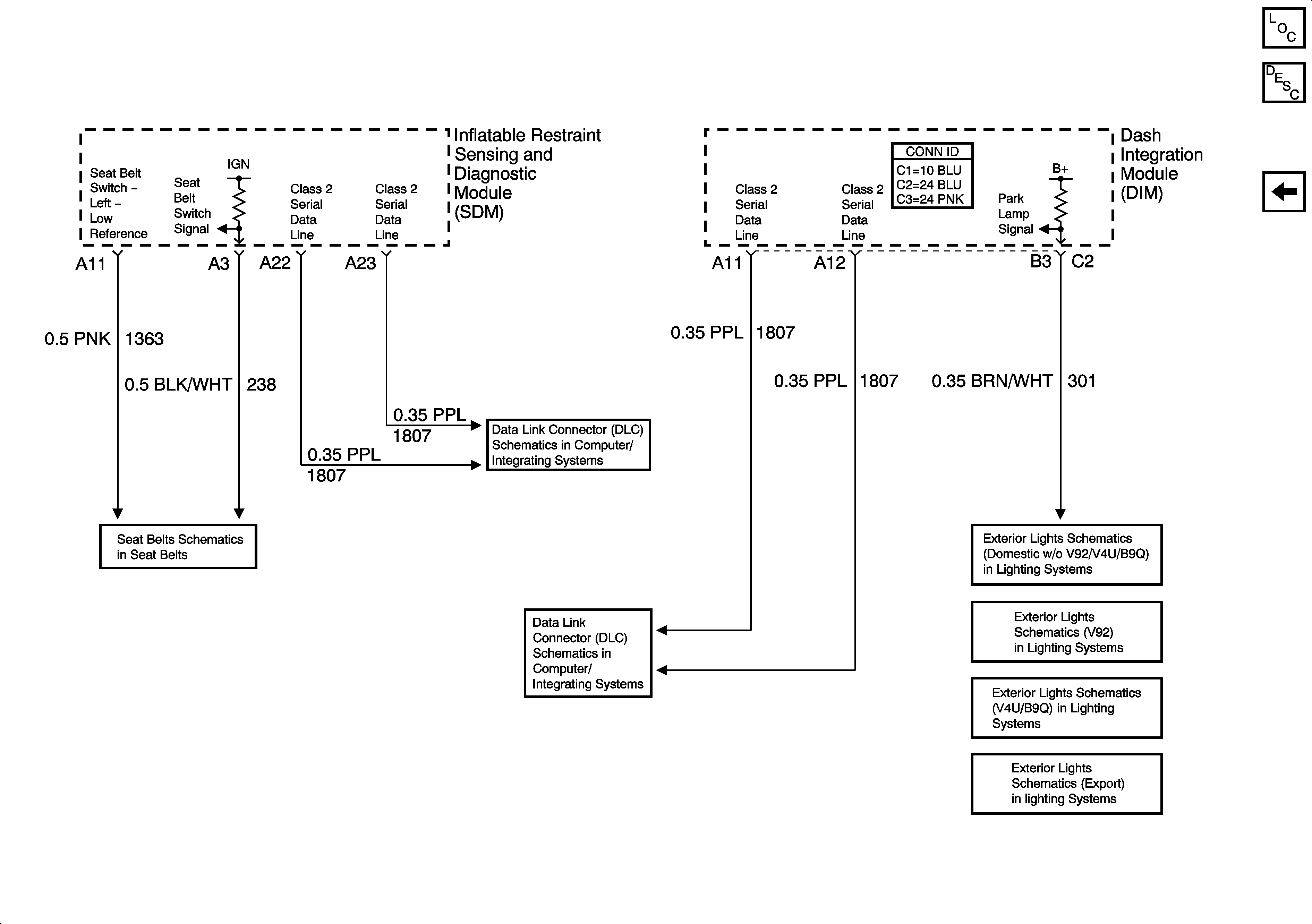
🢒 Seat Belt Switch and Park Lamp Signal
Seat Belt Switch and Park Lamp Signal
Seat Belt Switch Signal and Park Lamp Signal
Master Electrical Component List
Audible Warnings Description and Operation
Radio Output and Key-In-Ignition Signal
Seat Belt schematics
Class 2 Serial Data (2 of 3)
Class 2 Serial Data (1 of 3)
Headlamp Switch and Park Lamp Relay
Headlamp Switch and Park Lamp Relay
Headlamp Switch and Park Lamp Relay
Headlamp Switch and Park Lamp Relay