GM Service Manual Online
For 1990-2009 cars only
Figure 1:

Cell 117: Power, Ground, and Ambient Light Sensor


Object Number: 502107  Size: FS
Lighting Systems Components
Interior Lights Dimming Circuit Description
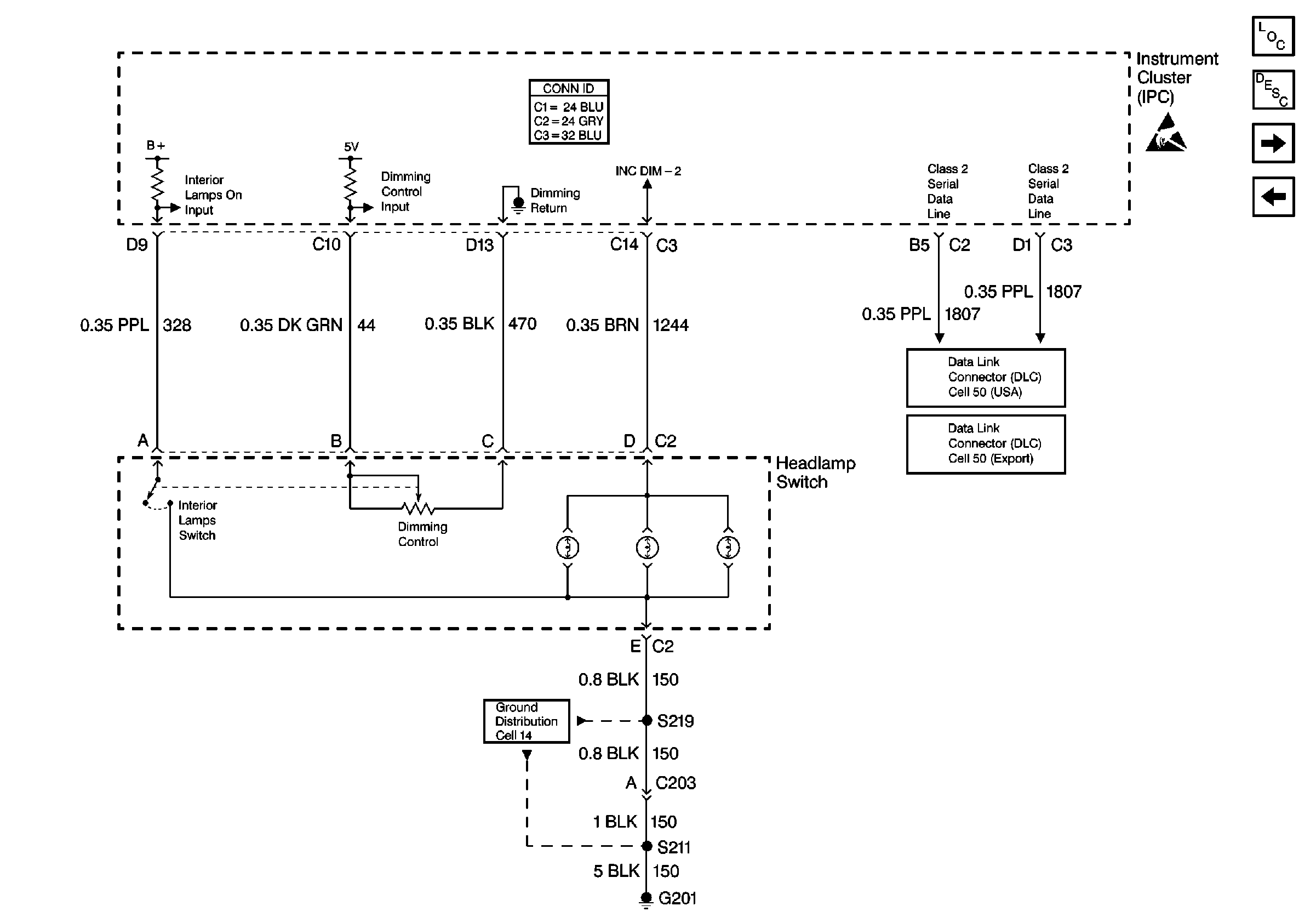
Cell 117: Headlamp Switch
Power Distribution Schematics
Power Distribution Schematics
Power Distribution Schematics
Power Distribution Schematics
Power Distribution Schematics
Ground Distribution Schematics
Power Distribution Schematics
Handling ESD Sensitive Parts Notice
Figure 2:

Cell 117: Headlamp Switch


Object Number: 502110  Size: FS
Lighting Systems Components
Interior Lights Dimming Circuit Description
Cell 117: Front Door Backlighting (Deville)
Cell 117: Power, Ground, and Ambient Light Sensor
Handling ESD Sensitive Parts Notice
Cell 50: Class 2
Cell 50: Class 2 (Export)
Ground Distribution Schematics
Instrument Panel, Gages, and Console Connector End Views
Figure 3:

Cell 117: Front Door Backlighting (Deville)


Object Number: 502111  Size: FS
Lighting Systems Components
Interior Lights Dimming Circuit Description
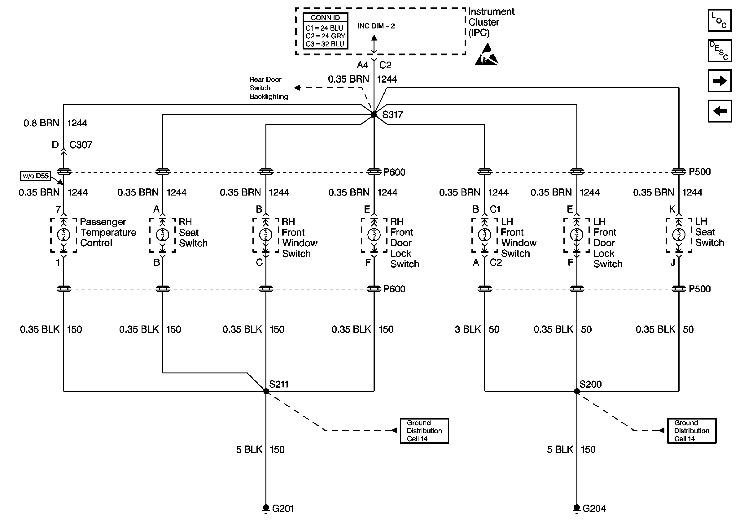
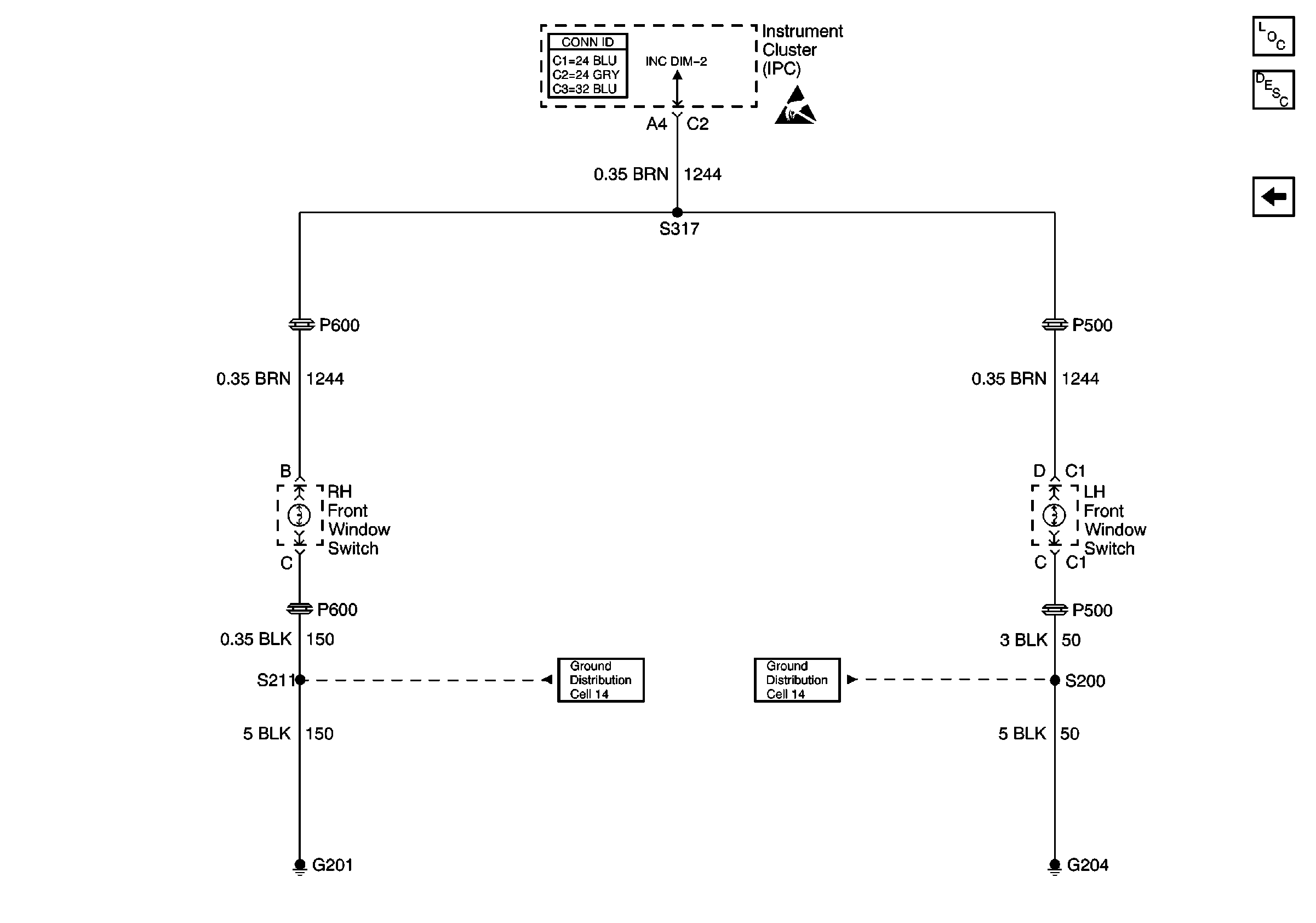
Cell 117: Rear Door Backlighting (Deville)
Cell 117: Headlamp Switch
Cell 117: Rear Door Backlighting (Deville)
Ground Distribution Schematics
Ground Distribution Schematics
Handling ESD Sensitive Parts Notice
Instrument Panel, Gages, and Console Connector End Views
Figure 4:

Cell 117: Rear Door Backlighting (Deville)


Object Number: 502113  Size: FS
Lighting Systems Components
Interior Lights Dimming Circuit Description
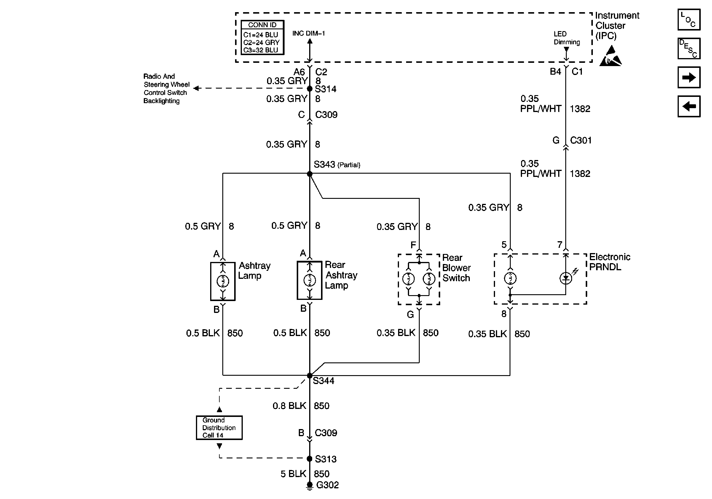
Cell 117: Instrument Panel Backlighting
Cell 117: Front Door Backlighting (Deville)
Cell 117: Front Door Backlighting (Deville)
Ground Distribution Schematics
Handling ESD Sensitive Parts Notice
Instrument Panel, Gages, and Console Connector End Views
Figure 5:

Cell 117: Instrument Panel Backlighting


Object Number: 502114  Size: FS
Lighting Systems Components
Interior Lights Dimming Circuit Description
Cell 117: Console Backlighting
Cell 117: Rear Door Backlighting (Deville)
Handling ESD Sensitive Parts Notice
Cell 117: Console Backlighting
Handling ESD Sensitive Parts Notice
Handling ESD Sensitive Parts Notice
Cell 50: Class 2
Cell 50: Class 2 (Export)
Ground Distribution Schematics
Cell 50: Class 2
Cell 50: Class 2 (Export)
Ground Distribution Schematics
Ground Distribution Schematics
SIR Handling Caution
SIR Handling Caution
Instrument Panel, Gages, and Console Connector End Views
Figure 6:

Cell 117: Console Backlighting


Object Number: 502116  Size: FS
Lighting Systems Components
Interior Lights Dimming Circuit Description
Cell 117: Instrument Panel Backlighting
Handling ESD Sensitive Parts Notice
Ground Distribution Schematics
Cell 117: Instrument Panel Backlighting
Instrument Panel, Gages, and Console Connector End Views
Cell 117: Front Door Backlighting; Eldorado
Figure 7:

Cell 117: Front Door Backlighting; Eldorado


Object Number: 502118  Size: FS
Instrument Panel, Gages, and Console Connector End Views
Ground Distribution Schematics
Ground Distribution Schematics
Handling ESD Sensitive Parts Notice
Lighting Systems Components
Interior Lights Dimming Circuit Description
Cell 117: Console Backlighting