GM Service Manual Online
For 1990-2009 cars only
Makes
🢒
Cadillac
🢒
1998
🢒
Eldorado
🢒
Body and Accessories
🢒
Keyless Entry
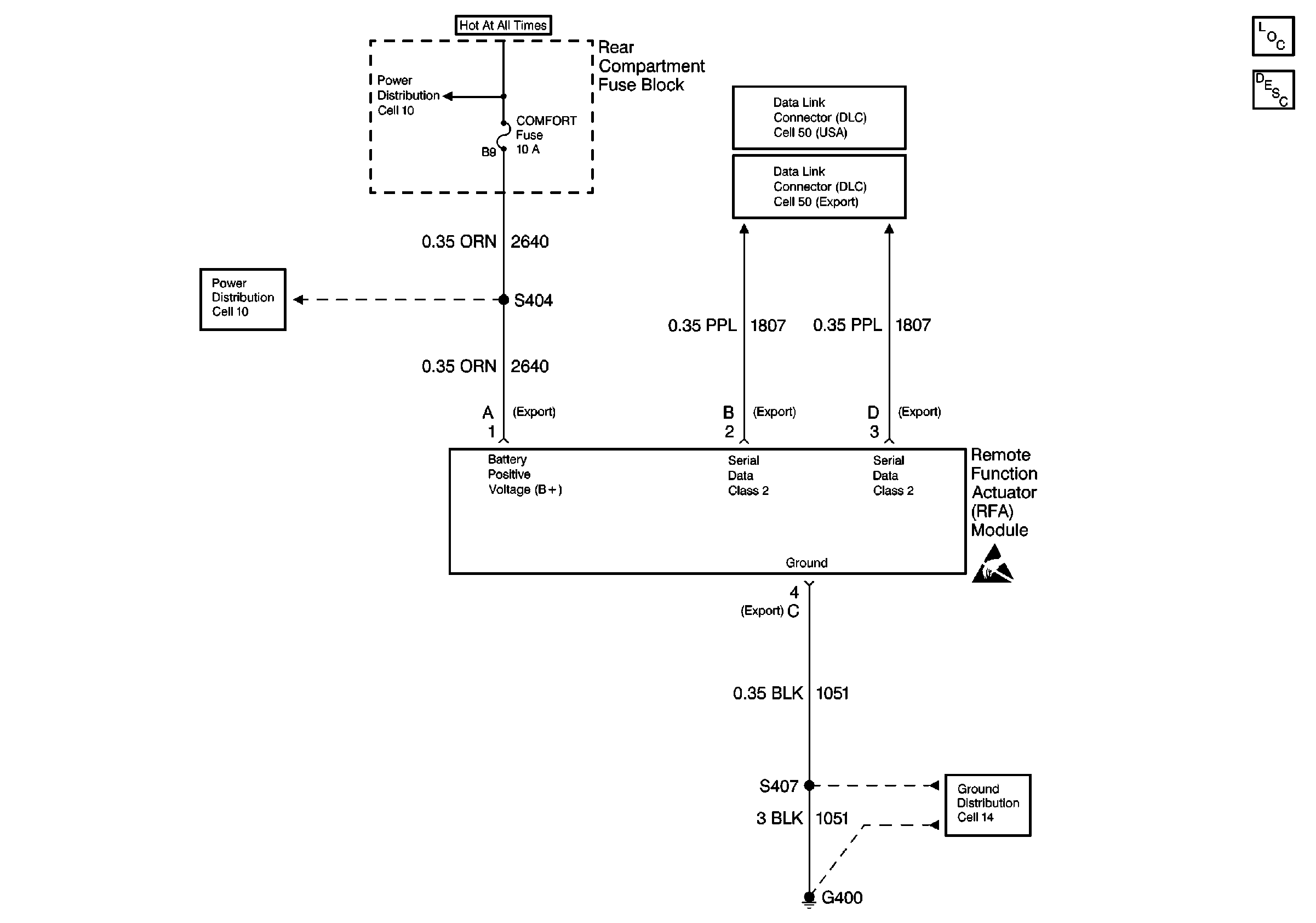
🢒 Keyless Entry Schematics
Cell 132
Keyless Entry Components
Keyless Entry System Circuit Description
Handling ESD Sensitive Parts Notice
Power Distribution Schematics
Ground Distribution Schematics
Data Link Connector Schematics
Data Link Connector Schematics
Power Distribution Schematics