GM Service Manual Online
For 1990-2009 cars only

Cell 140: Left Power Seat Switch (DeVille)


Object Number: 501123  Size: FS
Power Seat Systems Components
Power Seats Circuit Description
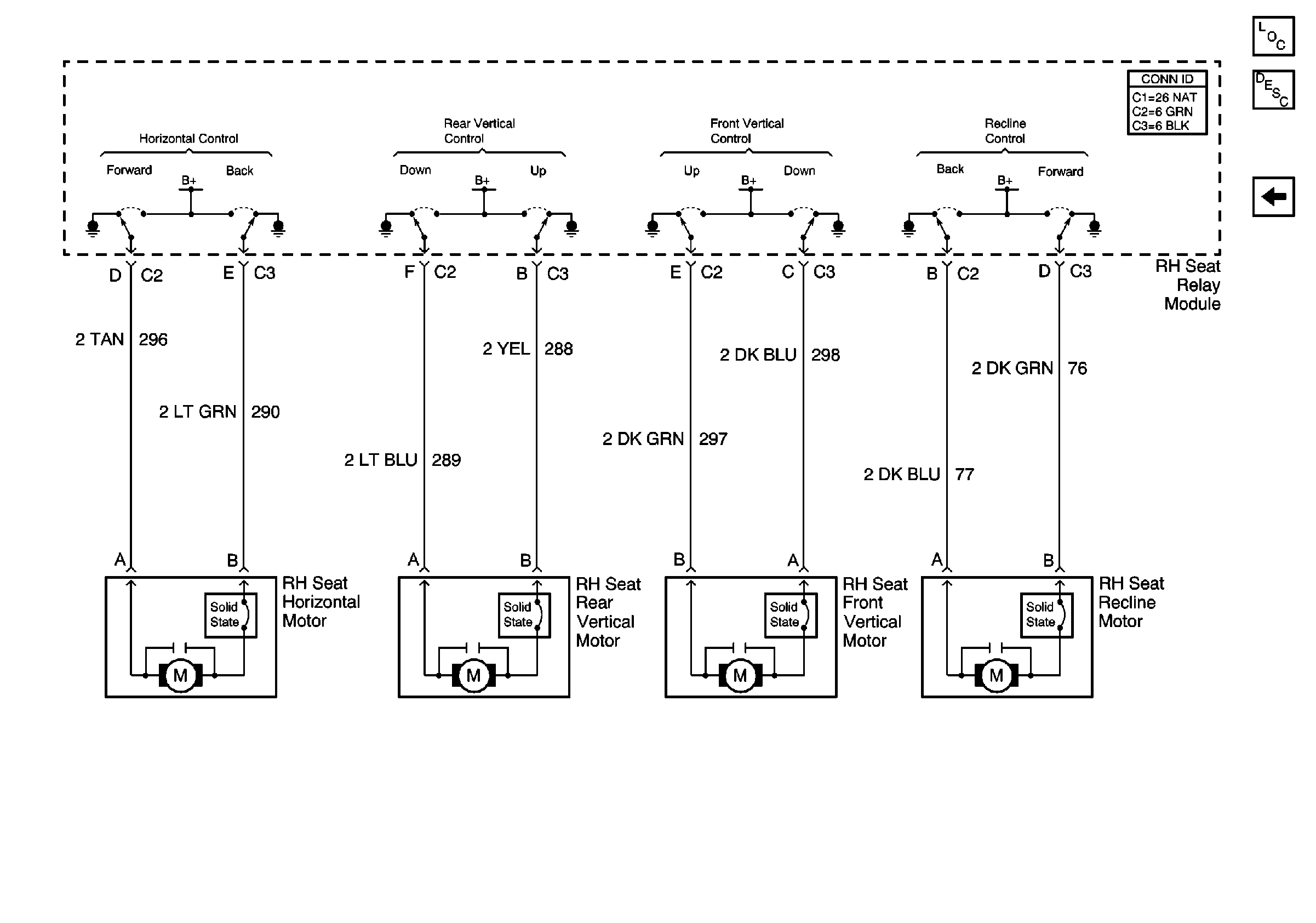
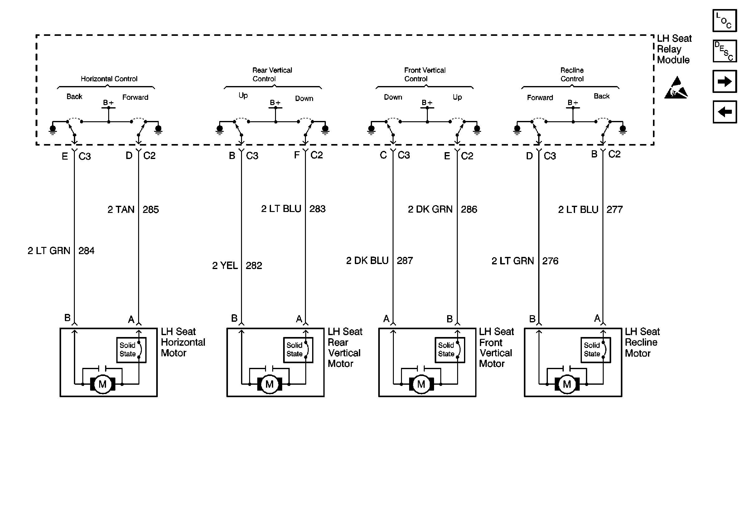
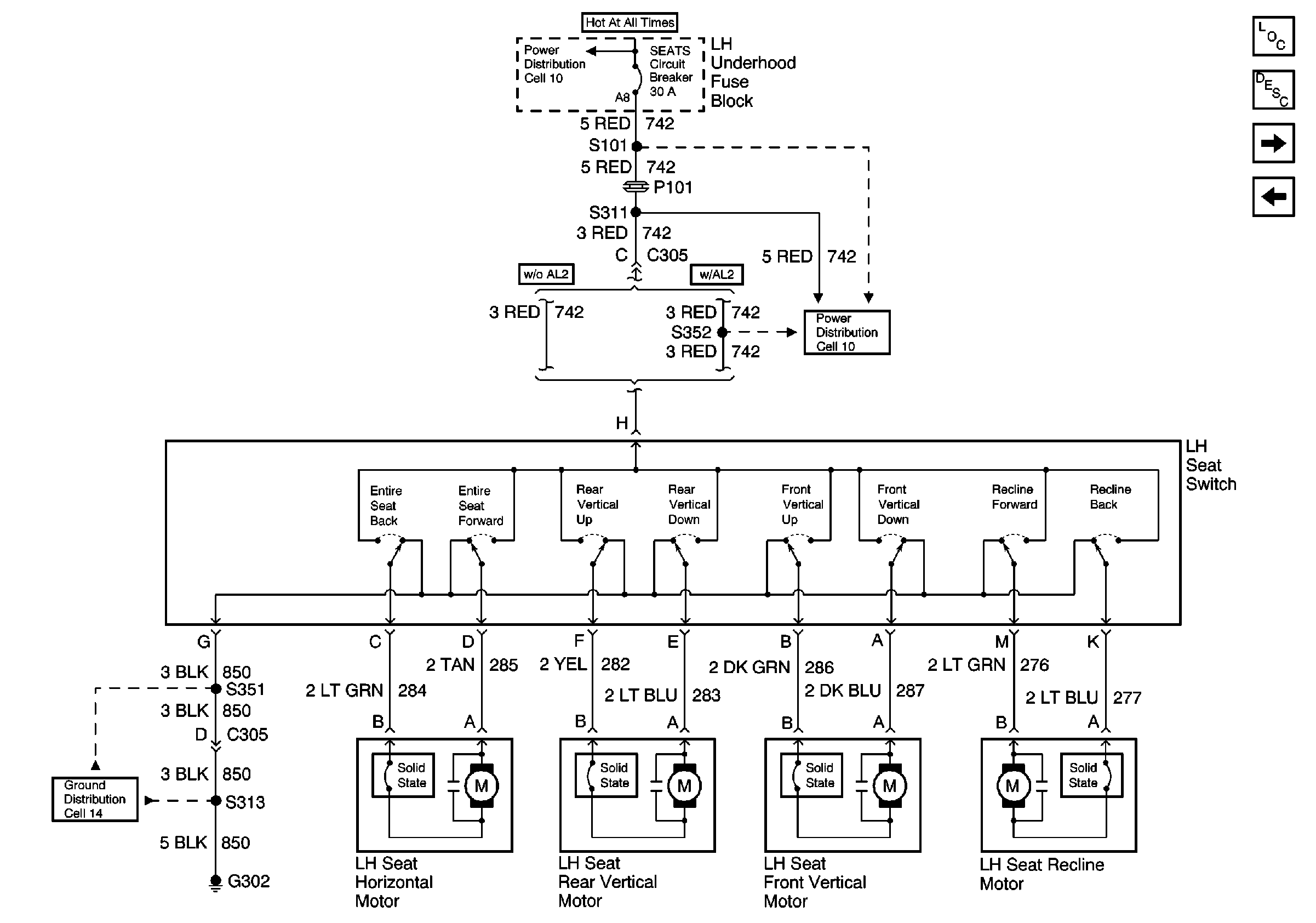
Cell 140: Left Power Seat Motors (DeVille)
Power Distribution Schematics
Power Distribution Schematics
Power Seat Connector End Views
Handling ESD Sensitive Parts Notice
Ground Distribution Schematics
Ground Distribution Schematics

Cell 140: Left Power Seat Motors (DeVille)


Object Number: 501127  Size: FS
Power Seat Systems Components
Power Seats Circuit Description
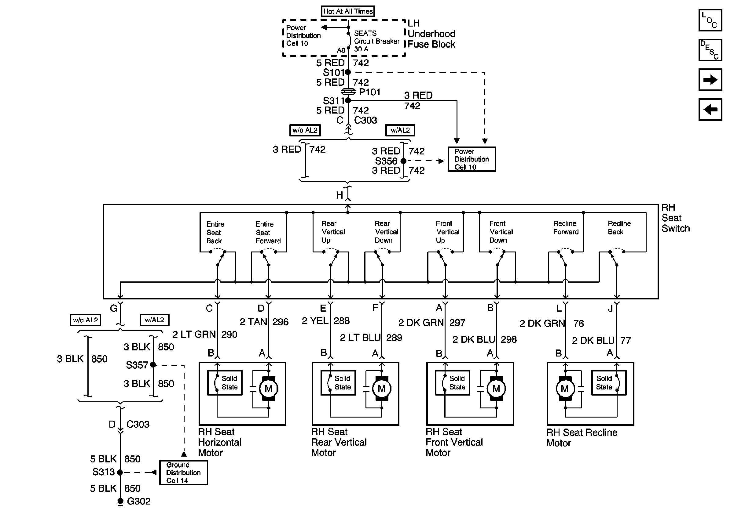
Cell 140: Right Power Seat Switch (DeVille)
Cell 140: Left Power Seat Switch (DeVille)
Handling ESD Sensitive Parts Notice

Cell 140: Right Power Seat Switch (DeVille)


Object Number: 501128  Size: FS
Power Seat Systems Components
Power Seats Circuit Description
Cell 140: Left Power Seat Motors (DeVille)
Cell 140: Left Power Seat Motors (DeVille)
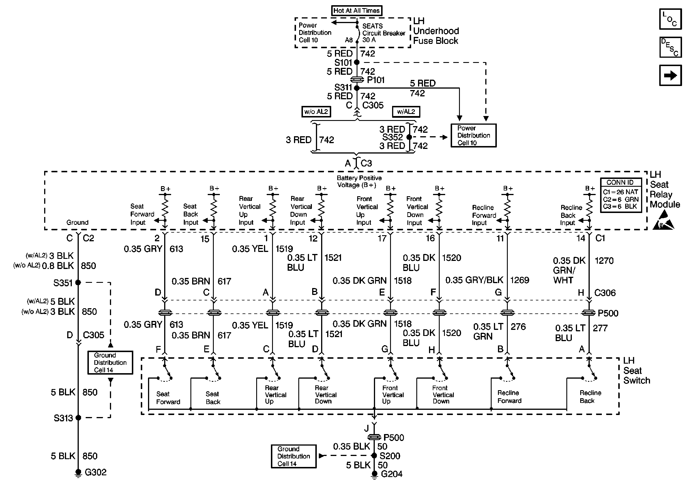
Power Distribution Schematics
Power Distribution Schematics
Power Seat Connector End Views
Handling ESD Sensitive Parts Notice
Ground Distribution Schematics
Ground Distribution Schematics
Ground Distribution Schematics

Cell 140: Left Power Seat (Eldorado)


Object Number: 501135  Size: FS
Power Seat Systems Components
Power Seats Circuit Description
Cell 140: Right Power Seat (Eldorado)
Power Distribution Schematics
Power Distribution Schematics
Ground Distribution Schematics
Cell 140: Right Power Seat Switch (DeVille)

Cell 140: Right Power Seat (Eldorado)


Object Number: 501137  Size: FS
Power Seat Systems Components
Power Seats Circuit Description
Cell 140: Left Power Seat (Eldorado)
Power Distribution Schematics
Power Distribution Schematics
Ground Distribution Schematics
Cell 140: Right Power Seat Motors (Eldorado)

Cell 140: Right Power Seat Motors (Eldorado)


Object Number: 501129  Size: FS
Power Seat Systems Components
Power Seats Circuit Description
Power Seat Connector End Views
Cell 140: Right Power Seat (Eldorado)