GM Service Manual Online
For 1990-2009 cars only

Cell 141: Left Seat Switch with A45 (DeVille)


Object Number: 501131  Size: FS
Power Seat Systems Components
Memory Seat Circuit Description
Cell 141: Left Seat Switch with A45 (Eldorado)
Power Seat Connector End Views
Handling ESD Sensitive Parts Notice
Data Link Connector Schematics
Ground Distribution Schematics

Cell 141: Left Seat Switch with A45 (Eldorado)


Object Number: 501139  Size: FS
Power Seat Systems Components
Memory Seat Circuit Description
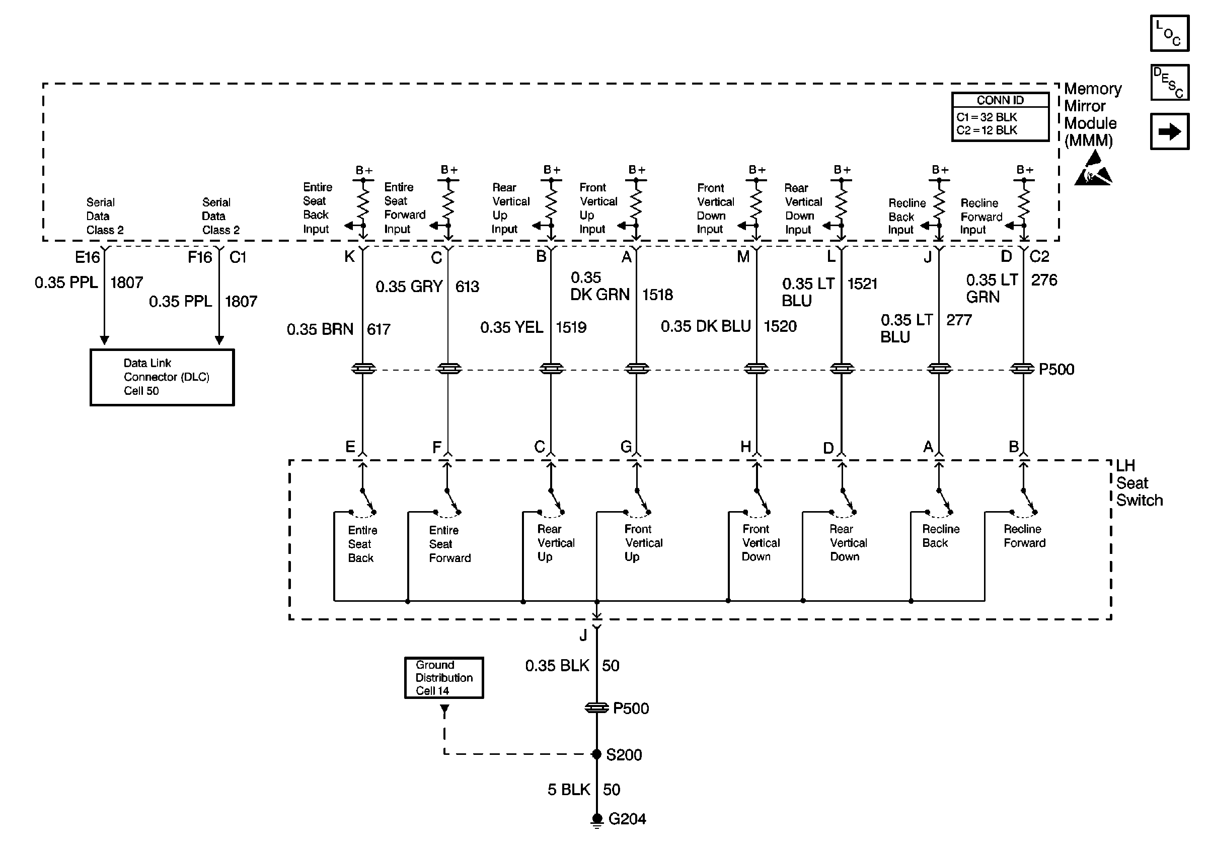
Cell 141: Power Seat, Memory
Cell 141: Left Seat Switch with A45 (DeVille)
Power Seat Connector End Views
Handling ESD Sensitive Parts Notice
Ground Distribution Schematics

Cell 141: Power Seat, Memory


Object Number: 501141  Size: FS
Power Seat Systems Components
Memory Seat Circuit Description
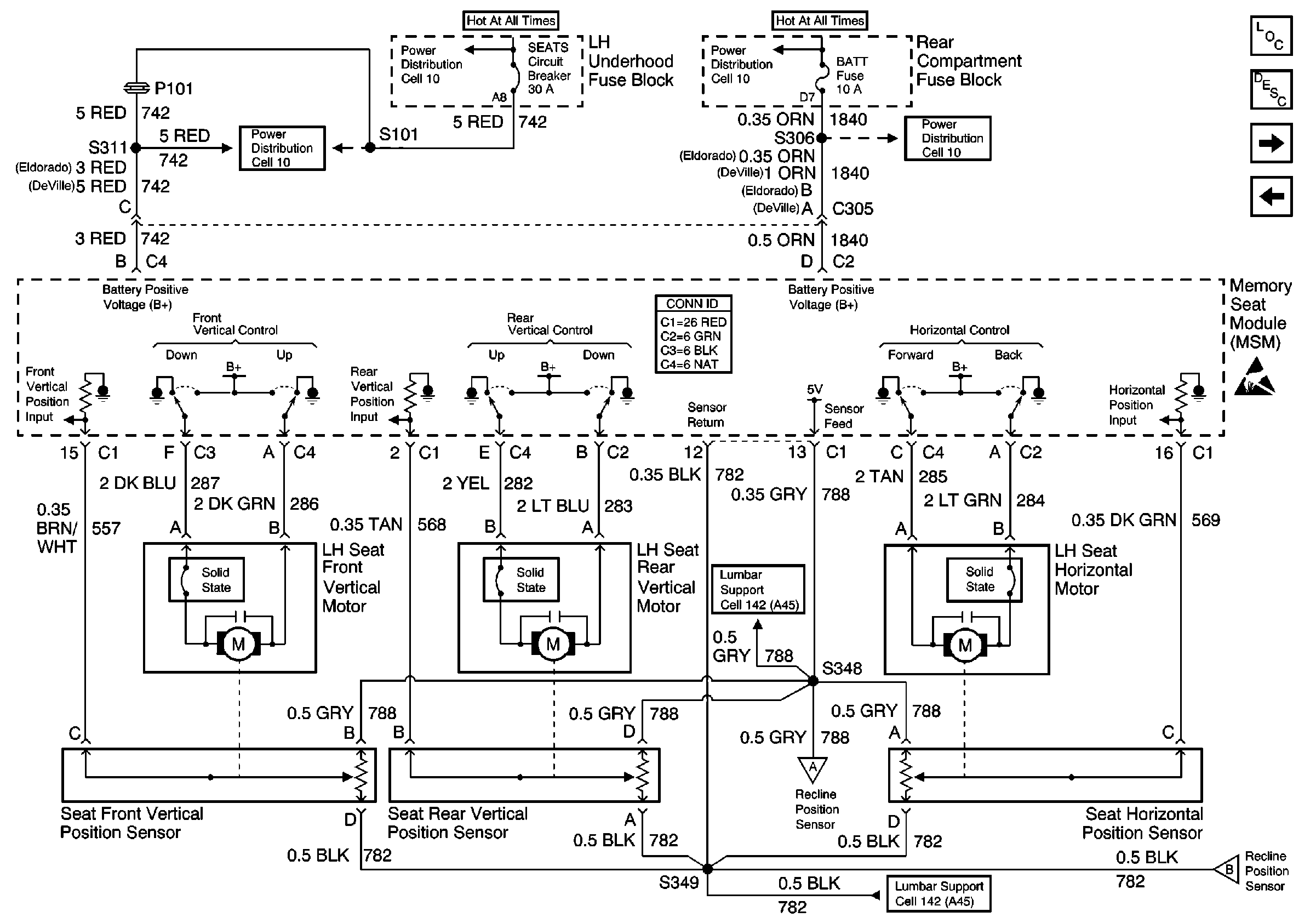
Cell 141: Memory Seat Module, Left Recline Motor
Cell 141: Left Seat Switch with A45 (Eldorado)
Power Distribution Schematics
Power Distribution Schematics
Cell 141: Memory Seat Module, Left Recline Motor
Cell 141: Memory Seat Module, Left Recline Motor
Handling ESD Sensitive Parts Notice
Power Distribution Schematics
Power Distribution Schematics
Power Seat Connector End Views

Cell 141: Memory Seat Module, Left Recline Motor


Object Number: 501144  Size: FS
Power Seat Systems Components
Memory Seat Circuit Description
Cell 141: Power Seat, Memory
Data Link Connector Schematics
Power Seat Connector End Views
Handling ESD Sensitive Parts Notice
Ground Distribution Schematics
Cell 141: Power Seat, Memory
Cell 141: Power Seat, Memory