GM Service Manual Online
For 1990-2009 cars only

Object Number: 501313  Size: MF
Entertainment Components
Entertainment Schematic References
Handling ESD Sensitive Parts Notice
Power Distribution Schematics
Ground Distribution Schematics

Circuit Description

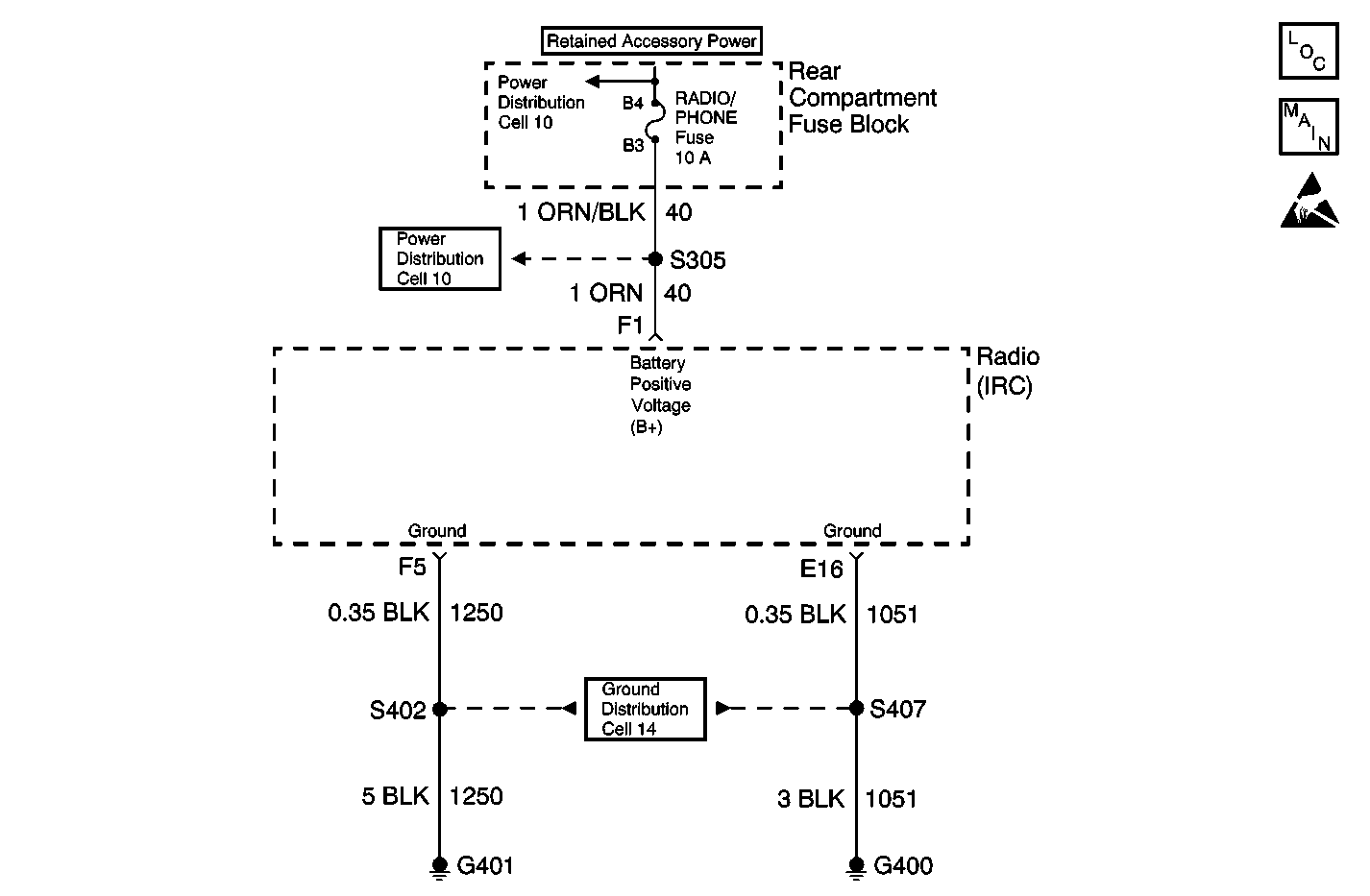
The battery voltage is supplied to the radio (IRC) at terminal F1. The radio uses this power feed in order to perform all of the radio's functions. The radio measures the battery voltage at terminal F1 every 300 ms.

Conditions for Setting the DTC

The battery voltage measured at terminal F1 is less than 9 volts for 4 consecutive monitoring cycles.

Action Taken When the DTC Sets

When DTC B1982 is current, class 2 loss of serial data communication DTCs do not set.

Conditions for Clearing the DTC

The battery voltage is more than 9 volts in the next monitoring cycle.

Diagnostic Aids

DTC B1982 may set if the vehicle is connected to a battery charger set to FAST or BOOST charge.

Test Description

The numbers below refer to the step numbers on the diagnostic table:

  1. This step checks the charging system output.

Step

Action

Value(s)

Yes

No

1

Did you perform the Radio/Audio System Diagnostic System Check?

--

Go to Step  2

Go to Diagnostic System Check - Radio/Audio System

2

  1. Turn the ignition switch to ON.
  2. Use a scan tool in order to monitor the radio battery voltage display.

Does the scan tool indicate that the voltage is below the specified value?

9 V

Go to Charging System Check in Engine Electrical.

Go to Step  3

3

Replace the radio. Refer to one of the flowing:

    •  Radio Replacement
    •  Radio Replacement

Is the repair complete?

--

Go to Diagnostic System Check - Radio/Audio System

--