GM Service Manual Online
For 1990-2009 cars only

Object Number: 501452  Size: MF
Power Seat Systems Components
Memory Seats Schematics
Handling ESD Sensitive Parts Notice
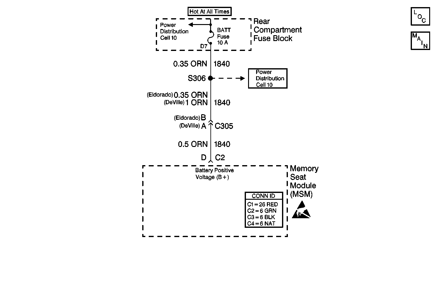
Power Distribution Schematics
Power Distribution Schematics
Power Seat Connector End Views

Circuit Description

Battery positive voltage (B+) is supplied to the memory seat module (MSM) via CKT 1840 (ORN). The MSM monitors this voltage in order to determine if the voltage is within a valid operating range.

Conditions for Setting the DTC

The battery positive voltage (B+) level falls below 9 volts for approximately 1.2 seconds or more.

Action Taken When the DTC Sets

    • The MSM stores DTC B1983 in memory.
    • The MSM will not respond to any manual or memory inputs when the voltage is less than 9 volts.
    • No driver warning message will be displayed for this DTC.
    • The MSM switch failure and position sensor failure DTCs will not set while DTC B1983 is current.

Conditions for Clearing the DTC

    • The battery positive voltage (B+) level rises above 9.5 volts for approximately 1.2 seconds.
    • Use the on-boards clearing DTCs feature.
    • Use a scan tool.

Diagnostic Aids

The MSM will not check for low battery positive voltage (B+) during and for 2 seconds following the engine CRANK mode. This ensures that DTC B1983 will not erroneously set.

Test Description

The numbers below refer to the step numbers on the diagnostic table:

  1. Perform the entire Power Seat Systems Diagnostic System Check before continuing with the diagnosis of this DTC.

  2. This step checks that DTC was not set erroneously.

  3. This step determines whether the malfunction is in the charging system or the Memory Seat Module (MSM).

  4. Clear all DTCs after the repair procedure is complete.

Step

Action

Value(s)

Yes

No

1

Was the entire Power Seat Systems Diagnostic System Check performed?

--

Go to Step  2

Go to Diagnostic System Check - Power Seat Systems

2

  1. Turn the ignition switch to the ON position.
  2. Connect a scan tool to the Data Link Connector (DLC).
  3. Select SNAPSHOT from the memory seat module (MSM) APPLICATION MENU.
  4. Trigger the snapshot.
  5. Start the engine.
  6. Turn off the engine.
  7. Turn the ignition switch to the ON position.
  8. Plot the data from the snapshot.

Is the battery positive voltage (B+) level greater than the specified value?

9 V

Go to Step  4

Go to Step 3

3

  1. Turn the ignition switch to the ON position.
  2. Disconnect the memory seat module (MSM) connector C2.
  3. Connect a J 39200 digital multimeter (DMM) from the MSM connector C2 cavity D (ORN) to ground.

Is the voltage less than the specified value?

9 V

Go to Charging System Check in Engine Electrical

Go to Step 4

4

Replace the Memory Seat Module (MSM). Refer to Memory Seat Control Module Replacement .

Is the MSM replacement complete?

--

Go to Step 5

--

5

  1. Turn the ignition switch to the OFF position.
  2. Reconnect or install any connectors or components that were disconnected or removed.
  3. Turn the ignition switch to the ON position.
  4. Clear any DTCs. Refer to Diagnostic Trouble Code (DTC) Clearing .

Is the action complete?

--

Go to Diagnostic System Check - Power Seat Systems

--