GM Service Manual Online
For 1990-2009 cars only

DTC B2104 Rear Vertical Up Switch Failed Eldorado


Object Number: 501160  Size: MF
Power Seat Systems Components
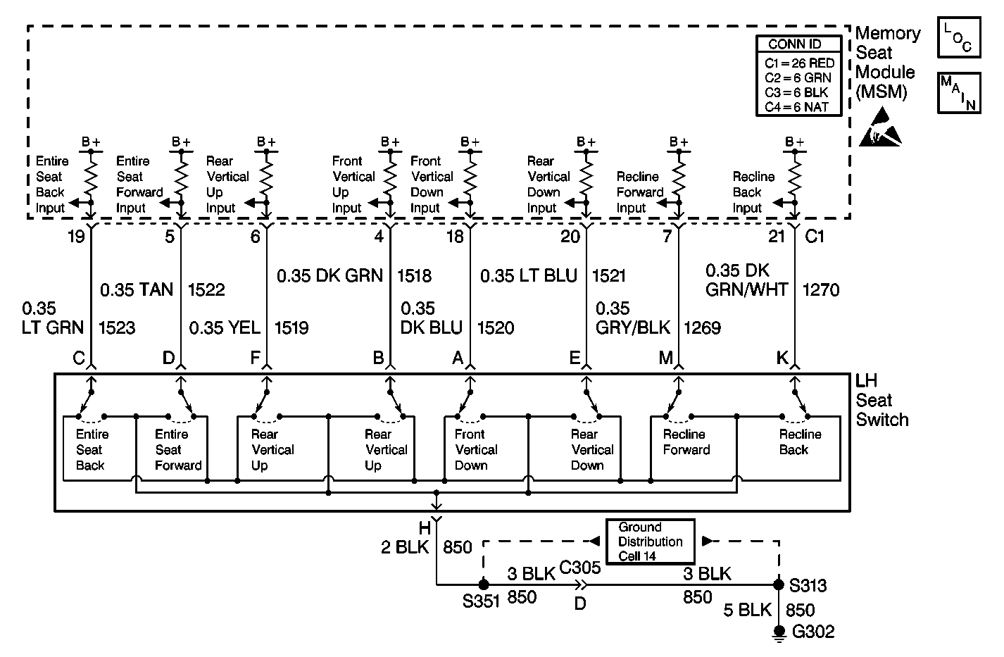
Memory Seats Schematics
Handling ESD Sensitive Parts Notice
Power Seat Connector End Views
Ground Distribution Schematics

Circuit Description

The memory seat module (MSM) receives an input from the left seat switch rear vertical switch when the switch is actuated. When the rear vertical switch is operated in the up direction, battery positive voltage (B+) is supplied to the MSM rear vertical up input via CKT 1519 (YEL). The MSM recognizes the input and tilts the rear of the seat in the up direction.

Conditions for Setting the DTC

    •  When the rear vertical up switch is active for 30 seconds after motion has ceased, the switch is considered shorted and the DTC sets.
    •  If the rear vertical position sensor DTC B2116 is current and the rear vertical up switch is active for 30 seconds, the switch is considered shorted and the DTC sets.
    • DTC B2104 sets only if DTC B1982 MSM or DTC B1983 MSM is not current.

Action Taken When the DTC Sets

    • The MSM does not tilt the rear of the seat in the up direction.
    • The MSM continues responding to valid inputs from the other manual switches.
    • All memory recall function commands are ignored for all directions.

Conditions for Clearing the DTC

    • The MSM sees that the rear vertical up switch is no longer active.
    • Use the on-boards clearing DTCs feature.
    • Use a scan tool.

Test Description

The numbers below refer to the step numbers on the diagnostic table:

  1. Perform the entire Power Seat Systems Diagnostic System Check before continuing with the diagnosis of this DTC.

  2. This step determines if a switch is stuck or if a short to battery positive voltage (B+) exists in the wiring input to the memory seat module (MSM). DTC B2104 will set again if a short in the wiring exists or if an internal MSM condition exists. DTC B2104 will not set again if a switch is stuck because the switch has been disconnected from the memory seat module (MSM) input.

  3. This step determines if a short to battery positive voltage (B+) exists in the input wiring to the MSM.

  4. Clear all DTCs after the repair procedure is complete.

Step

Action

Value(s)

Yes

No

1

Was the entire Power Seat Systems Diagnostic System Check performed?

--

Go to Step  2

Go to Diagnostic System Check - Power Seat Systems

2

  1. Turn the ignition switch to the ON position.
  2. Connect a scan tool to the data link connector (DLC).
  3. Disconnect the left seat switch connector.
  4. Using the scan tool, clear all DTCs. Refer to Diagnostic Trouble Code (DTC) Clearing .

After 30 seconds, does DTC B2104 reset?

--

Go to Step 3

Go to Step 5

3

  1. Disconnect the memory seat module (MSM) connector C1.
  2. Connect a J 39200 digital multimeter (DMM) from the MSM connector C1 cavity 6 (YEL) to ground.

Is the voltage within the specified range?

10-15 V

Go to Step 6

Go to Step 4

4

Replace the memory seat module (MSM). Refer to Memory Seat Control Module Replacement .

Is the MSM replacement complete?

--

Go to Step 7

--

5

Replace the left seat switch. Refer to Power Seat Switch Replacement .

Is the seat switch replacement complete?

--

Go to Step 7

--

6

Repair the short to battery positive voltage (B+) in CKT 1519 (YEL). Refer to Wiring Repairs in Wiring Systems.

Is the circuit repair complete?

--

Go to Step 7

--

7

  1. Turn the ignition switch to the OFF position.
  2. Reconnect or install any connectors or components that were disconnected or removed.
  3. Turn the ignition switch to the ON position.
  4. Clear any DTCs. Refer to Diagnostic Trouble Code (DTC) Clearing .

Is the action complete?

--

Go to Diagnostic System Check - Power Seat Systems

--

DTC B2104 Rear Vertical Up Switch Failed DeVille


Object Number: 501161  Size: MF
Power Seat Systems Components
Memory Seats Schematics
Power Seat Connector End Views
Handling ESD Sensitive Parts Notice
Ground Distribution Schematics

Circuit Description

The memory seat module (MSM) receives an input from the left seat switch rear vertical switch when the switch is actuated. When the rear vertical switch is operated in the up direction, battery positive voltage (B+) is supplied to the MSM rear vertical up input via CKT 1519 (YEL). The MSM recognizes the input and tilts the rear of the seat in the up direction.

Conditions for Setting the DTC

    •  When the rear vertical up switch is active for 30 seconds after motion has ceased, the switch is considered shorted and the DTC sets.
    •  If the rear vertical position sensor DTC B2116 is current and the rear vertical up switch is active for 30 seconds, the switch is considered shorted and the DTC sets.
    • DTC B2104 sets only if DTC B1982 MSM or DTC B1983 MSM is not current.

Action Taken When the DTC Sets

    • The MSM does not tilt the rear of the seat in the up direction.
    • The MSM continues responding to valid inputs from the other manual switches.
    • All memory recall function commands are ignored for all directions.

Conditions for Clearing the DTC

    • The MSM sees that the rear vertical up switch is no longer active.
    • Use the on-boards clearing DTCs feature.
    • Use a scan tool.

Test Description

The numbers below refer to the step numbers on the diagnostic table:

  1. Perform the entire Power Seat Systems Diagnostic System Check before continuing with the diagnosis of this DTC.

  2. This step determines if a switch is stuck or a short to battery positive voltage (B+) exists in the wiring input to the memory seat module (MSM). DTC B2104 will set again if a short in the wiring exists or if an internal MSM condition exists. DTC B2104 will not set again if a switch is stuck because the switch has been disconnected from the MSM input.

  3. This step determines if a short to battery positive voltage (B+) exists in the input wiring to the MSM.

  4. Clear all DTCs after the repair procedure is complete.

Step

Action

Value(s)

Yes

No

1

Was the entire Power Seat Systems Diagnostic System Check performed?

--

Go to Step 2

Go to Diagnostic System Check - Power Seat Systems

2

  1. Turn the ignition switch to the ON position.
  2. Connect a scan tool to the data link connector (DLC).
  3. Disconnect the left seat switch connector.
  4. Using the scan tool, clear all DTCs. Refer to Diagnostic Trouble Code (DTC) Clearing .

After 30 seconds, does DTC B2104 reset?

--

Go to Step 3

Go to Step 5

3

  1. Disconnect the memory seat module (MSM) connector C2.
  2. Connect a J 39200 digital multimeter (DMM) from the MSM connector C2 cavity B (YEL) to ground.

Is the voltage within the specified range?

10-15 V

Go to Step 6

Go to Step 4

4

Replace the memory seat module (MSM). Refer to Memory Seat Control Module Replacement .

Is the MSM replacement complete?

--

Go to Step 7

--

5

Replace the left seat switch. Refer to Power Seat Switch Replacement .

Is the seat switch replacement complete?

--

Go to Step 7

--

6

Repair the short to battery positive voltage (B+) in CKT 1519 (YEL). Refer to Wiring Repairs in Wiring Systems.

Is the circuit repair complete?

--

Go to Step 7

--

7

  1. Turn the ignition switch to the OFF position.
  2. Reconnect or install any connectors or components that were disconnected or removed.
  3. Turn the ignition switch to the ON position.
  4. Clear any DTCs. Refer to Diagnostic Trouble Code (DTC) Clearing .

Is the action complete?

--

Go to Diagnostic System Check - Power Seat Systems

--