GM Service Manual Online
For 1990-2009 cars only
Makes
🢒
Cadillac
🢒
2000
🢒
Eldorado
🢒
Suspension
🢒
Automatic Level Control
🢒 Automatic Level Control Schematics
Figure
1:
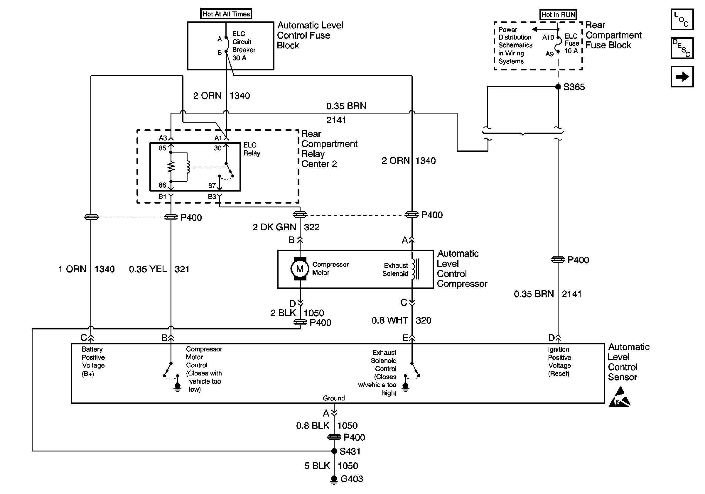
Automatic Level Control (Without F45)
Automatic Level Control Suspension Components
Automatic Level Control - Compressor (With F45)
Automatic Level Control General Description
Handling ESD Sensitive Parts Notice
ELC Fuse and Circuit Breaker
Figure
2:
Automatic Level Control -- Compressor (With F45)
Automatic Level Control Suspension Components
Automatic Level Control General Description
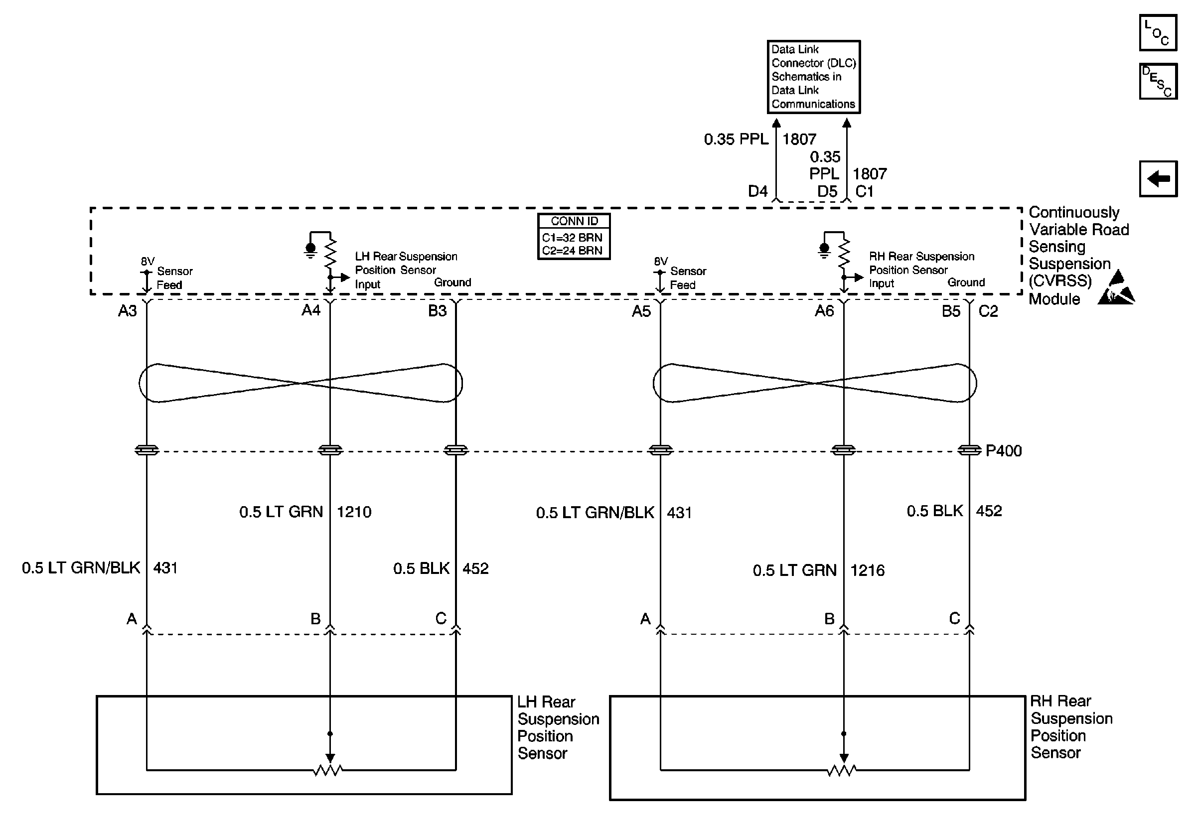
Automatic Level Control - Rear Sensors (With F45)
Automatic Level Control (Without F45)
Handling ESD Sensitive Parts Notice
Handling ESD Sensitive Parts Notice
IGN 0 BODY Fuse
IGN 0 BODY Fuse
ELC Fuse and Circuit Breaker
RSS, PZM, and AMP Fuses
Figure
3:
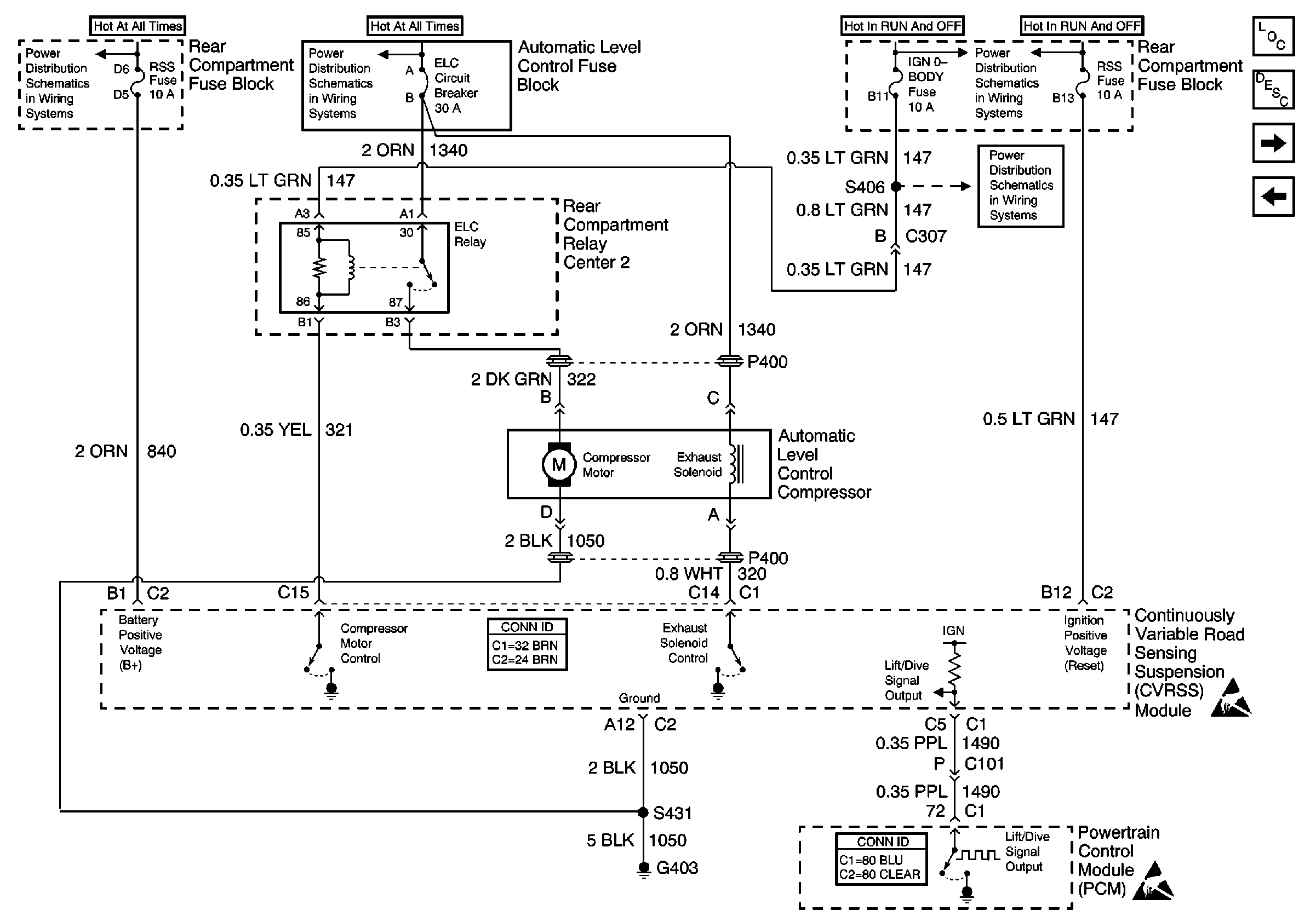
Automatic Level Control -- Rear Sensors (With F45)
Automatic Level Control Suspension Components
Automatic Level Control General Description
Automatic Level Control - Compressor (With F45)
Handling ESD Sensitive Parts Notice
Power, Ground, and Class 2 (1 of 2)