GM Service Manual Online
For 1990-2009 cars only
Makes
🢒
Cadillac
🢒
2000
🢒
Eldorado
🢒 Heated Mirrors
Heated Mirrors
Heated Mirrors
Power Door Systems Components
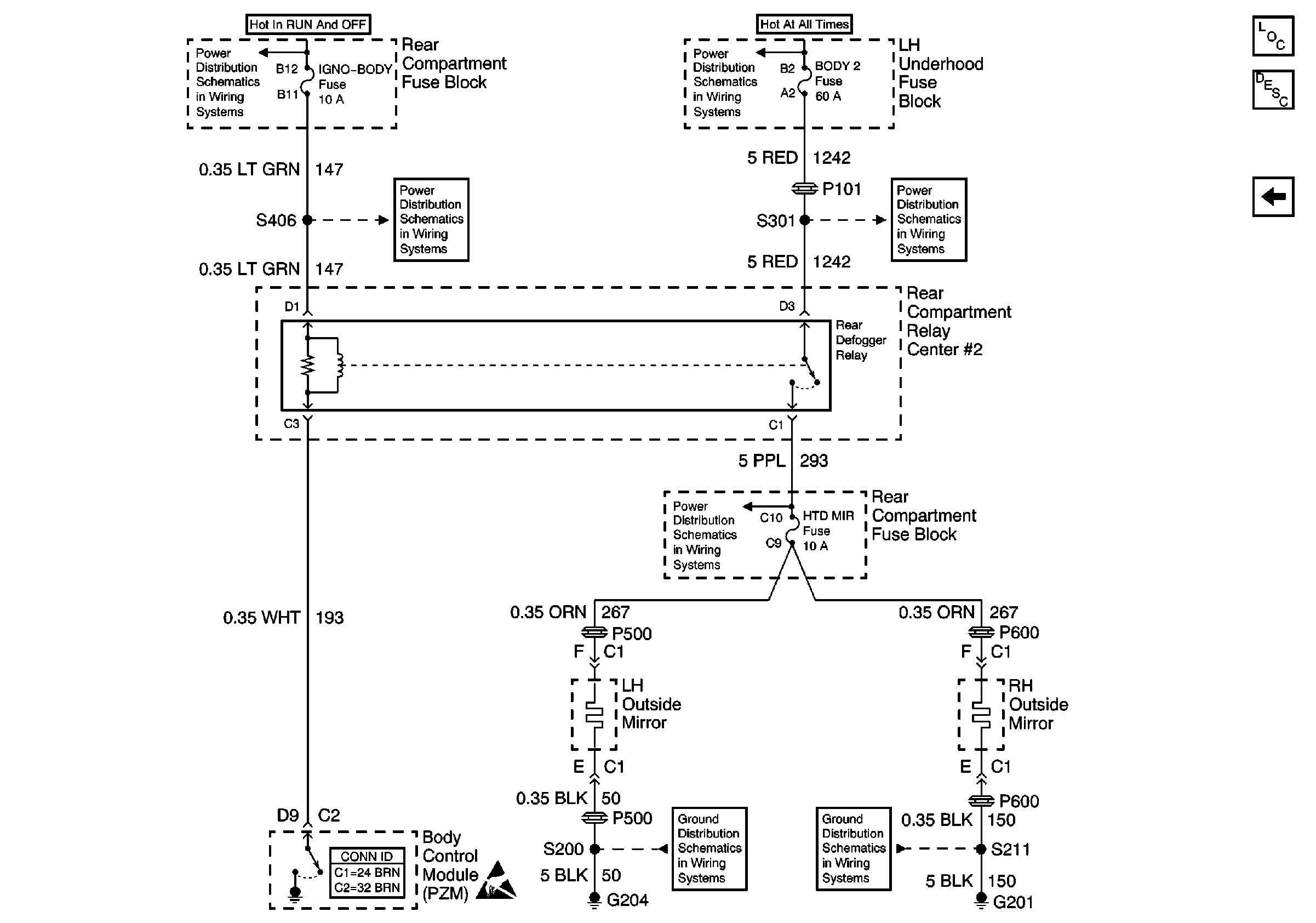
Outside Mirrors Circuit Description
Outside Power Mirrors (W/A45)
IGN 0 BODY Fuse
BODY 2 Fuse
IGN 0 BODY Fuse
BODY 2 Fuse
ANTENNA, RSS, HTD MIR, and HTD BACKLT Fuses
Body Control System Connector End Views
Handling ESD Sensitive Parts Notice
G204
G201