GM Service Manual Online
For 1990-2009 cars only
Makes
🢒
Cadillac
🢒
2001
🢒
Eldorado
🢒
Body and Accessories
🢒
Cruise Control
🢒 Cruise Control Schematics
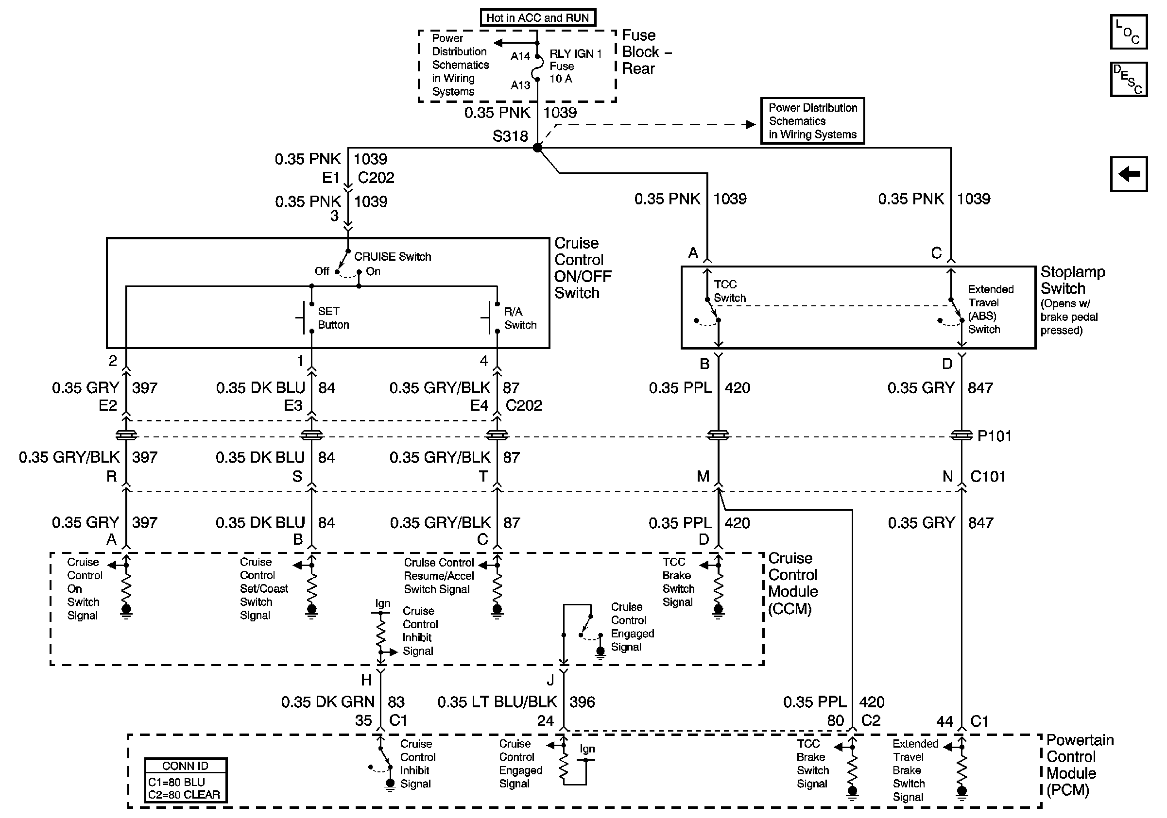
Figure
1:
Cruise Control Module
Master Electrical Component List
Cruise Control Multifunction Lever
G102
Power, Ground, Stoplamp Switch, Solenoid Valves, and Pump Motor
Turn Signal Flasher, Hazard Flasher, and Stoplamp/AT Shift Lock Control Switch
CRUISE, DIS, and PCM (IGN) Fuses
LAMPS and IGN 1 Fuses
Gauges and MIL
Figure
2:
Cruise Control Multifunction Lever
Master Electrical Component List
Cruise Control Module
LAMPS and IGN 1 Fuses
RLY IGN 1 Fuse