GM Service Manual Online
For 1990-2009 cars only
Figure 1:

Battery Feeds


Object Number: 673345  Size: FS
Master Electrical Component List
BATT 3 and Ignition Switch (1 of 2)
G100 and G105
Figure 2:

BATT 3 and Ignition Switch (1 of 2)


Object Number: 736286  Size: FS
Master Electrical Component List
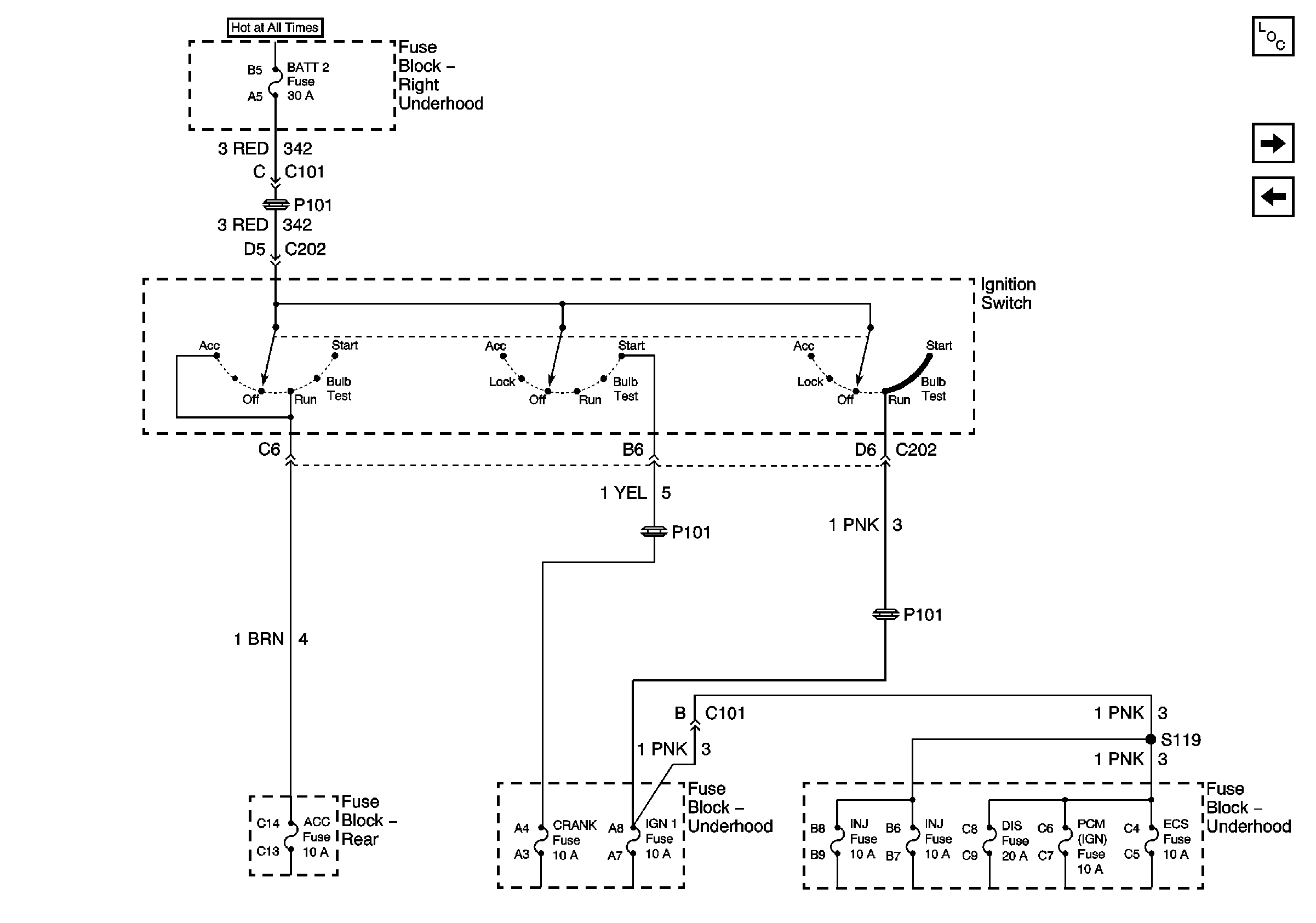
BATT 2 Fuse and Ignition Switch (2 of 2)
Battery Feeds
Figure 3:

BATT 2 Fuse and Ignition Switch (2 of 2)


Object Number: 736295  Size: FS
Master Electrical Component List
IGN 1, COOL FANS, BATT 1, and BRAKES Fuses
BATT 3 and Ignition Switch (1 of 2)
Figure 4:

IGN 1, COOL FANS, BATT 1, and BRAKES Fuses


Object Number: 679915  Size: FS
Master Electrical Component List
BODY 1 Fuse
BATT 2 Fuse and Ignition Switch (2 of 2)
Figure 5:

BODY 1 Fuse


Object Number: 736514  Size: FS
Master Electrical Component List
BODY 2 Fuse
IGN 1, COOL FANS, BATT 1, and BRAKES Fuses
Figure 6:

BODY 2 Fuse


Object Number: 736517  Size: FS
Master Electrical Component List
BODY 3 and INADVERT Fuses
BODY 1 Fuse
Figure 7:

BODY 3 and INADVERT Fuses


Object Number: 673413  Size: FS
Master Electrical Component List
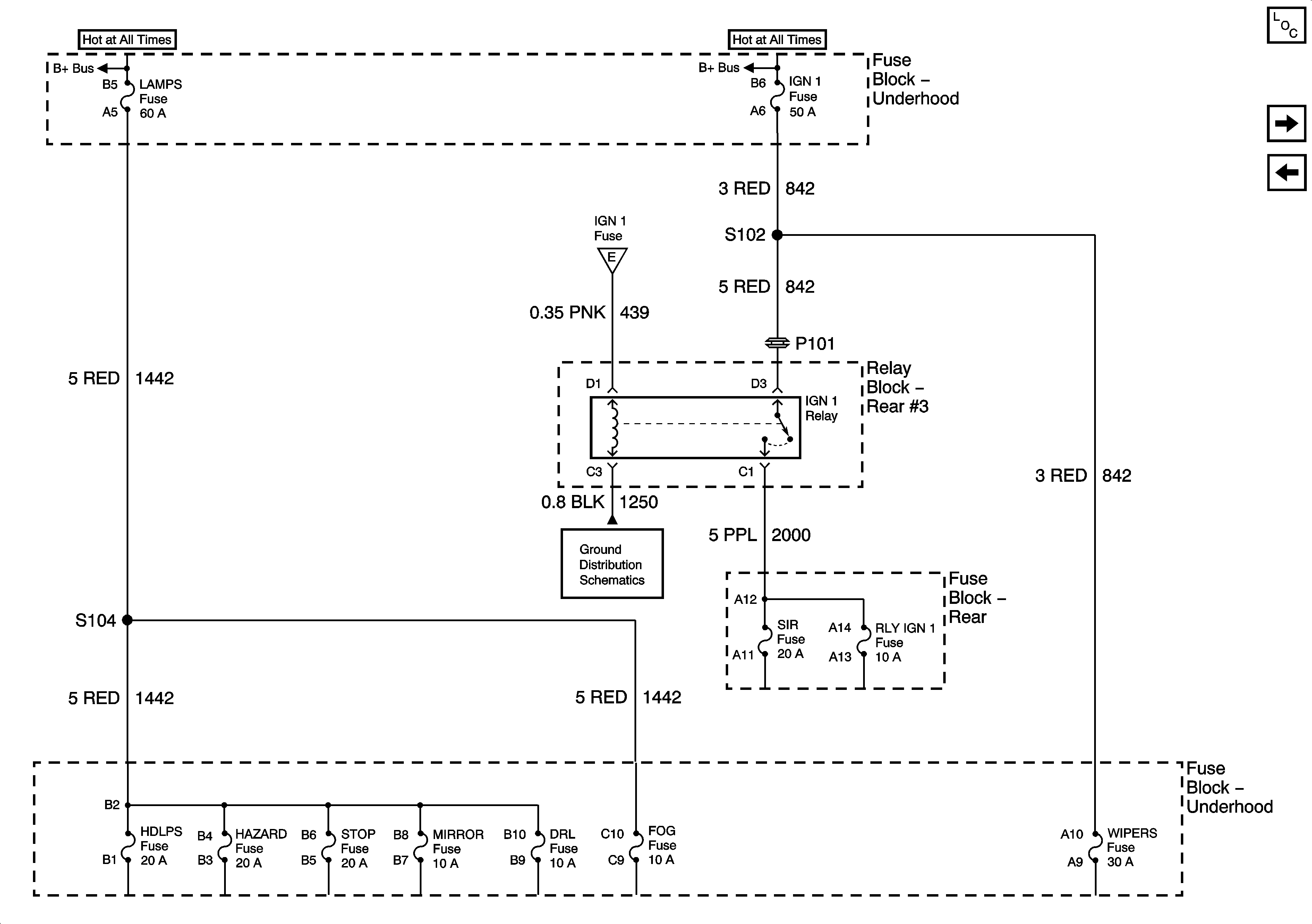
LAMPS and IGN 1 Fuses
BODY 2 Fuse
Figure 8:

LAMPS and IGN 1 Fuses


Object Number: 736528  Size: FS
Master Electrical Component List
WINDOWS Circuit Breaker
BODY 3 and INADVERT Fuses
Figure 9:

WINDOWS Circuit Breaker


Object Number: 679918  Size: FS
Master Electrical Component List
SEATS Circuit Breaker
LAMPS and IGN 1 Fuses
Figure 10:

SEATS Circuit Breaker


Object Number: 679920  Size: FS
Master Electrical Component List
INT LPS Fuse
WINDOWS Circuit Breaker
Figure 11:

INT LPS Fuse


Object Number: 673575  Size: FS
Master Electrical Component List
HDLPS and CIG LTR 1 Fuses
SEATS Circuit Breaker
Figure 12:

HDLPS and CIG LTR 1 Fuses


Object Number: 673633  Size: FS
Master Electrical Component List
MIRROR, DRL, and FOG Fuses
INT LPS Fuse
Figure 13:

MIRROR, DRL, and FOG Fuses


Object Number: 679922  Size: FS
Master Electrical Component List
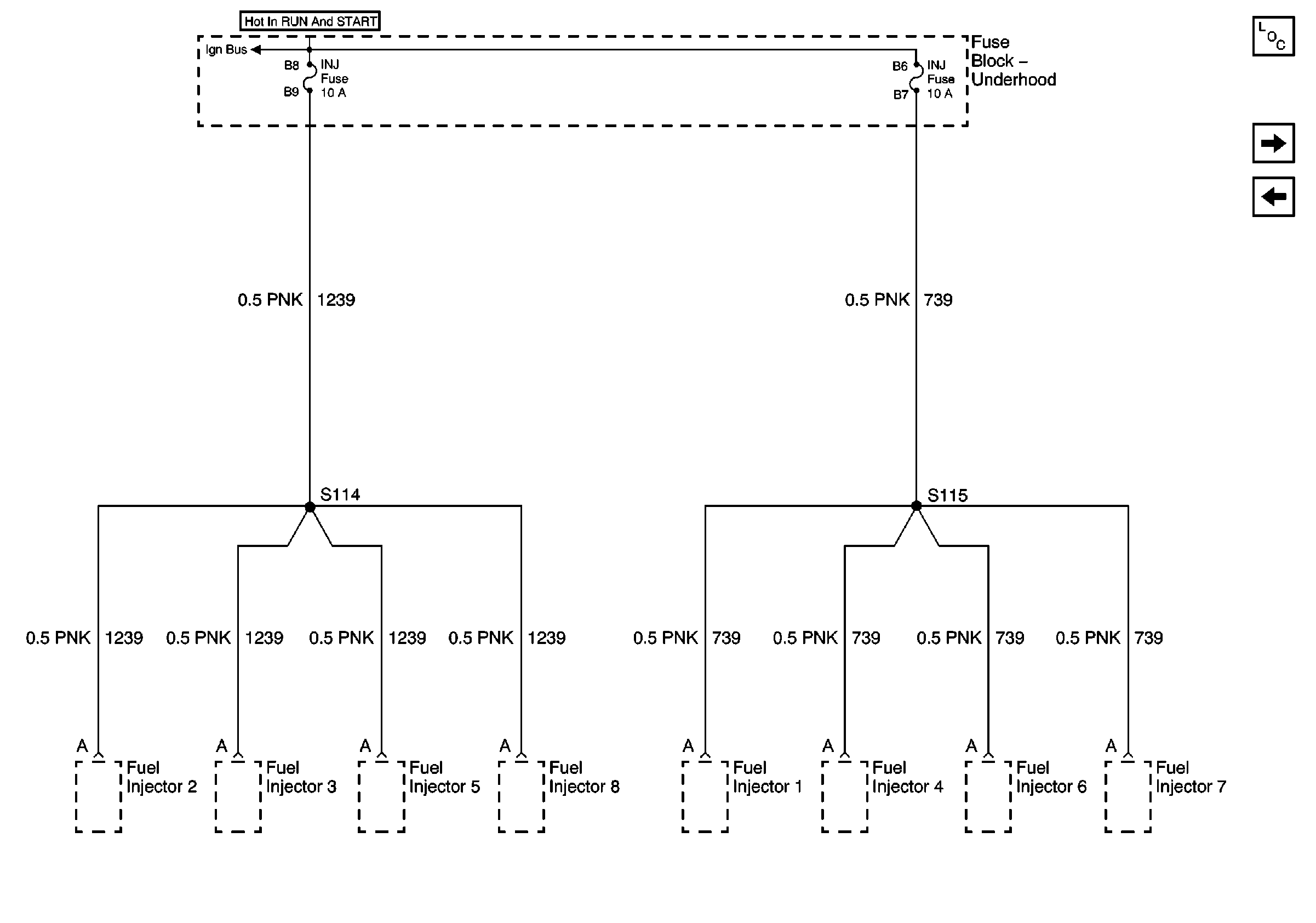
INJ Fuses
HDLPS and CIG LTR 1 Fuses
Figure 14:

INJ Fuses


Object Number: 737956  Size: FS
Master Electrical Component List
STOP, HAZARD, CNR LP, CRANK, and IGN 0 (ENG) Fuses
MIRROR, DRL, and FOG Fuses
Figure 15:

STOP, HAZARD, CNR LP, CRANK, and IGN 0 (ENG) Fuses


Object Number: 737975  Size: FS
Master Electrical Component List
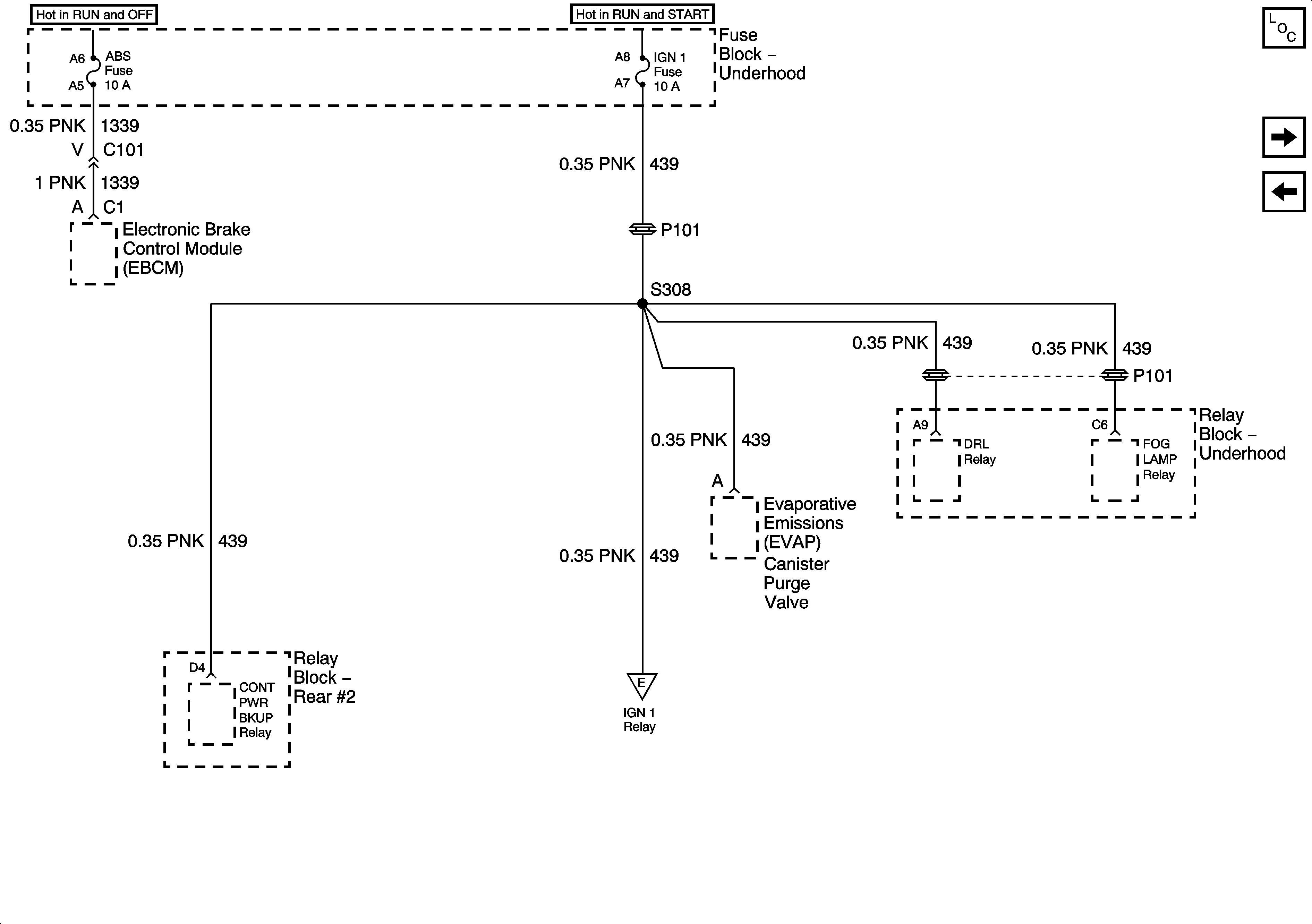
ABS and IGN 1 Fuses
INJ Fuses
Figure 16:

ABS and IGN 1 Fuses


Object Number: 679924  Size: FS
Master Electrical Component List
OXY SEN 1, OXY SEN 2, FUEL PUMP, ECS Fuses and FUEL PUMP Relay
STOP, HAZARD, CNR LP, CRANK, and IGN 0 (ENG) Fuses
Figure 17:

OXY SEN 1, OXY SEN 2, FUEL PUMP, ECS Fuses and FUEL PUMP Relay


Object Number: 679888  Size: FS
Master Electrical Component List
PCM (BAT), A/C COMP, PARK/REV Fuses and A/C COMPRESSOR Relay
ABS and IGN 1 Fuses
Figure 18:

PCM (BAT), A/C COMP, PARK/REV Fuses and A/C COMPRESSOR Relay


Object Number: 673660  Size: FS
Master Electrical Component List
CRUISE, DIS, and PCM (IGN) Fuses
OXY SEN 1, OXY SEN 2, FUEL PUMP, ECS Fuses and FUEL PUMP Relay
Figure 19:

CRUISE, DIS, and PCM (IGN) Fuses


Object Number: 679926  Size: FS
Master Electrical Component List
CONVENIENCE Fuse
PCM (BAT), A/C COMP, PARK/REV Fuses and A/C COMPRESSOR Relay
Figure 20:

CONVENIENCE Fuse


Object Number: 739424  Size: FS
Master Electrical Component List
WIPERS, ACC, and CLUSTER Fuses
CRUISE, DIS, and PCM (IGN) Fuses
Figure 21:

WIPERS, ACC, and CLUSTER Fuses


Object Number: 673675  Size: FS
Master Electrical Component List
ELC Fuse and Circuit Breaker
CONVENIENCE Fuse
Figure 22:

ELC Fuse and Circuit Breaker


Object Number: 673683  Size: FS
Master Electrical Component List
IGN 0 BODY Fuse
WIPERS, ACC, and CLUSTER Fuses
Figure 23:

IGN 0 BODY Fuse


Object Number: 738070  Size: FS
Master Electrical Component List
BATT Fuse
ELC Fuse and Circuit Breaker
Figure 24:

BATT Fuse


Object Number: 679928  Size: FS
Master Electrical Component List
PULLDOWN, HTD SEAT R, and HTD SEAT L Fuses
IGN 0 BODY Fuse
Figure 25:

PULLDOWN, HTD SEAT R, and HTD SEAT L Fuses


Object Number: 673697  Size: FS
Master Electrical Component List
SIR, RSS, and TURN Fuses
BATT Fuse
Figure 26:

SIR, RSS, and TURN Fuses


Object Number: 679929  Size: FS
Master Electrical Component List
RLY IGN 1 Fuse
PULLDOWN, HTD SEAT R, and HTD SEAT L Fuses
Figure 27:

RLY IGN 1 Fuse


Object Number: 679932  Size: FS
Master Electrical Component List
CONSOLE Fuses
SIR, RSS, and TURN Fuses
Figure 28:

CONSOLE Fuses


Object Number: 673714  Size: FS
Master Electrical Component List
COMFORT Fuses
RLY IGN 1 Fuse
Figure 29:

COMFORT Fuses


Object Number: 679934  Size: FS
Master Electrical Component List
ONSTAR®, RSS, HTD MIR, and HTD BACKLT
CONSOLE Fuses
Figure 30:

ONSTAR®, RSS, HTD MIR, and HTD BACKLT


Object Number: 674029  Size: FS
Master Electrical Component List
RSS, PZM, and AMP Fuses
COMFORT Fuses
Figure 31:

RSS, PZM, and AMP Fuses


Object Number: 738074  Size: FS
Master Electrical Component List
RT PARK Fuses
ONSTAR®, RSS, HTD MIR, and HTD BACKLT
Figure 32:

RT PARK Fuses


Object Number: 673722  Size: FS
Master Electrical Component List
LT PARK Fuse
RSS, PZM, and AMP Fuses
Figure 33:

LT PARK Fuse


Object Number: 738092  Size: FS
Master Electrical Component List
RADIO/PHONE Fuse
RT PARK Fuses
Figure 34:

RADIO/PHONE Fuse


Object Number: 673728  Size: FS
Master Electrical Component List
LT PARK Fuse