GM Service Manual Online
For 1990-2009 cars only
Figure 1:

Memory Function Switch


Object Number: 576206  Size: FS
Power Seat Systems Components
Memory Seat Circuit Description
PWR, GND, LH Seat Switch, and MSM
Front Door Dimming
Class 2 Serial Data Line (RH Drive)
Handling ESD Sensitive Parts Notice
Figure 2:

PWR, GND, LH Seat Switch, and MSM


Object Number: 576209  Size: FS
Power Seat Systems Components
Memory Seat Circuit Description
Front Height, Rear Height, Forward/Back Motors and Position Sensors
Memory Function Switch
Left Adaptive Seat
PWR Seat Fuse
MEM T/T, PWR T/T and TSIG/HAZ Fuse
MEM T/T, PWR T/T and TSIG/HAZ Fuse
G302 1 of 2
G302 1 of 2
Handling ESD Sensitive Parts Notice
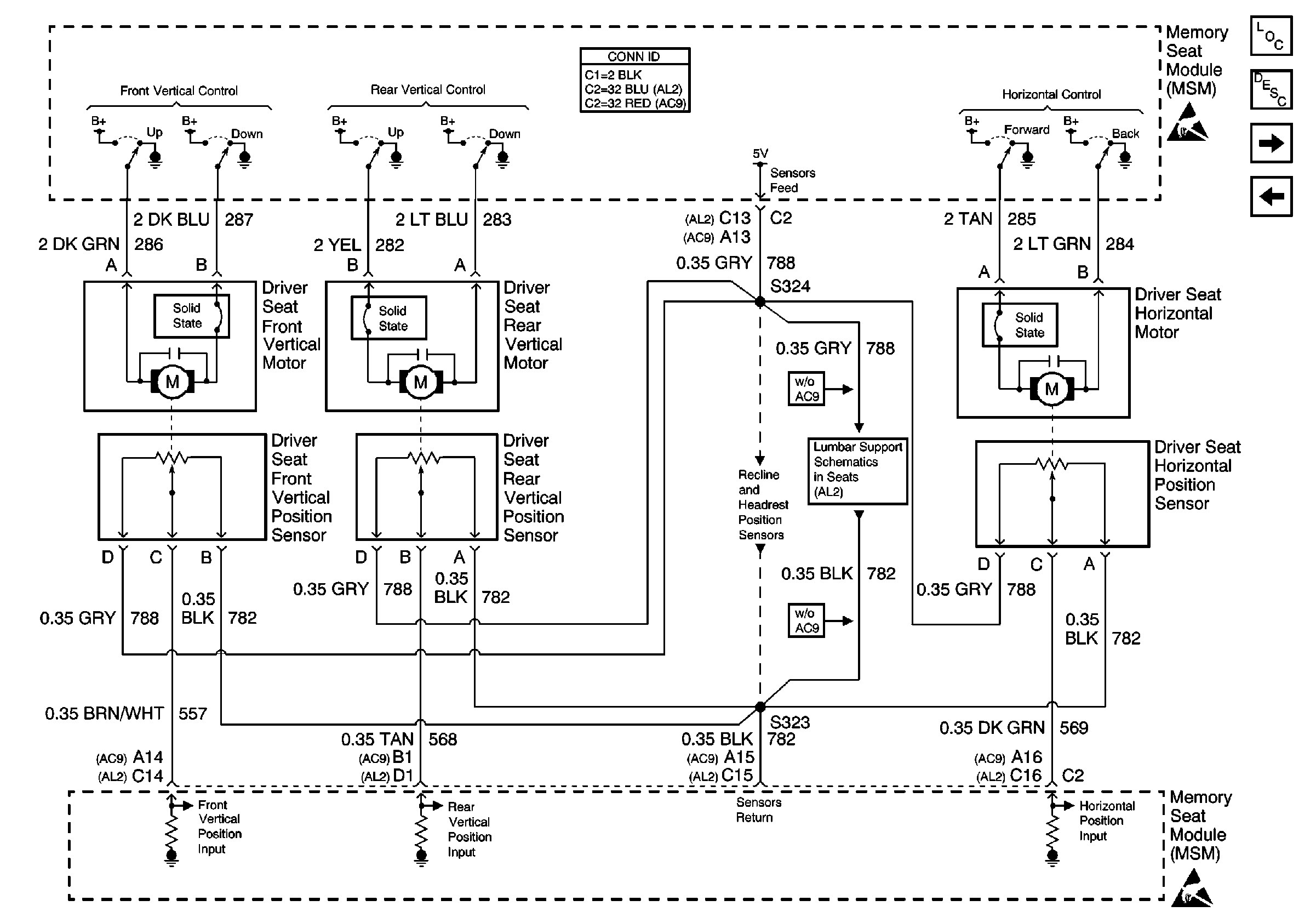
Figure 3:

Front Height, Rear Height, Forward/Back Motors and Position Sensors


Object Number: 576211  Size: FS
Power Seat Systems Components
Memory Seat Circuit Description
Recline, Headrest Motors and Position Sensors; Class 2
PWR, GND, LH Seat Switch, and MSM
With Memory (A45)
Handling ESD Sensitive Parts Notice
Handling ESD Sensitive Parts Notice
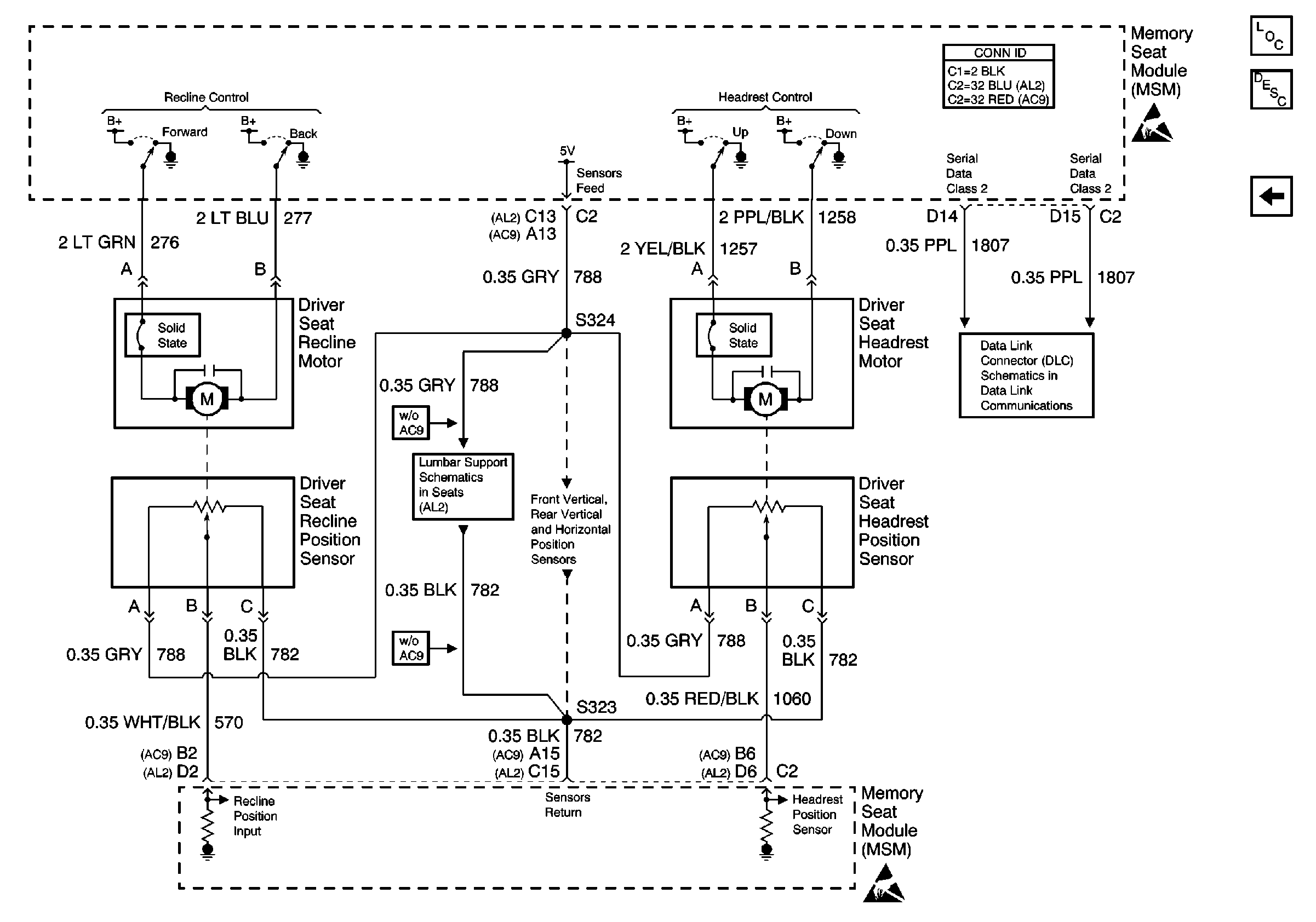
Figure 4:

Recline, Headrest Motors and Position Sensors; Class 2


Object Number: 576214  Size: FS
Power Seat Systems Components
Memory Seat Circuit Description
Front Height, Rear Height, Forward/Back Motors and Position Sensors
Handling ESD Sensitive Parts Notice
Handling ESD Sensitive Parts Notice
Class 2 Serial Data Line (LH Drive)
Memory Function Switch