GM Service Manual Online
For 1990-2009 cars only
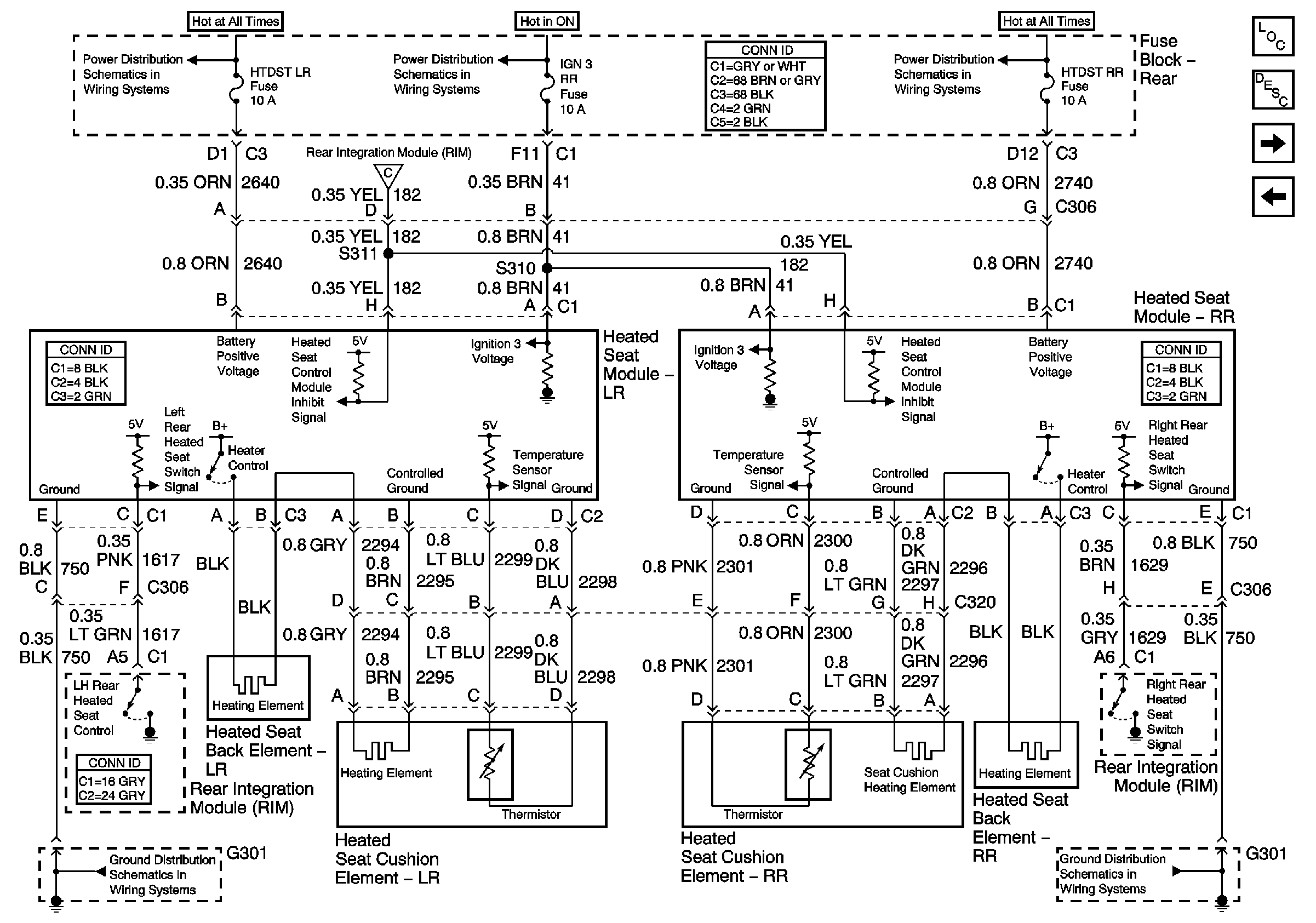
Figure 1:

LH Front Heated Seat


Object Number: 642373  Size: FS
RH Front Heated Seat
Power Seat Component Views
Heated Seats Description and Operation
Battery Feeds
RH Front Heated Seat
Rear Heated Seat Modules
RH Front Heated Seat
RH Front Heated Seat
RH Front Heated Seat
G200 and G202
Ashtray Lamp and Steering Wheel Controls
G302 (RH Drive)
G302 (RH Drive)
G200 and G202
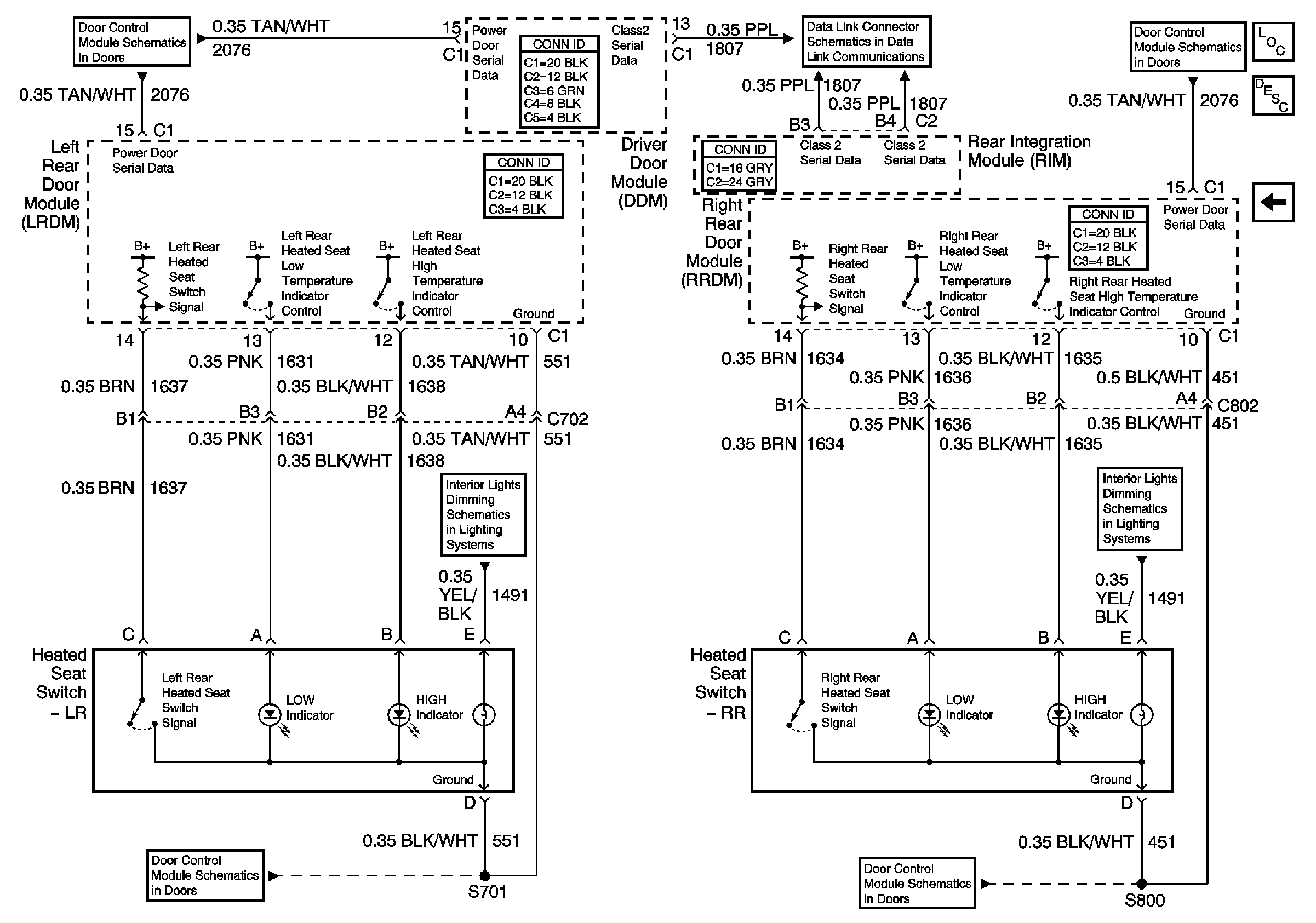
Figure 2:

RH Front Heated Seat


Object Number: 642374  Size: FS
LH Front Heated Seat
Rear Heated Seat Modules
Power Seat Component Views
Heated Seats Description and Operation
Battery Feeds
LH Front Heated Seat
LH Front Heated Seat
LH Front Heated Seat
LH Front Heated Seat
Ashtray Lamp and Steering Wheel Controls
G302 (RH Drive)
G302 (RH Drive)
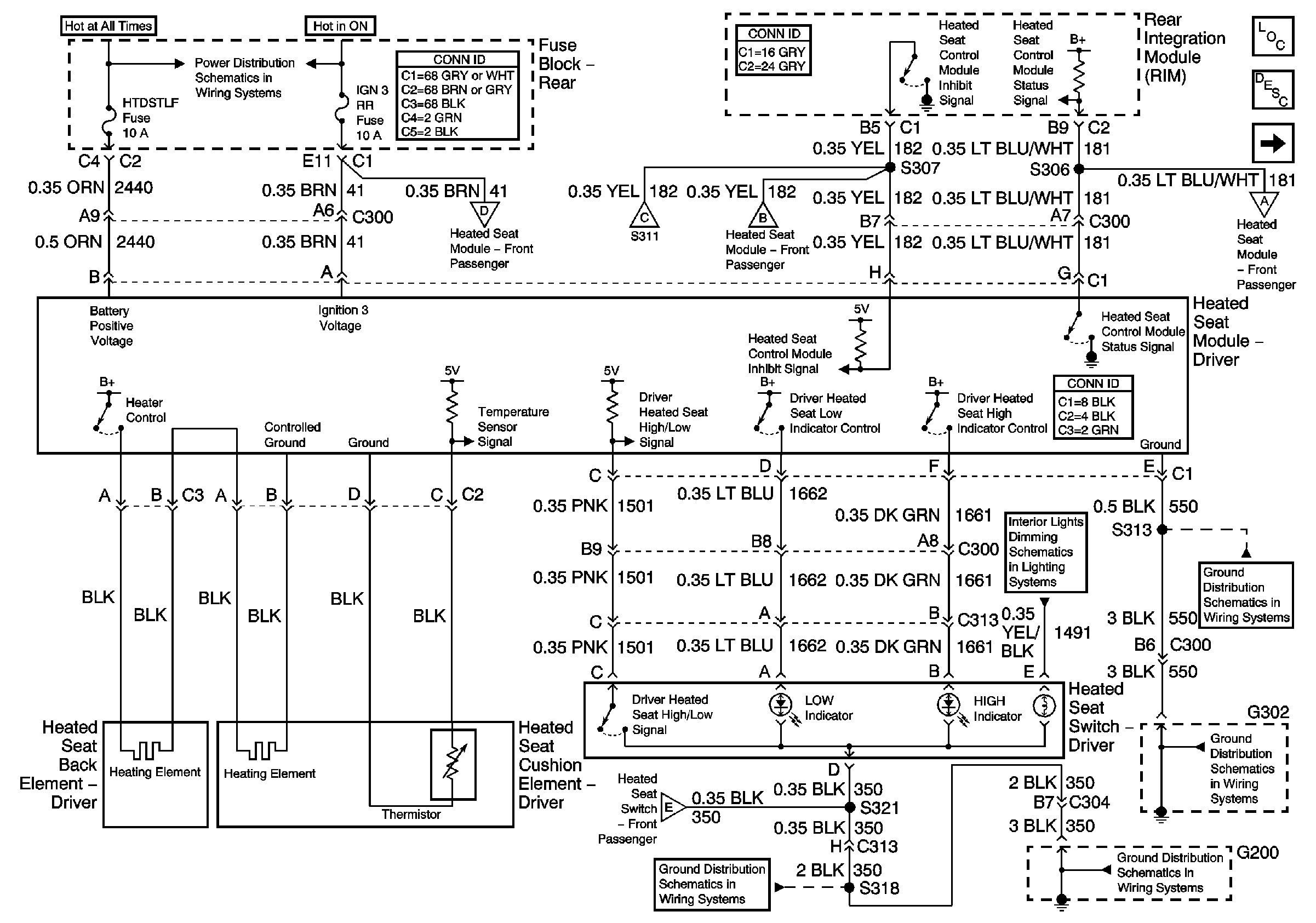
Figure 3:

Rear Heated Seat Modules


Object Number: 642377  Size: FS
RH Front Heated Seat
Rear Heated Seat Switches
Power Seat Component Views
Heated Seats Description and Operation
Battery Feeds
Battery Feeds
Battery Feeds
LH Front Heated Seat
G301
G301
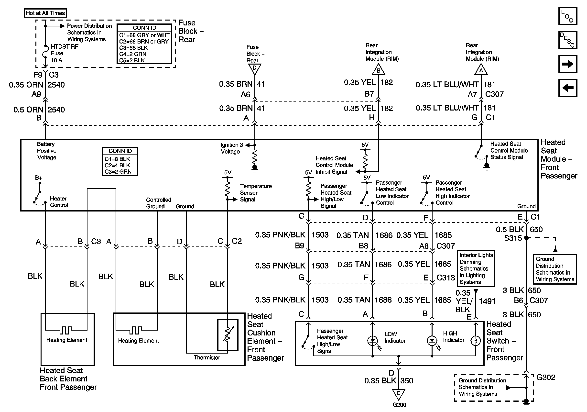
Figure 4:

Rear Heated Seat Switches


Object Number: 642378  Size: FS
Rear Heated Seat Modules
Power Seat Component Views
Heated Seats Description and Operation
Power Door Serial Data
Class 2 Serial Data Line (LH Drive) (2 of 2)
Power Door Serial Data
Rear Door Dimming
Power Door Serial Data
Rear Door Dimming
Power Door Serial Data