GM Service Manual Online
For 1990-2009 cars only
Figure 1:

Module Power, Ground, Serial Data, and MIL


Object Number: 783598  Size: FS
Master Electrical Component List
Powertrain Control Module Description
Engine Data Sensors-5 Volt and Low Reference
Engine Controls Schematic Icons
Ignition Switch Supply
G106 and G108
Battery Feed to Fuse Block - Underhood
Ignition Switch Supply
Figure 2:

Engine Data Sensors-5 Volt and Low Reference


Object Number: 783599  Size: FS
Master Electrical Component List
Powertrain Control Module Description
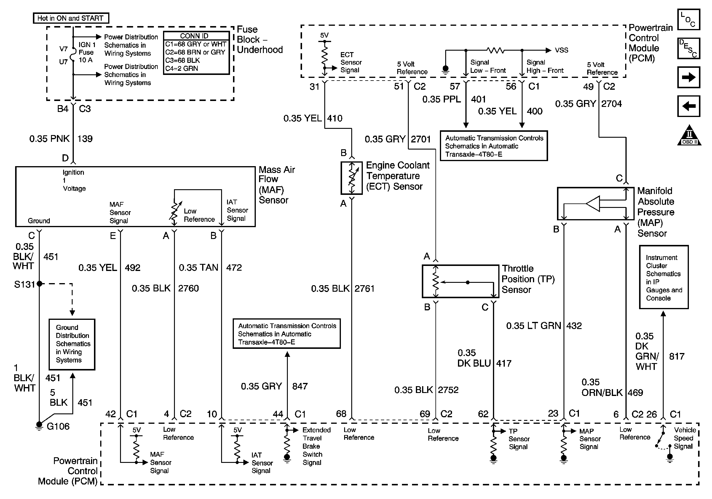
Engine Data Sensors-Pressure and Temperature
Module Power, Ground, Serial Data, and MIL
Engine Controls Schematic Icons
Figure 3:

Engine Data Sensors-Pressure and Temperature


Object Number: 783601  Size: FS
Master Electrical Component List
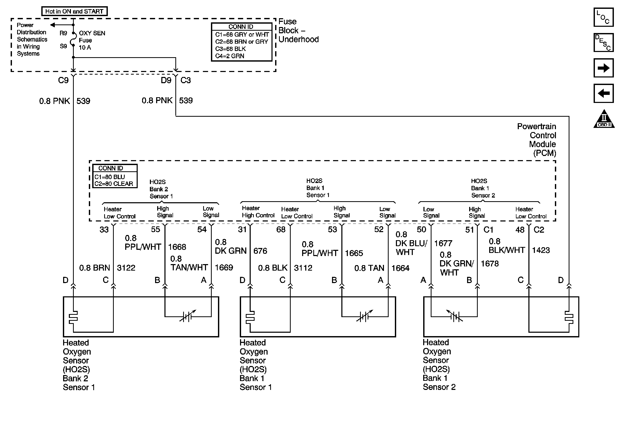
Engine Data Sensors-O2S and/or HO2S
Engine Data Sensors-5 Volt and Low Reference
Engine Controls Schematic Icons
Automatic Transaxle Fluid Pressure Manual Valve Position Switch and VSS
PCM Signals
TCC/Cruise Release Switch and Transaxle Solenoids
G106 and G108
Battery Feed to Fuse Block - Underhood
Figure 4:

Engine Data Sensors-O2S and/or HO2S


Object Number: 783602  Size: FS
Master Electrical Component List
Powertrain Control Module Description
Ignition Controls-Ignition System
Engine Data Sensors-Pressure and Temperature
Engine Controls Schematic Icons
Figure 5:

Ignition Controls-Ignition System


Object Number: 783604  Size: FS
Master Electrical Component List
Electronic Ignition (EI) System Description
Ignition Controls-Sensors
Engine Data Sensors-O2S and/or HO2S
Engine Controls Schematic Icons
Battery Feed to Fuse Block - Underhood
PCM Signals
Figure 6:

Ignition Controls-Sensors


Object Number: 786251  Size: FS
Master Electrical Component List
Knock Sensor (KS) System Description
Fuel Controls-Fuel Pump and EVAP Controls
Ignition Controls-Ignition System
Engine Controls Schematic Icons
Figure 7:

Fuel Controls-Fuel Pump and EVAP Controls


Object Number: 786252  Size: FS
Master Electrical Component List
Evaporative Emission Control System Description
Fuel Controls-Fuel Injectors
Ignition Controls-Sensors
Engine Controls Schematic Icons
PCM Signals
G401 1 of 3
G301
Battery Feed to Fuse Block - Rear
Battery Feed to Fuse Block - Rear
Battery Feed to Fuse Block - Underhood
Figure 8:

Fuel Controls-Fuel Injectors


Object Number: 786254  Size: FS
Master Electrical Component List
Fuel System Description
Device Controls
Fuel Controls-Fuel Pump and EVAP Controls
Engine Controls Schematic Icons
Battery Feed to Fuse Block - Underhood
Figure 9:

Device Controls


Object Number: 786256  Size: FS
Master Electrical Component List
Powertrain Control Module Description
Controlled/Monitored Subsystem References
Fuel Controls-Fuel Injectors
Engine Controls Schematic Icons
Battery Feed to Fuse Block - Underhood
Figure 10:

Controlled/Monitored Subsystem References


Object Number: 786257  Size: FS
Master Electrical Component List
Powertrain Control Module Description
Device Controls
Engine Controls Schematic Icons
PCM Controls and Class 2
Generator Controls
Starting Controls
PCM and IPM Signals
A/C Compressor Clutch
Cooling Fans
Suspension Inputs (w/F45 or F55), Class 2 and Variable Effort Steering
Power and Ground
Figure 11:

Transmission Controls-A/T


Object Number: 786259  Size: FS
Master Electrical Component List
Powertrain Control Module Description
Controlled/Monitored Subsystem References
Engine Controls Schematic Icons
Transaxle Sensors
Automatic Transaxle Fluid Pressure Manual Valve Position Switch and VSS
TCC/Cruise Release Switch and Transaxle Solenoids