GM Service Manual Online
For 1990-2009 cars only
Figure 1:

Power and Ground (U1R/UM5/UM9/UL6)


Object Number: 879884  Size: FS
Master Electrical Component List
Radio/Audio System Description and Operation
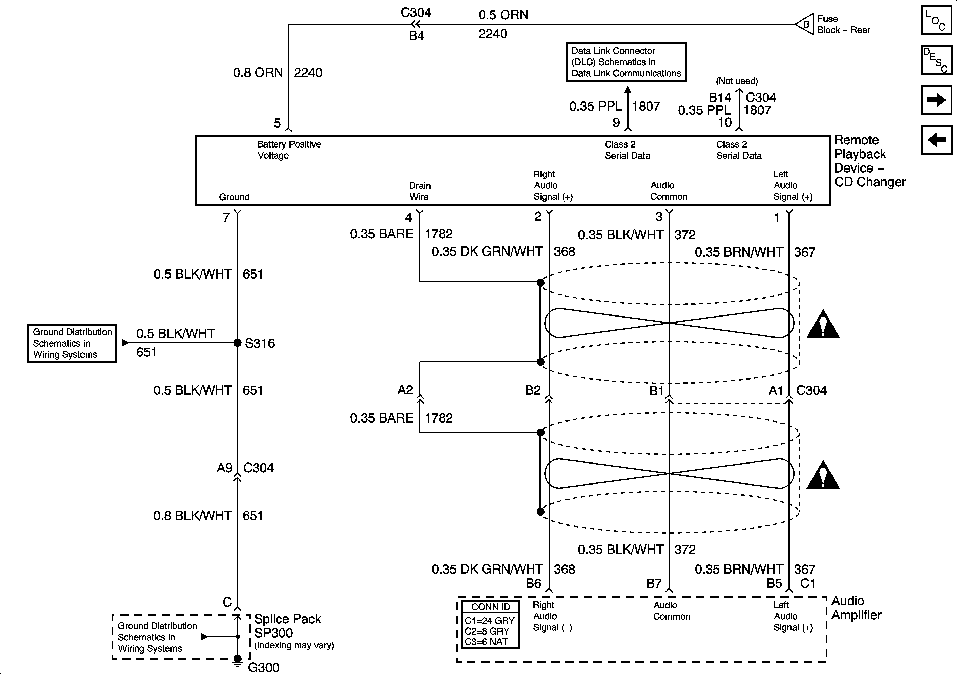
Radio/Audio System Schematics-Remote Plybk Device-CD Changer (UX8) LH Drive
Radio/Audio System Schematics-Remote Plybk Device-CD Changer (UX8) LH Drive
Power Distribution Schematics-Battery Feed to Fuse Block Rear
Interior Lights Dimming Schematics-DIC and Headlamp Switch
Data Link Connector (DLC) Schematics-Serial Data Line (LH Drive) (1 of 2)
Ground Distribution Schematics-G201 (2 of 5)
Ground Distribution Schematics-G201 (2 of 5)
Ground Distribution Schematics-G300
Cellular Telephone Schematics-VCIM,MIC, and Audio Amp
OnStar Schematics-Microphone and Audio Amp
Figure 2:

Remote Playback Device- CD Changer (UX8) LH Drive


Object Number: 1250623  Size: FS
Master Electrical Component List
Radio/Audio System Description and Operation
Radio/Audio System Schematics-Audio Amplifier (UX8)
Radio/Audio System Schematics-Power and Ground (U1R/UM5/UM9/UL6)
Radio/Audio System Schematics-Power and Ground (U1R/UM5/UM9/UL6)
Entertainment Schematic Icons
Entertainment Schematic Icons
Data Link Connector (DLC) Schematics-Serial Data Line (LH Drive) (1 of 2)
Ground Distribution Schematics-G300
Ground Distribution Schematics-G300
Figure 3:

Audio Amplifier (UX8)


Object Number: 795971  Size: FS
Master Electrical Component List
Radio/Audio System Description and Operation
Radio/Audio System Schematics-Front Speakers (UX8)
Radio/Audio System Schematics-Remote Plybk Device-CD Changer (UX8) LH Drive
Entertainment Schematic Icons
Entertainment Schematic Icons
Entertainment Schematic Icons
Entertainment Schematic Icons
Entertainment Schematic Icons
Entertainment Schematic Icons
Figure 4:

Front Speakers (UX8)


Object Number: 795972  Size: FS
Master Electrical Component List
Radio/Audio System Description and Operation
Radio/Audio System Schematics-Rear Speakers (UX8)
Radio/Audio System Schematics-Audio Amplifier (UX8)
Entertainment Schematic Icons
Entertainment Schematic Icons
Entertainment Schematic Icons
Entertainment Schematic Icons
Entertainment Schematic Icons
Entertainment Schematic Icons
Figure 5:

Rear Speakers (UX8)


Object Number: 795973  Size: FS
Master Electrical Component List
Radio/Audio System Description and Operation
Radio/Audio System Schematics-Power and Ground (U3R/U3S/U3Q)
Radio/Audio System Schematics-Front Speakers (UX8)
Entertainment Schematic Icons
Entertainment Schematic Icons
Entertainment Schematic Icons
Entertainment Schematic Icons
Entertainment Schematic Icons
Figure 6:

Power and Ground (U3R/U3S/U3Q)


Object Number: 879885  Size: FS
Master Electrical Component List
Radio/Audio System Description and Operation
Radio/Audio Systems Schematics-Digital Radio Receiver (UX9) LH Drive (U2K)
Radio/Audio System Schematics-Rear Speakers (UX8)
Power Distribution Schematics-Audio, Audio Amp, DIM Fuses
Power Distribution Schematics-Audio, Audio Amp, DIM Fuses
Power Distribution Schematics-NAV, EXPORT BRK and SDAR Fuses
Ground Distribution Schematics-G200
Ground Distribution Schematics-G200
Ground Distribution Schematics-G300
Data Link Connector (DLC) Schematics-Serial Data Line (LH Drive) (1 of 2)
Data Link Connector (DLC) Schematics-Serial Data Line (LH Drive) (2 of 2)
OnStar Schematics-Microphone and Audio Amp
Cellular Telephone Schematics-VCIM,MIC, and Audio Amp
Radio/Audio System Schematics-Remote Plybk Device-CD Changer (UX9) RH Drive
Figure 7:

Digital Radio Receiver (U2K) (UX9) LH Drive


Object Number: 800505  Size: FS
Master Electrical Component List
Radio/Audio System Description and Operation
Radio/Audio System Schematics-Remote Plybk Device-CD Changer (UX9) RH Drive
Radio/Audio System Schematics-Power and Ground (U3R/U3S/U3Q)
Radio/Audio System Schematics-Remote Plybk Device-CD Changer (UX8) LH Drive
Data Link Connector (DLC) Schematics-Serial Data Line (LH Drive) (2 of 2)
Data Link Connector (DLC) Schematics-Serial Data Line (LH Drive) (1 of 2)
Entertainment Schematic Icons
Entertainment Schematic Icons
Entertainment Schematic Icons
Ground Distribution Schematics-G300
Ground Distribution Schematics-G300
Figure 8:

Remote Playback Device- CD Changer (UX9) RH Drive


Object Number: 1250628  Size: FS
Master Electrical Component List
Radio/Audio System Description and Operation
Radio/Audio System Schematics-Audio Amplifier (UX9)
Radio/Audio Systems Schematics-Digital Radio Receiver (UX9) LH Drive (U2K)
Radio/Audio System Schematics-Power and Ground (U3R/U3S/U3Q)
Data Link Connector (DLC) Schematics-Serial Data Line (LH Drive) (1 of 2)
Entertainment Schematic Icons
Entertainment Schematic Icons
Ground Distribution Schematics-G300
Ground Distribution Schematics-G300
Figure 9:

Audio Amplifier (UX9)


Object Number: 1366996  Size: FS
Master Electrical Component List
Radio/Audio System Description and Operation
Radio/Audio System Schematics-Speakers (UX9)
Radio/Audio System Schematics-Remote Plybk Device-CD Changer (UX9) RH Drive
Entertainment Schematic Icons
Entertainment Schematic Icons
Entertainment Schematic Icons
Entertainment Schematic Icons
Entertainment Schematic Icons
Entertainment Schematic Icons
Figure 10:

Speakers (UX9)


Object Number: 795974  Size: FS
Master Electrical Component List
Radio/Audio System Description and Operation
Radio/Audio System Schematics-Radio Antenna
Radio/Audio System Schematics-Audio Amplifier (UX9)
Entertainment Schematic Icons
Figure 11:

Radio Antenna


Object Number: 790830  Size: FS
Master Electrical Component List
Radio/Audio System Description and Operation
Radio/Audio System Schematics-Speakers (UX9)