GM Service Manual Online
For 1990-2009 cars only
Makes
🢒
Cadillac
🢒
2004
🢒
Seville
🢒 Interior Lights Dimming-Dimming Control
Interior Lights Dimming-Dimming Control
Dimming Control
Master Electrical Component List
Interior Lighting Systems Description and Operation
Interior Lights Dimming Schematics-Ashtray Lamp and Steering Wheel Controls
Interior Lights Dimming Schematics-Class 2 Signals
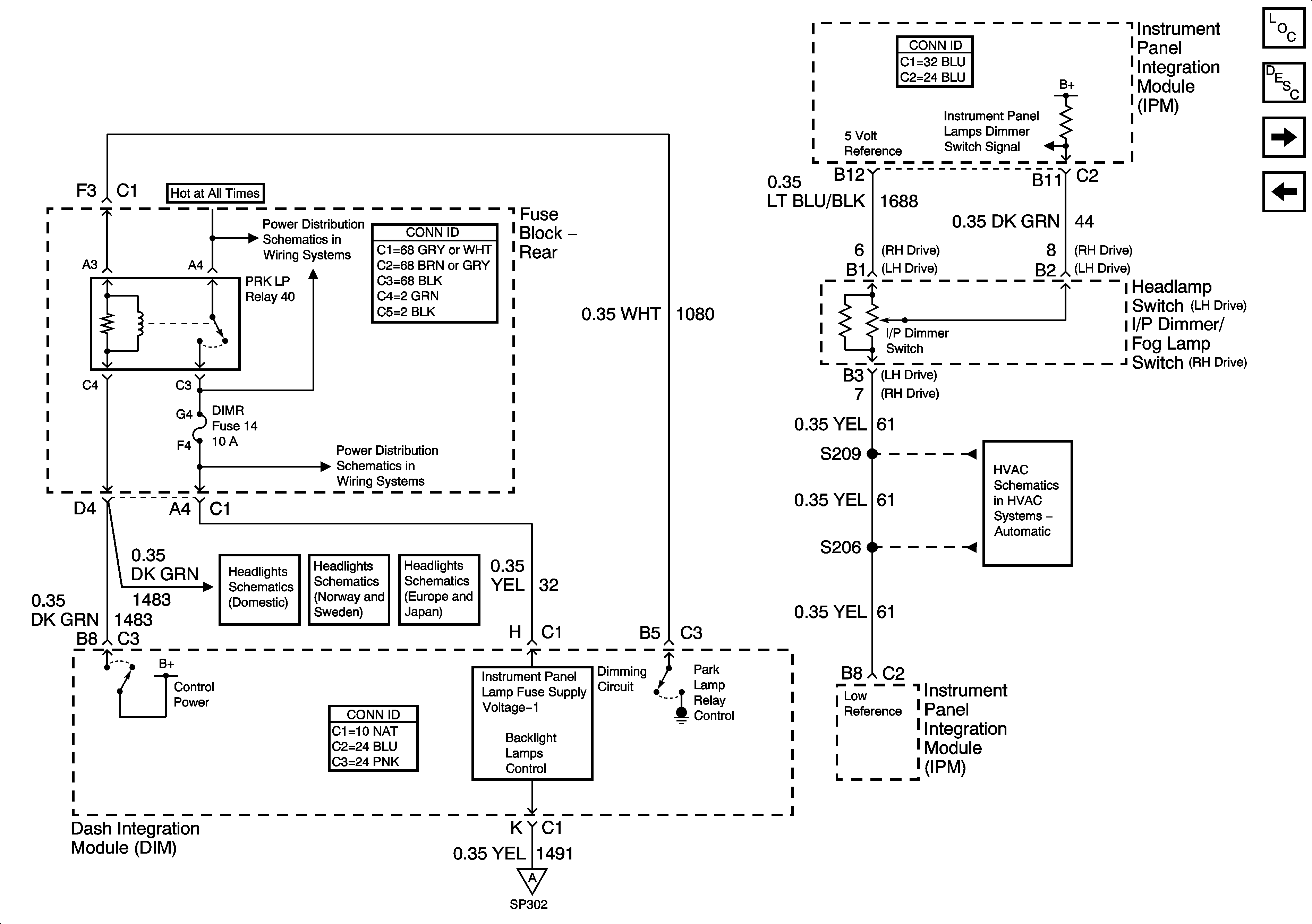
Interior Lights Dimming Schematics-DIC and Headlamp Switch
Power Distribution Schematics-Battery Feed to Fuse Block Rear
Power Distribution Schematics-Battery Feed to Fuse Block Rear
HVAC Schematics-Temperature Sensor (LH Drive)
Headlights/Daytime Running Lights (DRL) Schematics-Low Beam Headlamps
Headlights/Daytime Running Lights (DRL) Schematics-Low Beam Headlamps
Headlights/Daytime Running Lights (DRL) Schematics-Low Beam Headlamps