GM Service Manual Online
For 1990-2009 cars only
Makes
🢒
Chevrolet
🢒
1999
🢒
Alero Export
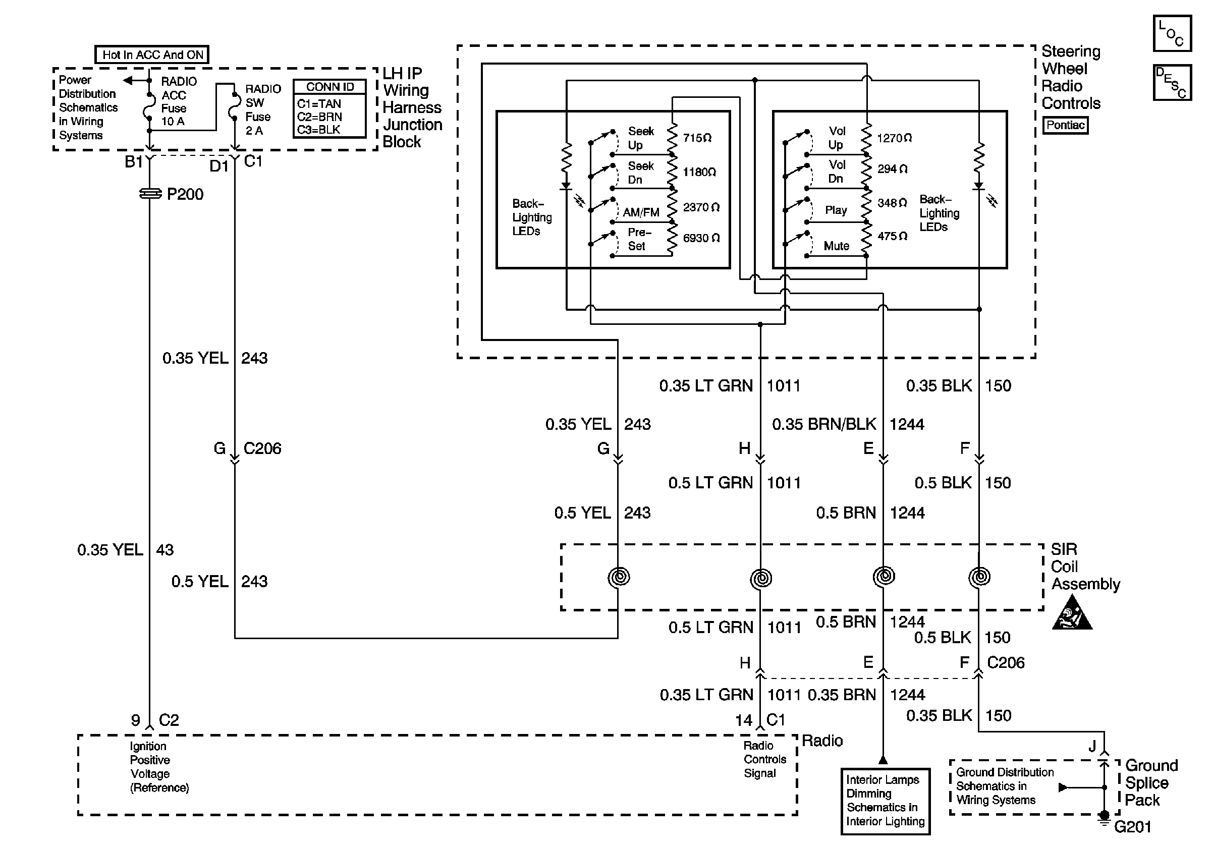
🢒 99 x130 Entertainment Cell 150
99 x130 Entertainment Cell 150
Cell 150: Radio Controls
Entertainment Components
Radio/Audio System Description
Cell 150: W/UQ3
Ground Distribution Schematics
Interior Lights Dimming Schematics
Power Distribution Schematics
SIR Handling Caution