GM Service Manual Online
For 1990-2009 cars only
Makes
🢒
Chevrolet
🢒
2001
🢒
Astro - 2WD
🢒
Body and Accessories
🢒
Instrument Panel, Gauges, and Console
🢒 Audible Warnings Schematics
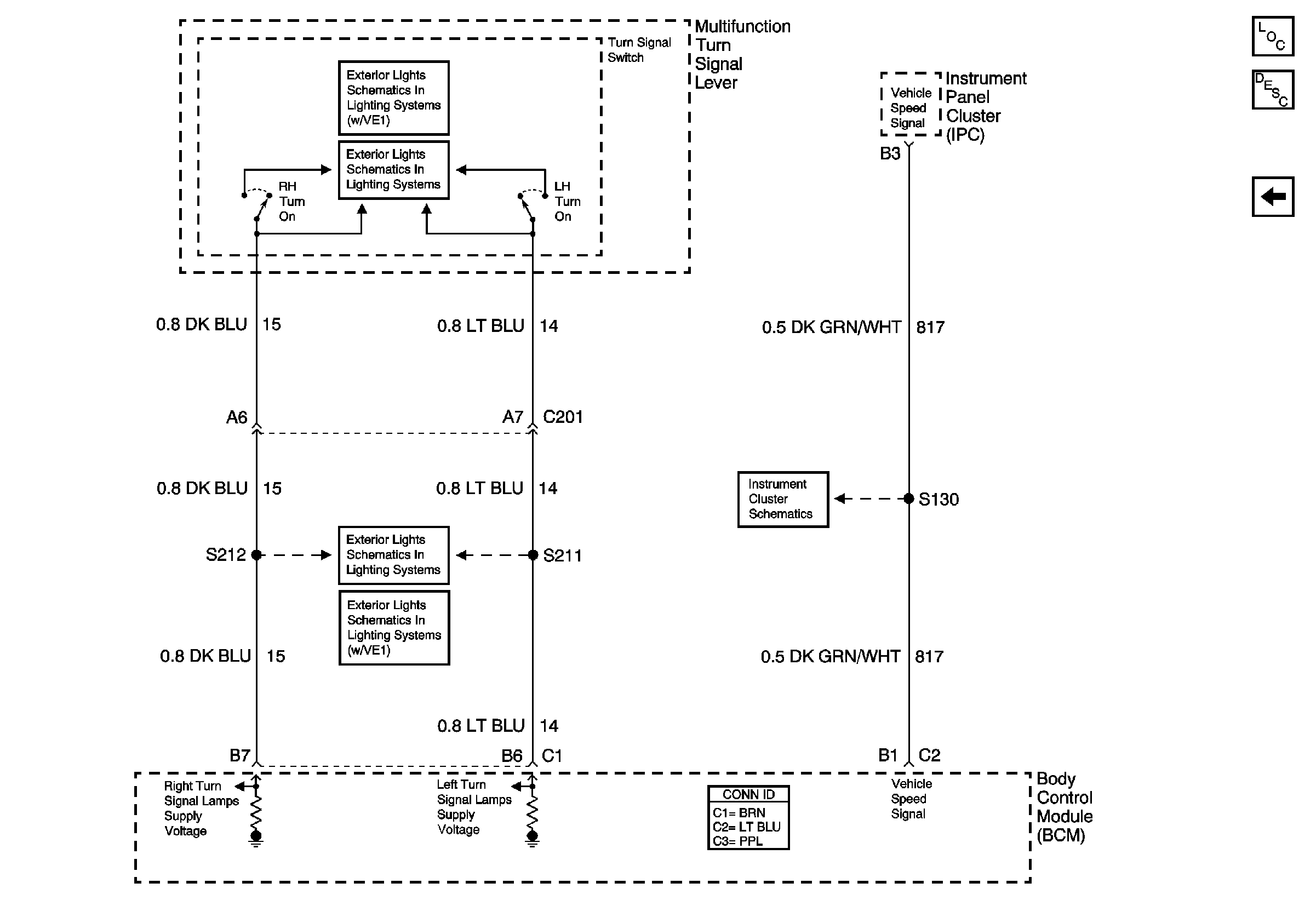
Figure
1:
Power, Seat Belt Switch, Key-In Warning Switch, and Door Jamb Switch
Instrument Panel, Gages, and Console Component Views
Audible Warnings Description and Operation
Turn Hazard Switch, and Vehicle Speed Signal
BATT and LIGHTING Fuse
CTSY Fuse 3, PK LPS Fuse 9, TBC Fuse 15, and PWR MIR Fuse 21
Turn Indicators, Front Side Marker Lamps, Park/Turn Signal Lamps
Turn Indicators, Aux T/Sig Lamps, Park/Turn Signal Lamps, Side Marker Lamps
G300, G303, G400 and G404
G110 (1 of 2)
CTSY Fuse 3, PK LPS Fuse 9, TBC Fuse 15, and PWR MIR Fuse 21
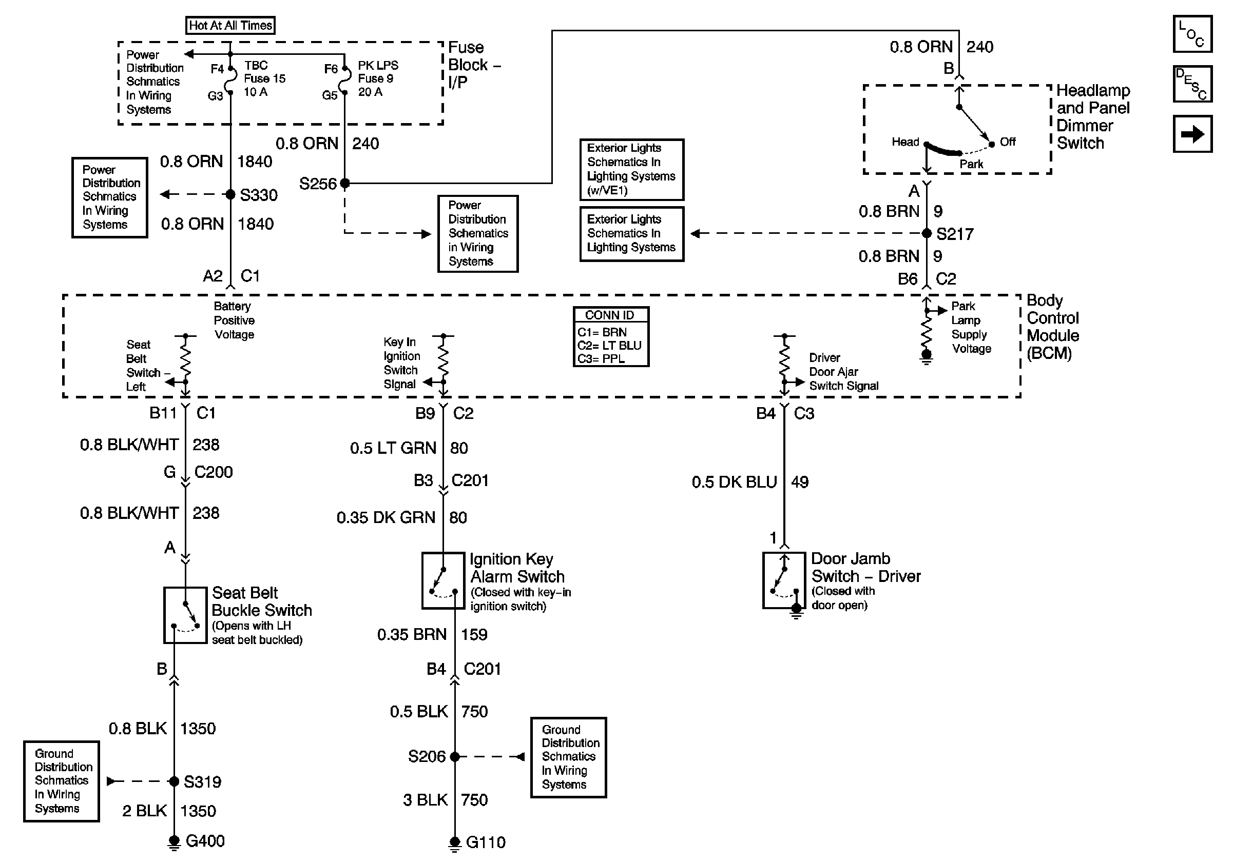
Figure
2:
Turn Hazard Switch, and Vehicle Speed Signal
Instrument Panel, Gages, and Console Component Views
Audible Warnings Description and Operation
Power, Seat Belt Switch, Key-In Warning Switch, and Door Jamb Switch
Turn/Hazard Switch and Flasher Module
Turn/Hazard Switch and Flasher Module
Turn Indicators, Front Side Marker Lamps, Park/Turn Signal Lamps
Turn Indicators, Aux T/Sig Lamps, Park/Turn Signal Lamps, Side Marker Lamps
ILLUM, TRANS, and GAUGES Fuse, and Grounds (2 of 2)