GM Service Manual Online
For 1990-2009 cars only
Makes
🢒
Chevrolet
🢒
1998
🢒
Blazer - 4WD
🢒
Body and Accessories
🢒
Instrument Panel, Gauges, and Console
🢒 Driver Information System Schematics
Figure
1:
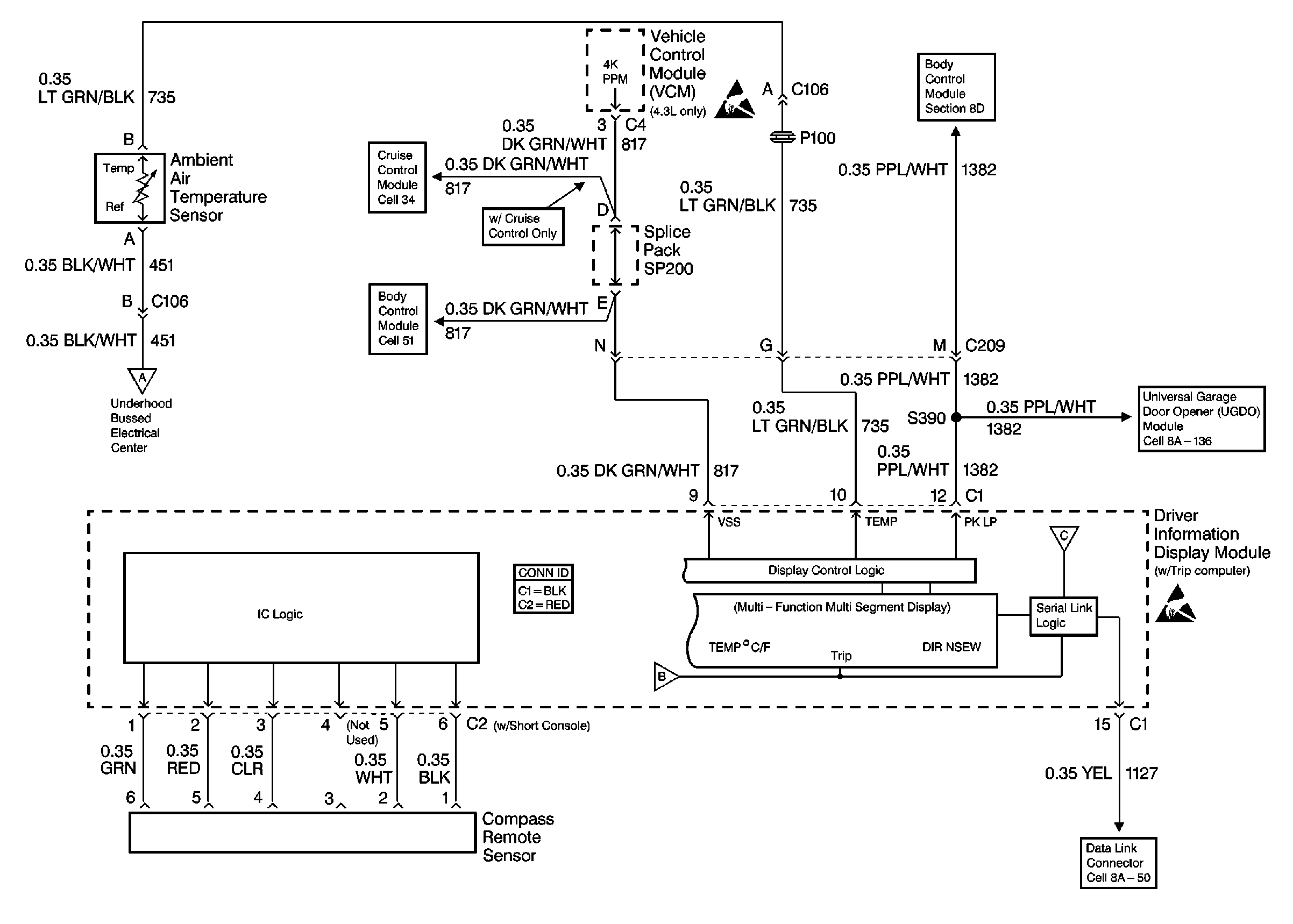
Cell 86: w/ Trip Computer -- PWR, GND
Driver Information System Components
Driver Information Center (DIC) or Message Center Circuit Description
Cell 86: w/ Trip Computer - Inputs
Power Distribution Schematics
Power Distribution Schematics
Power Distribution Schematics
Radio/Audio System Schematics
Power Distribution Schematics
Interior Lights Schematics
OnStar Schematics
Interior Lights Schematics
Cell 86: w/ Trip Computer - Inputs
Interior Lights Schematics
Cell 86: w/ Trip Computer - Inputs
Handling ESD Sensitive Parts Notice
Cell 86: w/ Trip Computer - Inputs
Ground Distribution Schematics
Ground Distribution Schematics
Figure
2:
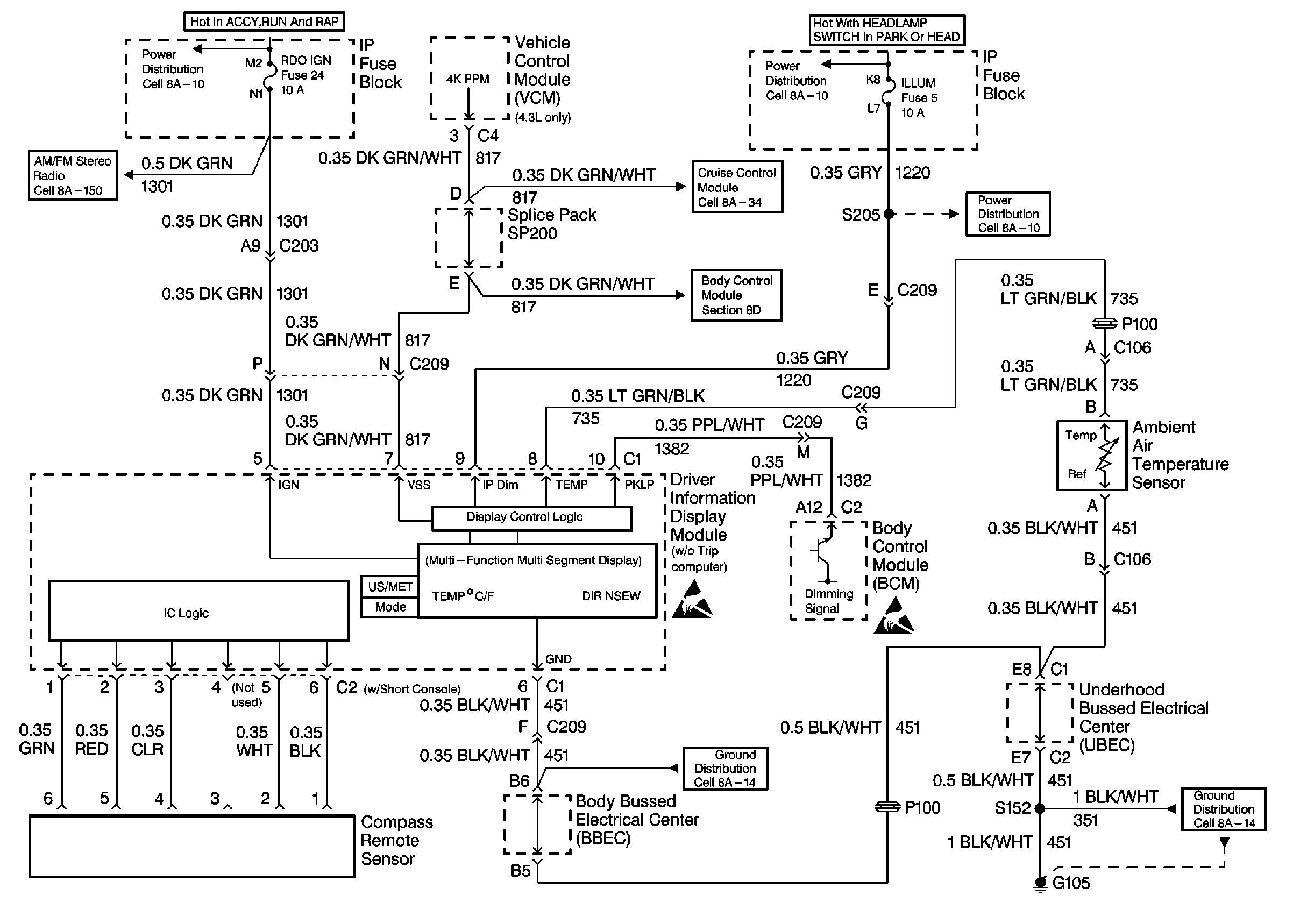
Cell 86: w/ Trip Computer -- Inputs
Driver Information System Components
Driver Information Center (DIC) or Message Center Circuit Description
Cell 86 (w/o Trip Computer)
Cell 86: w/ Trip Computer - PWR, GND
Handling ESD Sensitive Parts Notice
Body Control System Schematics
Cell 34: PCM and VCM
Cell 51: Ambient Light Sensor
Cell 86: w/ Trip Computer - PWR, GND
Garage Door Opener Schematics
Cell 86: w/ Trip Computer - PWR, GND
Cell 86: w/ Trip Computer - PWR, GND
Handling ESD Sensitive Parts Notice
Data Link Connector Schematics
Driver Information Systems Connector End Views
Figure
3:
Cell 86 (w/o Trip Computer)
Driver Information System Components
Driver Information Center (DIC) or Message Center Circuit Description
Cell 86: w/ Trip Computer - Inputs
Radio/Audio System Schematics
Cruise Control Schematics
Power Distribution Schematics
Power Distribution Schematics
Body Control System Schematics
Handling ESD Sensitive Parts Notice
Handling ESD Sensitive Parts Notice
Ground Distribution Schematics
Ground Distribution Schematics
Power Distribution Schematics