GM Service Manual Online
For 1990-2009 cars only
Makes
🢒
Chevrolet
🢒
1998
🢒
Blazer - 4WD
🢒 Fuel Injection Controls
Fuel Injection Controls
Fuel Injection Controls
Handling Electrostatic Discharge Sensitive Parts Notice
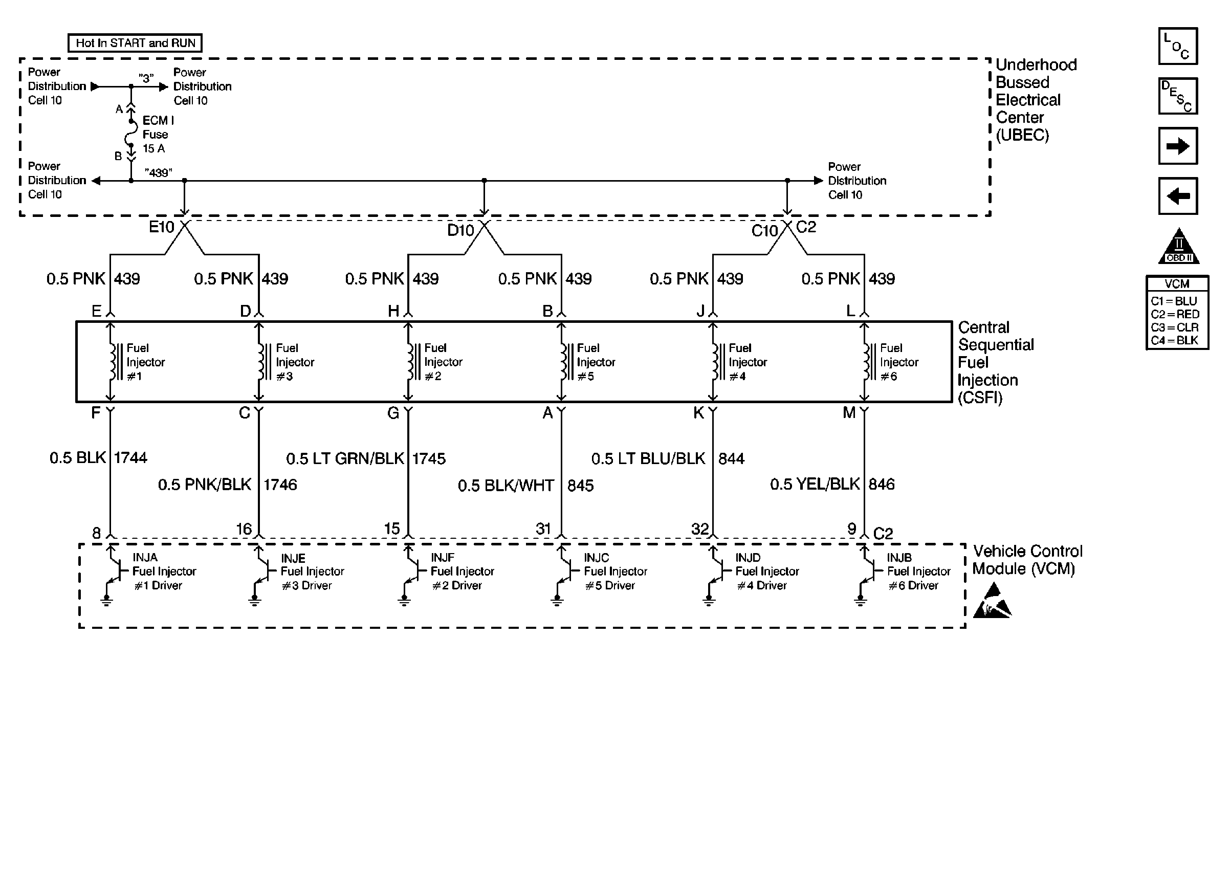
Engine Controls Components
Vehicle Control Module Description
Utility Engine Sensors
Pickup Fuel Pump Controls
OBD II Symbol Description Notice