GM Service Manual Online
For 1990-2009 cars only
Figure 1:

Module Power, Ground, Serial Data and MIL


Object Number: 1509534  Size: FS
Master Electrical Component List
Powertrain Control Module Description
Engine Data Sensors - Pressure and Temperature
OBD II Symbol Description Notice
B+ Bus Bar
ECM I Fuse
TURN, SIR and GAGES Fuses
TURN, SIR and GAGES Fuses
Indicators
04 S/T Classic DaClass 2 Serial Data
G103 and G105
Figure 2:

Engine Data Sensors - Pressure and Temperature


Object Number: 883981  Size: FS
Master Electrical Component List
Air Intake System Description
Engine Data Sensors - MAF and VSS
Module Power,Ground,Serial Data and MIL
OBD II Symbol Description Notice
Figure 3:

Engine Data Sensors - MAF and VSS


Object Number: 883982  Size: FS
Master Electrical Component List
Air Intake System Description
Oxygen Sensors - Except NM8
Engine Data Sensors - Pressure and Temperature
OBD II Symbol Description Notice
Ign RUN and START Bus Bar
ENG I and OXYGEN Fuses
Gages
G103 and G105
VSS Inputs, 4WD Low Indicator Signal
Vehicle Speed Sensor - VSS
Figure 4:

Heated Oxygen Sensors - Except NM8


Object Number: 857536  Size: FS
Master Electrical Component List
Powertrain Control Module Description
Ignition Controls - Ignition System and Sensor
Engine Data Sensors - MAF and VSS
OBD II Symbol Description Notice
Ign RUN and START Bus Bar
Figure 5:

Ignition Controls - Ignition System and Sensors


Object Number: 883983  Size: FS
Master Electrical Component List
Distributor Ignition (DI) System Description
Fuel Controls - Fuel Pump Controls
Oxygen Sensors - Except NM8
OBD II Symbol Description Notice
ECM I Fuse
Gages
G103 and G105
G103 and G105
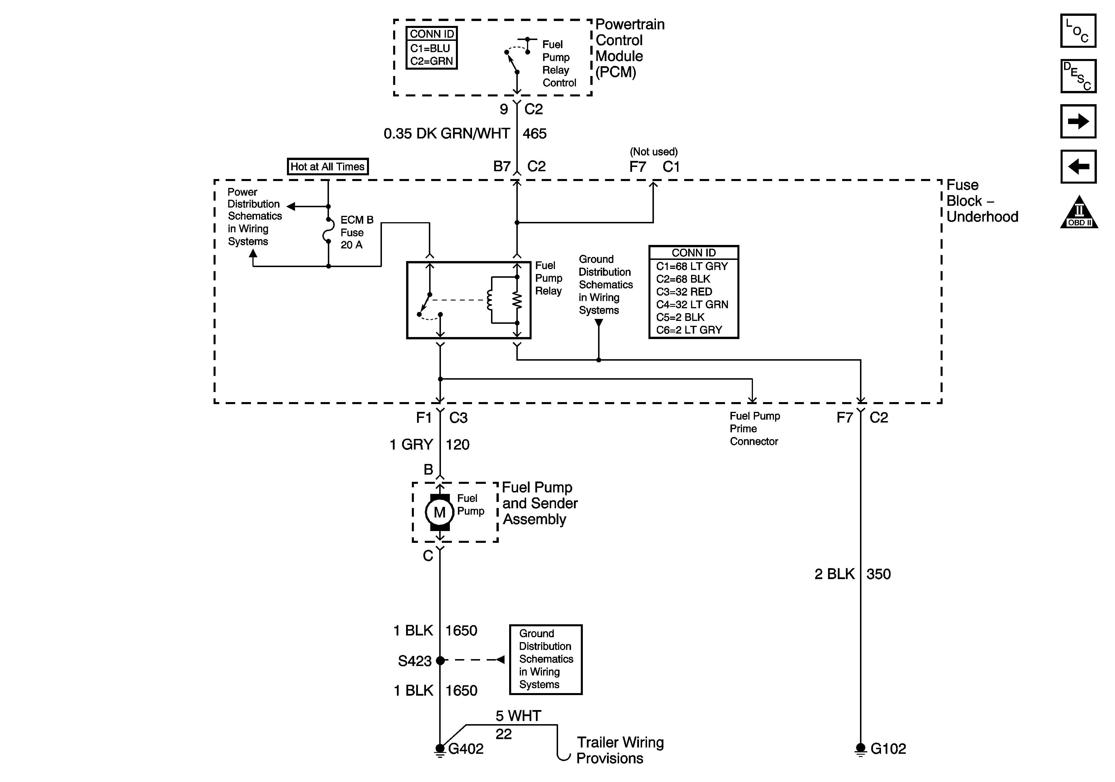
Figure 6:

Fuel Controls - Fuel Pump Controls


Object Number: 1509537  Size: FS
Master Electrical Component List
Fuel System Description
Fuel Controls - Fuel Injector Controls
Ignition Controls - Ignition System and Sensor
OBD II Symbol Description Notice
ECM B, HORN, RR DEFOG, HTD MIR Fuses and Fuel Pump, Horn, Rear Window Defogger Relays
G102
G402 and G421-Utility
Figure 7:

Fuel Controls - Fuel Injector Controls


Object Number: 883984  Size: FS
Master Electrical Component List
Fuel System Description
Fuel Controls - EVAP Controls
Fuel Controls - Fuel Pump Controls
OBD II Symbol Description Notice
ECM I Fuse
Figure 8:

Fuel Controls - EVAP Controls


Object Number: 857634  Size: FS
Master Electrical Component List
Evaporative Emission Control System Description
Device Controls, Controlled/Monitored Subsystem References, and M/T
Fuel Controls - Fuel Injector Controls
OBD II Symbol Description Notice
ENG I and OXYGEN Fuses
Ign RUN and START Bus Bar
Figure 9:

Device Controls, Controlled/Monitored Subsystem References, and M/T


Object Number: 857635  Size: FS
Master Electrical Component List
Powertrain Control Module Description
Transmission Controls - A/T
Fuel Controls - EVAP Controls
OBD II Symbol Description Notice
Compressor Controls - 4.3L
Front Axle Switch and Powertrain Control Module
Speed Sensor Signals
Engine Charging
Clutch Pedal Position,Stoplamp Switch
Shift Indicator
Front Axle Switch and Powertrain Control Module
CRANK Fuse, Front Axle Indicator Switch
Fuel Level Sensor Signal
Figure 10:

Transmission Controls - A/T


Object Number: 883986  Size: FS
Master Electrical Component List
Powertrain Control Module Description
Device Controls, Controlled/Monitored Subsystem References, and M/T
OBD II Symbol Description Notice
Switch Inputs and PNP Switch
Valve Controls