GM Service Manual Online
For 1990-2009 cars only
Figure 1:

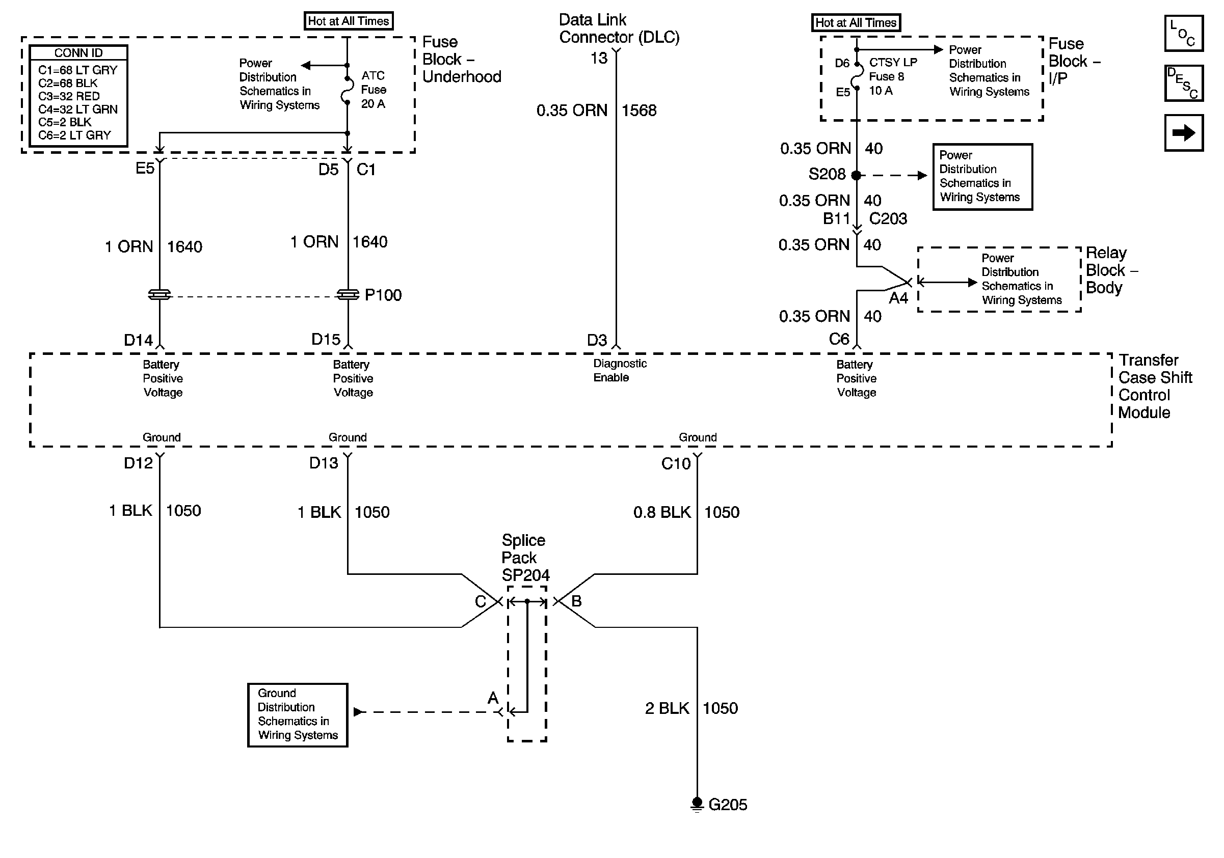
Power and Ground


Object Number: 888403  Size: FS
Master Electrical Component List
Transfer Case Description and Operation
Transfer Case Shift Control Switch
B+ Bus Bar
INT BATT, PWR LKS, AMPF, CTSY LP and CIGAR LTR Fuses
Inadvertent Power Relay
Inadvertent Power Relay
G205
Figure 2:

Transfer Case Shift Control Switch


Object Number: 1509547  Size: FS
Master Electrical Component List
Transfer Case Description and Operation
Transfer Case Encoder Motor
Power and Ground
ILLUM, STG WHL ILLUM, and PARK LP Fuses
ILLUM, STG WHL ILLUM, and PARK LP Fuses
LED Dimming Signal
Ign ACC, RUN and RAP Bus Bar
G203 and G204 - Utility w/Manual A/C
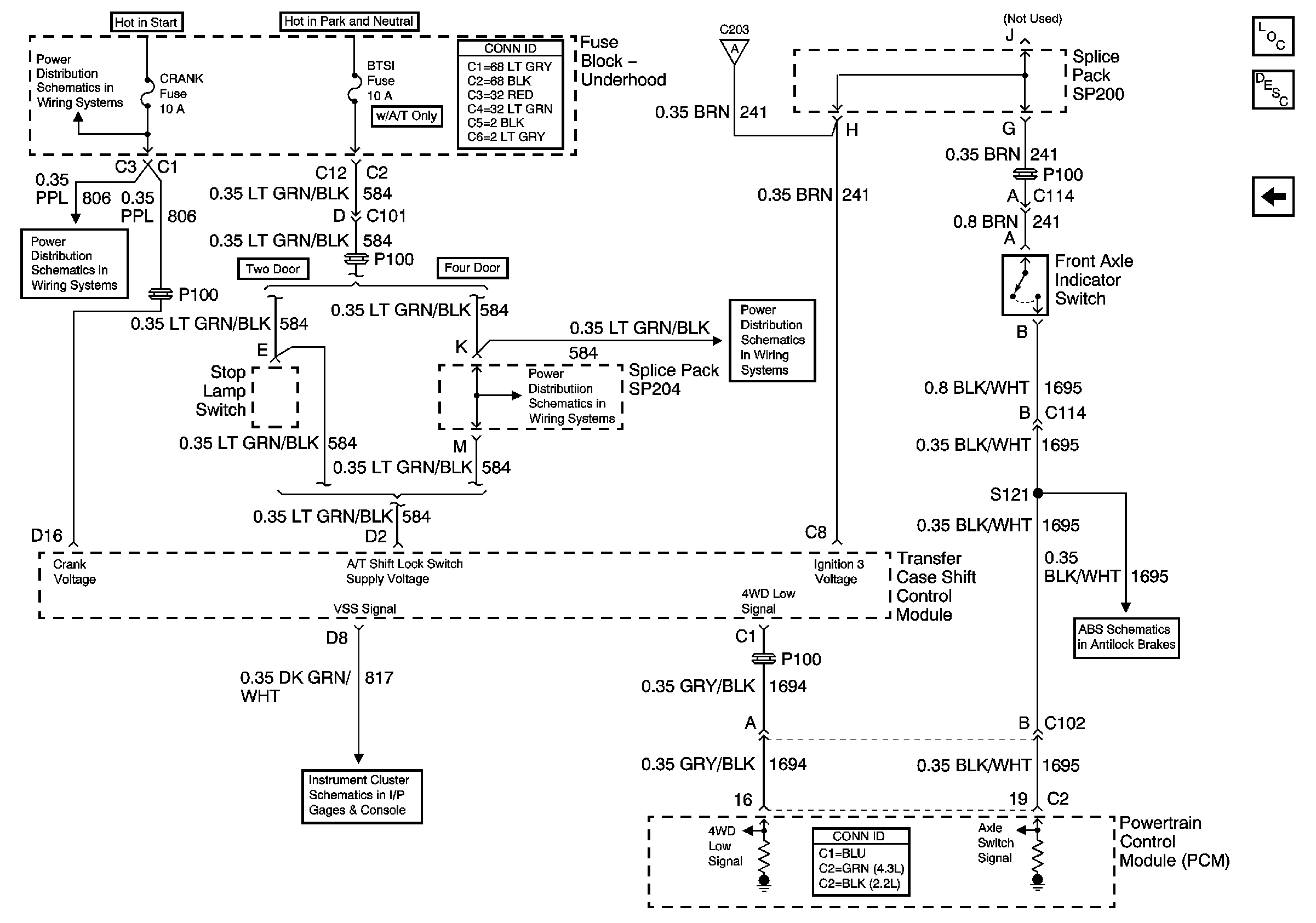
Front Axle Switch and Powertrain Control Module
Figure 3:

Transfer Case Encoder Motor


Object Number: 755616  Size: FS
Master Electrical Component List
Transfer Case Description and Operation
Front Axle Switch and Powertrain Control Module
Transfer Case Shift Control Switch
Figure 4:

Front Axle Indicator Switch and Powertrain Control Module (PCM)


Object Number: 884539  Size: FS
Master Electrical Component List
Transfer Case Description and Operation
Transfer Case Encoder Motor
CRANK and CLSTR Fuses
CRANK and CLSTR Fuses
Gages
BTSI Fuse Power - Automatic Transmission
BTSI Fuse Power - Automatic Transmission
Transfer Case Shift Control Switch
Class 2 Communication