GM Service Manual Online
For 1990-2009 cars only
Figure 1:

Power and Ground


Object Number: 1509491  Size: FS
Master Electrical Component List
Body Control System Description and Operation
Controlled/Monitored Subsystem References
HVAC and CRUISE Fuses
HVAC and CRUISE Fuses
Ign ACC, RUN and RAP Bus Bar
TURN, SIR and GAGES Fuses
TURN, SIR and GAGES Fuses
ILLUM, STG WHL ILLUM, and PARK LP Fuses
ILLUM, STG WHL ILLUM, and PARK LP Fuses
STUD 2, ABS, HDLP W/W, TBC and RR W/W Fuses
RAP Relay and Ignition Switch
B+ Bus Bar
04 S/T Classic DaClass 2 Serial Data
G200, G201,G207-Crew Cab
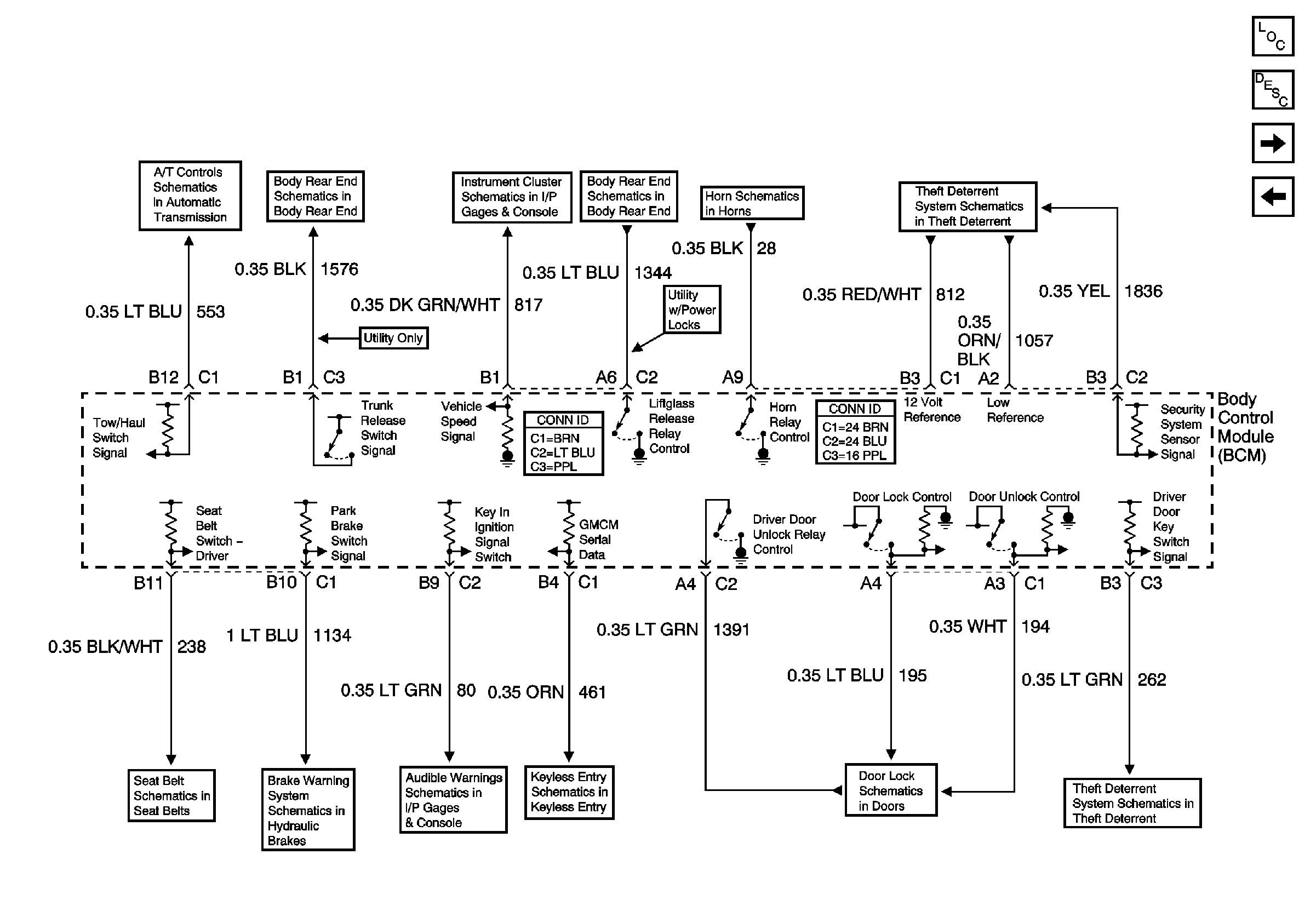
Figure 2:

Controlled/Monitored Subsystem References


Object Number: 755675  Size: FS
Master Electrical Component List
Body Control System Description and Operation
Interior Lights References
Power and Ground
Brake Switch Input and Tow/Haul Switch
Input
Gages
Output
Horns Schematics
Power, Ground and Passlock Sensor
Door Handle Switch Inputs
04 S/T ClBCM Inputs and Outputs
Keyless Entry Schematics
TBC, PARK LPS, GAGES and CRUISE Fuses
Brake Warning System Schematics
Seat Belt Schematics
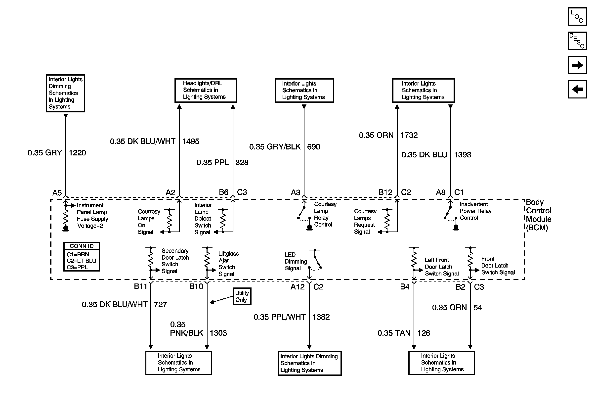
Figure 3:

Interior Lights References


Object Number: 755678  Size: FS
Master Electrical Component List
Body Control System Description and Operation
Exterior Lights References
Controlled/Monitored Subsystem References
LED Dimming Signal
Headlamp Switch, Ambient Light Sensor and BCM
CTSY LP Fuse and Courtesy Lamp Relay
Inadvertent Power Relay and Front Door Jamb Switches
Rear Door Jamb and Liftglass Ajar Jamb Switches
LED Dimming Signal
Inadvertent Power Relay and Front Door Jamb Switches
Figure 4:

Exterior Lights References


Object Number: 1509493  Size: FS
Master Electrical Component List
Body Control System Description and Operation
Interior Lights References
Front
Flash-To-Pass Switch, DRL Relay (ZR2) and BCM
Headlamp Switch, Ambient Light Sensor and BCM
Park/Turn Signal Lamps, Marker Lamps and Turn Signal Fuses, Front
Rear - Export
Headlamp Switch, Ambient Light Sensor and BCM
Instrument Cluster Turn Signal Indicators