GM Service Manual Online
For 1990-2009 cars only
Makes
🢒
Chevrolet
🢒
2005
🢒
Blazer - 4WD
🢒 Controlled Monitored Subsystem References
Controlled Monitored Subsystem References
Controlled Monitored Subsystem References
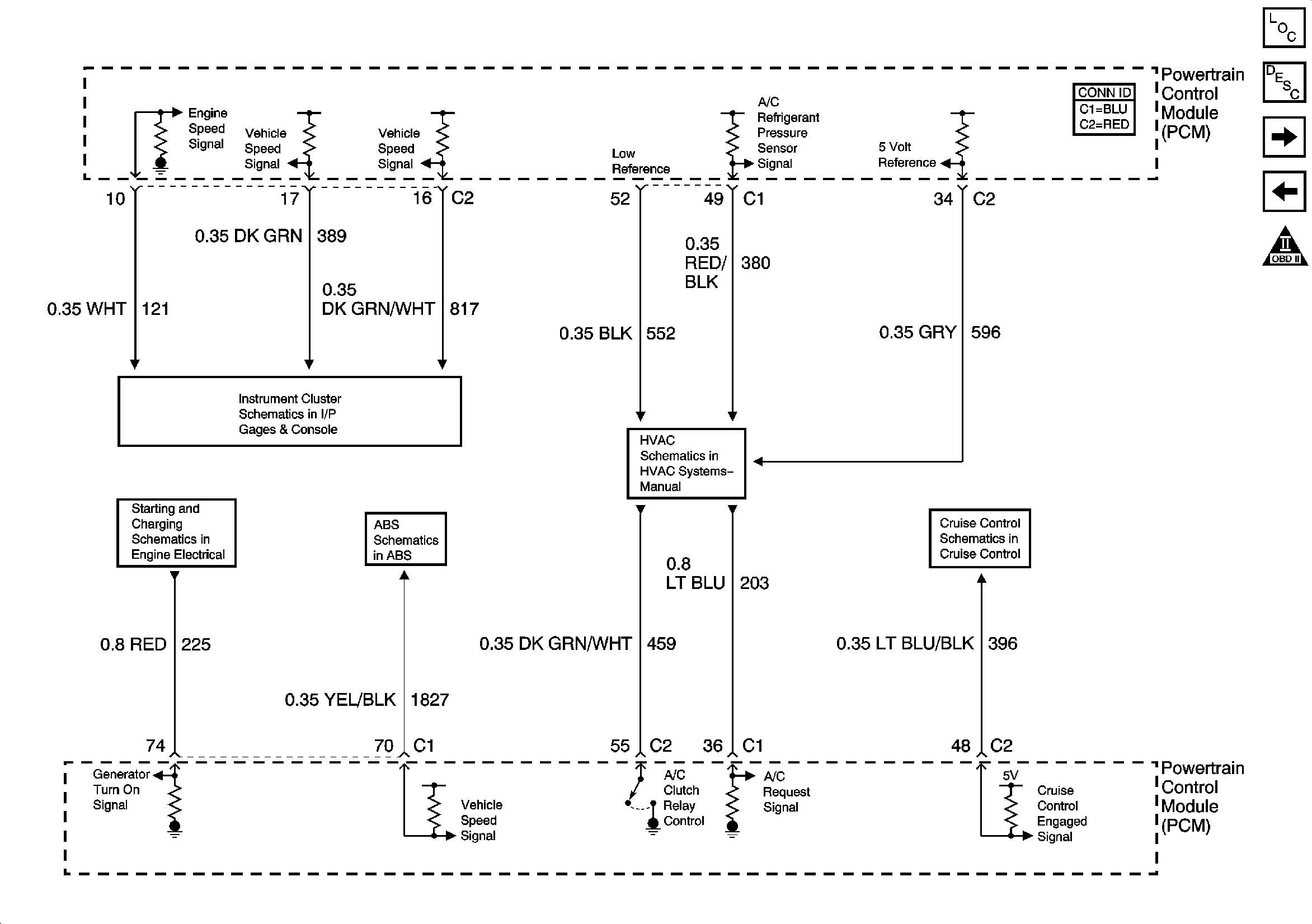
Master Electrical Component List
Powertrain Control Module Description
Transmission Controls - A/T
Device Controls
OBD II Symbol Description Notice
Gages
Compressor Controls - 2.2L
Engine Charging - 2.2L
Speed Sensor Signals
Clutch Pedal Position Switch, Stop Lamp Switch, PCM and Cruise Control Module