GM Service Manual Online
For 1990-2009 cars only
Makes
🢒
Chevrolet
🢒
2000
🢒
Blazer - 4WD - RHD
🢒
Body and Accessories
🢒
Wipers/Washer Systems
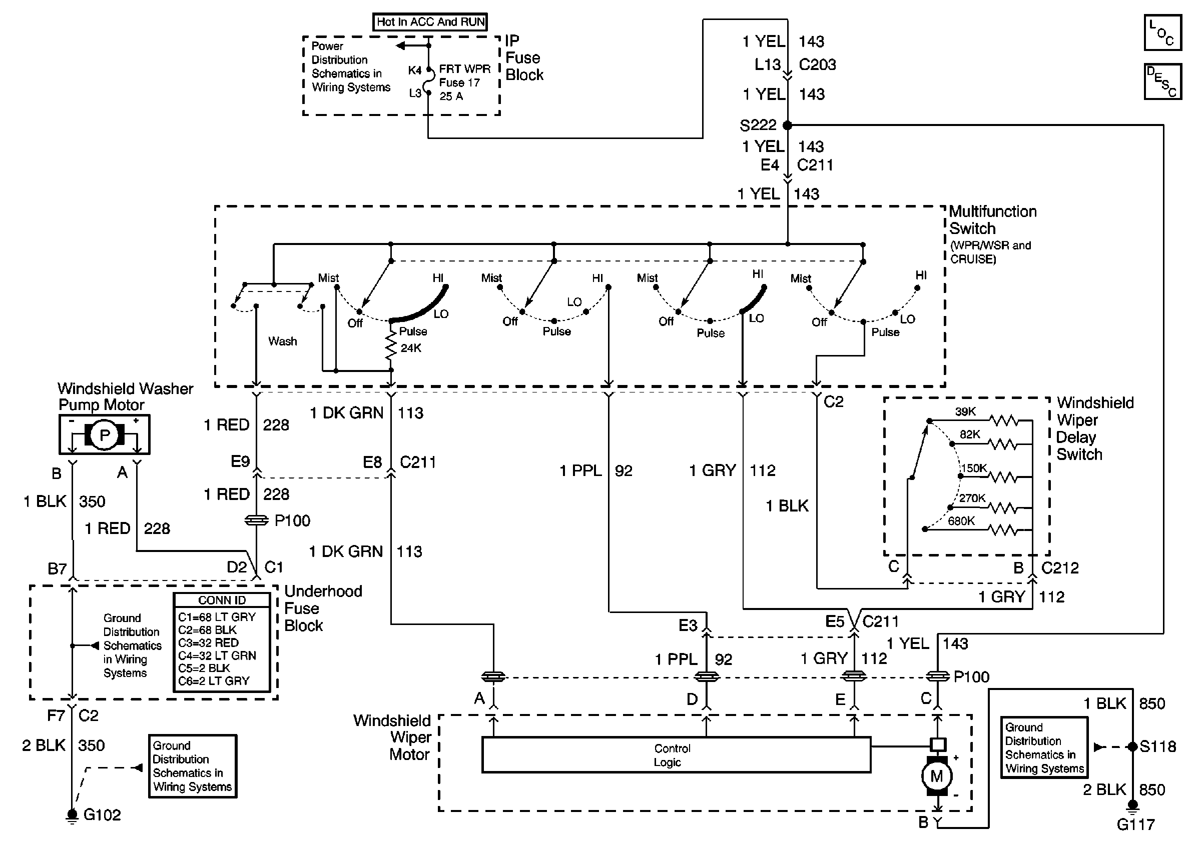
🢒 Wiper/Washer System (Pulse) Schematics
Wiper/Washer System Components
Wiper/Washer System Circuit Description
Ign START, RUN and ACC Bus Bar
G102
G102
G117
Power and Grounding Connector End Views