GM Service Manual Online
For 1990-2009 cars only
Makes
🢒
Chevrolet
🢒
2000
🢒
Blazer - 4WD - RHD
🢒
Body and Accessories
🢒
Retained Accessory Power
🢒 Retained Accessory Power (RAP) Schematics
Figure
1:
Power, BCM and Ignition and Start Switch
Retained Accessory Power (RAP) Components
Retained Accessory Power (RAP) Circuit Description
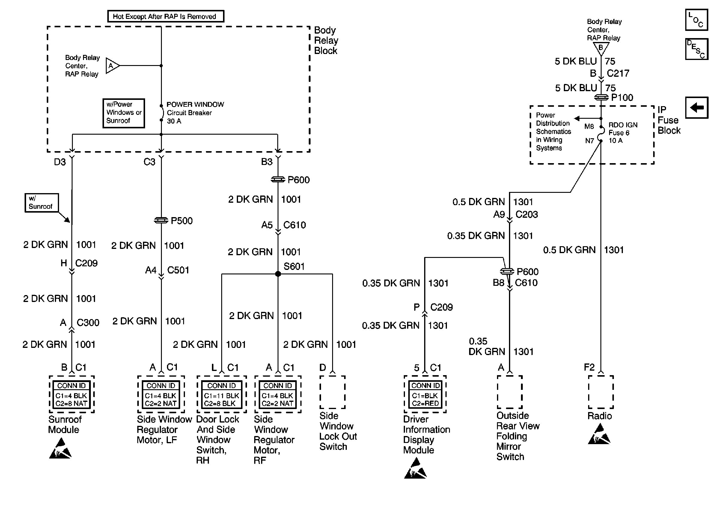
RADIO IGN, FRT WPR and RR WPR Fuses
Power
IGN E, GAUGES, and SIR Fuses
Ign RUN and START Bus Bar
Power and Grounding Connector End Views
Ign START, RUN and ACC Bus Bar
RDO IGN, FRT WPR, RR WIPER, ABS, CRUISE, and W/W PUMP Fuses
Ign RUN and START Bus Bar
Body Control System Connector End Views
Front Jamb Switch and Door Handle Switches
Rear Jamb Switches, Door Handle Switch and Ignition Key Alarm Switch
Handling ESD Sensitive Parts Notice
Ign START, RUN and ACC Bus Bar
RADIO IGN, FRT WPR and RR WPR Fuses
RADIO IGN, FRT WPR and RR WPR Fuses
Ign START, RUN and ACC Bus Bar
Figure
2:
RADIO IGN, FRT WPR and RR WPR Fuses
Retained Accessory Power (RAP) Components
Retained Accessory Power (RAP) Circuit Description
Power, BCM and Ignition and Start Switch
Power, BCM and Ignition and Start Switch
Handling ESD Sensitive Parts Notice
Power, BCM and Ignition and Start Switch
RDO IGN, FRT WPR, RR WIPER, ABS, CRUISE, and W/W PUMP Fuses
Handling ESD Sensitive Parts Notice
Handling ESD Sensitive Parts Notice