GM Service Manual Online
For 1990-2009 cars only
Makes
🢒
Chevrolet
🢒
2000
🢒
Blazer - 4WD - RHD
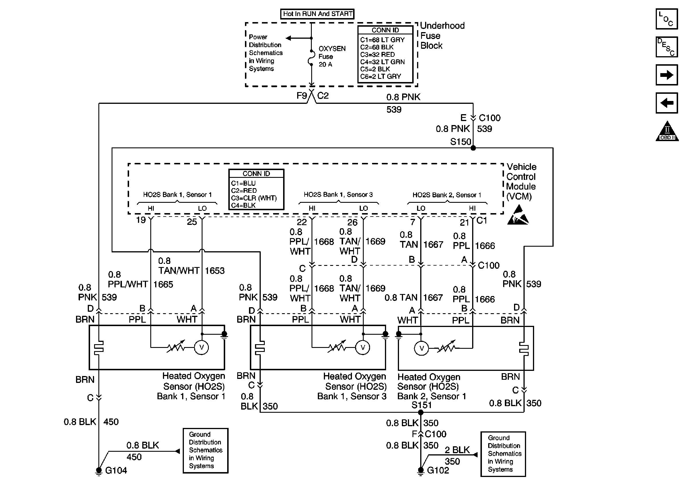
🢒 Heated Oxygen Sensors
Heated Oxygen Sensors
Heated Oxygen Sensors
Engine Controls Components
Information Sensors/Switches Description
MAF and IAC Controls
Engine Sensors
OBD II Symbol Description Notice
B/U LP, OXYSEN, ENG I, TRL B/U, VEH B/U and BTSI Fuses
Power and Grounding Connector End Views
VCM Connector End Views
Handling ESD Sensitive Parts Notice
G104, G106, G107, G108 and G118
G102