GM Service Manual Online
For 1990-2009 cars only
Makes
🢒
Chevrolet
🢒
2000
🢒
Blazer - 4WD - RHD
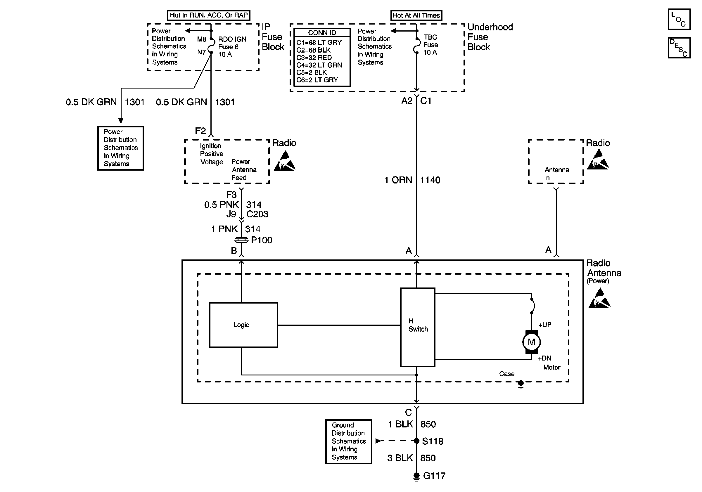
🢒 Power Antenna Schematics
Power Antenna Schematics
Entertainment Components
Power Antenna System Circuit Description
Ign START, RUN and ACC Bus Bar
Power and Grounding Connector End Views
B+ Bus Bar
RDO IGN, FRT WPR, RR WIPER, ABS, CRUISE, and W/W PUMP Fuses
Handling ESD Sensitive Parts Notice
Handling ESD Sensitive Parts Notice
Handling ESD Sensitive Parts Notice
G117