GM Service Manual Online
For 1990-2009 cars only
Makes
🢒
Chevrolet
🢒
2000
🢒
Blazer - 4WD - RHD
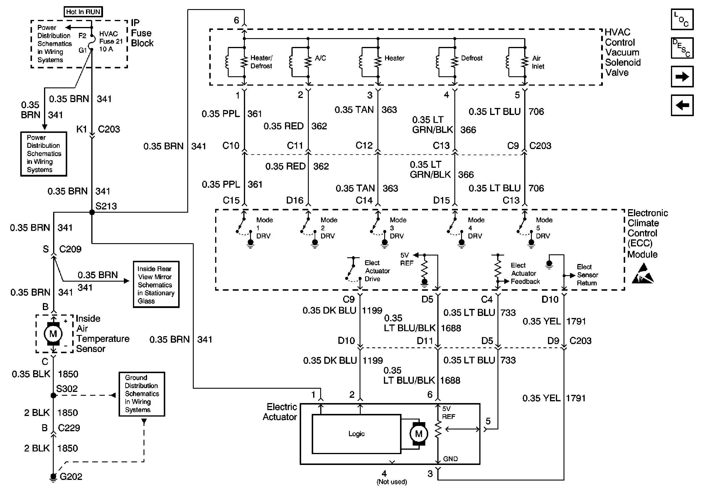
🢒 HVAC Vacuum Control Solenoid Valve Assembly and Electric Actuator
HVAC Vacuum Control Solenoid Valve Assembly and Electric Actuator
HVAC Vacuum Control Solenoid Valve Assembly and Electric Actuator
HVAC Components
HVAC Air Delivery/Temperature Control Circuit Description
ECC Module and Temperature Sensors
ECC Module, Power and Ground
4WD and HVAC I Fuses
4WD and HVAC I Fuses
Automatic Day-Night Mirrors Schematics
Handling ESD Sensitive Parts Notice
G202 and G204